Part Number Hot Search : 
21054 F1508 BY227G ALN0665 VCX162 B1708H MAX533 MMT70
Product Description
Full Text Search

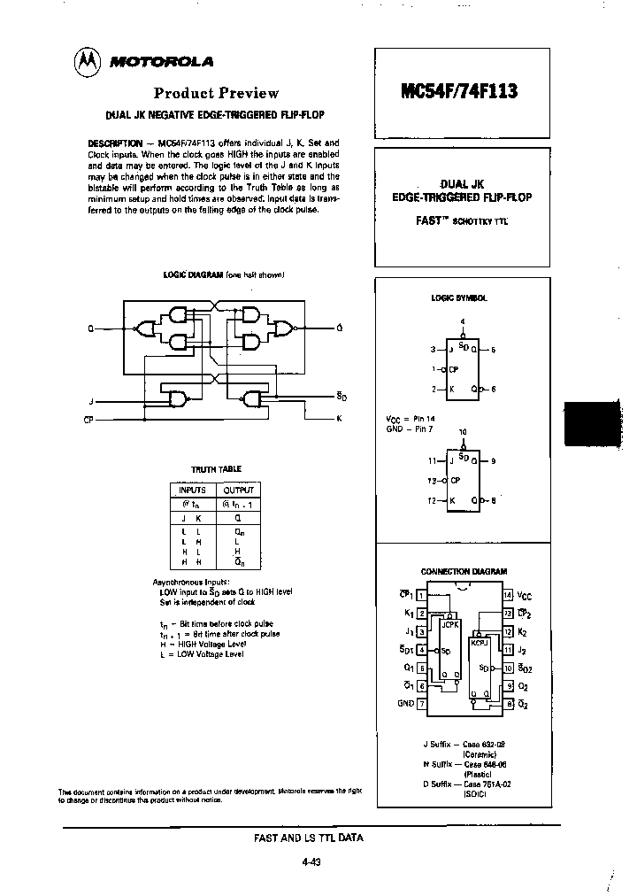
MC74F113D - F/FAST SERIES, DUAL NEGATIVE EDGE TRIGGERED J-K FLIP-FLOP, COMPLEMENTARY OUTPUT, PDSO14

MC74F113D_7912395.PDF Datasheet


 Full text search : F/FAST SERIES, DUAL NEGATIVE EDGE TRIGGERED J-K FLIP-FLOP, COMPLEMENTARY OUTPUT, PDSO14
 Product Description search : F/FAST SERIES, DUAL NEGATIVE EDGE TRIGGERED J-K FLIP-FLOP, COMPLEMENTARY OUTPUT, PDSO14


 Related Part Number
PART Description Maker
74F11200 74F112SJ 74F112 74F112PC 74F112SC 74F112S From old datasheet system
Dual JK Negative Edge-Triggered Flip-Flop; Package: SOP; No of Pins: 16; Container: Tape & Reel F/FAST SERIES, DUAL NEGATIVE EDGE TRIGGERED J-K FLIP-FLOP, COMPLEMENTARY OUTPUT, PDSO16
FAIRCHILD[Fairchild Semiconductor]
Fairchild Semiconductor, Corp.
FEN30DP 30.0 Ampere Dual Fast Efficient Negative Polarity Power Rectifiers
Thinki Semiconductor Co...
54LS76A/BDAJC LS SERIES, DUAL NEGATIVE EDGE TRIGGERED J-K FLIP-FLOP, COMPLEMENTARY OUTPUT, CDFP14
MOTOROLA INC
HCTS112MS HCTS112D HCTS112DMSR HCTS112HMSR HCTS112 Radiation Hardened Dual JK Flip-Flop HCT SERIES, DUAL NEGATIVE EDGE TRIGGERED J-K FLIP-FLOP, COMPLEMENTARY OUTPUT, UUC16
Intersil, Corp.
INTERSIL[Intersil Corporation]
IP79M05 IP79M15J IP120M IP120M-05 IP120M-12 IP120M 0.5A, 15V Negative Voltage Regulator
0.5 AMP,Negative Voltage Reglator(0.5 A,15V负稳压器)
0.5 AMP,Negative Voltage Reglator(0.5 A,12V负稳压器)
XO 50MHZ 50PPM 3.3V SMD-7050 TR-7-PL
Circular Connector; No. of Contacts:22; Series:MS27474; Body Material:Aluminum; Connecting Termination:Crimp; Connector Shell Size:12; Circular Contact Gender:Pin; Circular Shell Style:Jam Nut Receptacle; Insert Arrangement:12-35 RoHS Compliant: No
XO 25MHZ 50PPM 3.3V SMD-7050 TR-7-PL
RES-ARRAY 10K-OHM 8-ELEMENT 5% 0.5W CONCAVE THK-FILM SMD-6416 TR-7-PA 0.5安培负电压稳压器
0.5 AMP NEGATIVE VOLTAGE REGULATOR 0.5安培负电压稳压器
Voltage Regulator 15 V FIXED NEGATIVE REGULATOR, MBCY3
Voltage Regulator 5 V FIXED NEGATIVE REGULATOR, MBCY3
XO 48MHZ 50PPM 3.3V SMD-7050 TR-7-PL 0.5安培负电压稳压器
Voltage Regulator 电压调节
0.5 AMP,Negative Voltage Reglator(0.5 A,5V负稳压器) 0.5安培,负电压Reglator.5甲,5V的负稳压器)
0.5 AMP NEGATIVE VOLTAGE REGULATOR 12 V FIXED NEGATIVE REGULATOR, MBCY3
0.5A, 12V Negative Voltage Regulator
SEME-LAB[Seme LAB]
TT electronics Semelab Limited
Semelab(Magnatec)
TT electronics Semelab, Ltd.
SEMELAB LTD
HD74AC393 HD74AC393FP AC SERIES, ASYN NEGATIVE EDGE TRIGGERED 4-BIT UP BINARY COUNTER, PDSO14
Dual Modulo-16-Counter
HITACHI[Hitachi Semiconductor]
Hitachi,Ltd.
LT1033 LT1033C LT1033CK LT1033M LT1033MK Dual J-K Positive-Edge-Triggered Flip-Flops With Clear and Preset 16-SO 0 to 70
3A. Negative Adjustable Regulator
3A, Negative Adjustable Regulator
From old datasheet system
Linear Technology Corporation
LINER[Linear Technology]
NTE1927 Automotive Catalog Dual Operational Amplifier 8-TSSOP -40 to 125
2.2 V-30 V ADJUSTABLE NEGATIVE REGULATOR, MBFM4
Integrated Circuit 4-Terminal Negative Adjustable Voltage Regulator
NTE Electronics, Inc.
NTE[NTE Electronics]
AM29F010A-70 AM29F010A-90 AM29F010A-45 AM29F010A-1 LM120/LM320 Series 3-Terminal Negative Regulators; Package: TO-220; No of Pins: 3; Qty per Container: 45; Container: Rail
1 Megabit (128 K x 8-bit) CMOS 5.0 Volt-only, Uniform Sector Flash Memory
LM120/LM320 Series 3-Terminal Negative Regulators; Package: TO-3; No of Pins: 2; Qty per Container: 50; Container: Tray
Advanced Micro Devices, Inc.
54F240/B2A F/FAST SERIES, DUAL 4-BIT DRIVER, INVERTED OUTPUT, CQCC20
NXP SEMICONDUCTORS
LBAT54CWT1G Dual Series Schottky Barrier Diodes Extremely Fast Switching Speed
Leshan Radio Company
SN54-74LS90 SN54_74LS93 SN54_74LS90 SN74LS90N SN74 DECADE COUNTER DIVIDE-BY-TWELVE COUNTER 4-BIT BINARY COUNTER
From old datasheet system
DECADE COUNTER DIVIDE-BY-TWELVE COUNTER 4-BIT BINARY COUNTER
DECADE COUNTER; DIVIDE-BY-TWELVE COUNTER; 4-BIT BINARY COUNTER 十年计数分频12项反4位二进制计数
DECADE COUNTER; DIVIDE-BY-TWELVE COUNTER; 4-BIT BINARY COUNTER LS SERIES, ASYN NEGATIVE EDGE TRIGGERED 3-BIT UP DECADE COUNTER, CDIP14
DECADE COUNTER; DIVIDE-BY-TWELVE COUNTER; 4-BIT BINARY COUNTER LS SERIES, ASYN NEGATIVE EDGE TRIGGERED 3-BIT UP DECADE COUNTER, PDIP14
Sensitive Gate Silicon Controlled Rectifier; Package: TO-92 (TO-226) 5.33mm Body Height; No of Pins: 3; Container: Bulk; Qty per Container: 5000 LS SERIES, ASYN NEGATIVE EDGE TRIGGERED 3-BIT UP BINARY COUNTER, PDSO14
ONSEMI[ON Semiconductor]
 
 Related keyword From Full Text Search System
MC74F113D Bipolar MC74F113D varactor MC74F113D Stmicroelectronic MC74F113D complimentary against MC74F113D maxim
MC74F113D Stmicroelectronic MC74F113D image sensor MC74F113D Range MC74F113D poliester MC74F113D 接腳圖
 

 

Price & Availability of MC74F113D

All Rights Reserved © IC-ON-LINE 2003 - 2022  

[Add Bookmark] [Contact Us] [Link exchange] [Privacy policy]
Mirror Sites :  [www.datasheet.hk]   [www.maxim4u.com]  [www.ic-on-line.cn] [www.ic-on-line.com] [www.ic-on-line.net] [www.alldatasheet.com.cn] [www.gdcy.com]  [www.gdcy.net]


 . . . . .
  We use cookies to deliver the best possible web experience and assist with our advertising efforts. By continuing to use this site, you consent to the use of cookies. For more information on cookies, please take a look at our Privacy Policy. X
0.060983896255493