Part Number Hot Search : 
74F174 TLGE68CG AT73C204 BE32C1 TDA6404 HT66F018 0AB007M3 FND507
Product Description
Full Text Search

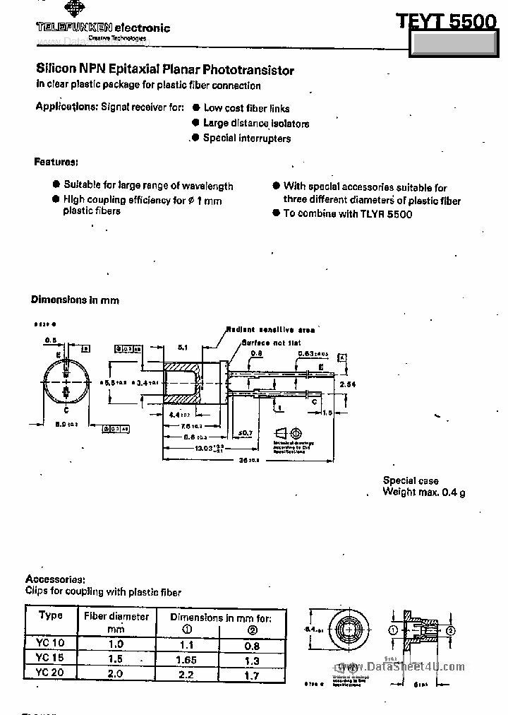
TEYT5500 - Silicon NPN Epitaxial Planar Phototransistor

TEYT5500_7759164.PDF Datasheet


 Full text search : Silicon NPN Epitaxial Planar Phototransistor
 Product Description search : Silicon NPN Epitaxial Planar Phototransistor


 Related Part Number
PART Description Maker
2SC4401 NPN Epitaxial Planar Silicon Transistor VHF/UHF Mixer, Local Oscillator, Low-Voltage Amplifier Applications
NPN Epitaxial Planar Silicon Transistors
Sanyo
2SC4869 NPN Epitaxial Planar Silicon Transistor VHF to UHF Wide-Band Low-Noise Amplifier Applications
NPN Epitaxial Planar Silicon Transistors
Sanyo
2SC5503 NPN Epitaxial Planar Silicon Transistor VHF to UHF Low-Noise Wide-Band Amplifier Applications
NPN Epitaxial Planar Silicon Transistors
Sanyo Semicon Device
2SC5504 NPN Epitaxial Planar Silicon Transistor UHF to S Band Low-Noise Amplifier Applications
NPN Epitaxial Planar Silicon Transistors
Sanyo Semicon Device
2SC5541 NPN Epitaxial Planar Silicon Transistor UHF to S Band Low-Noise Amplifier Applications
NPN Epitaxial Planar Silicon Transistors
Sanyo Semicon Device
2SA2022 2SC5610 NPN Epitaxial Planar Silicon Transistors DC/DC Converter Applications
PNP Epitaxial Planar Silicon Transistors DC/DC Converter Applications
PNP/NPN Epitaxial Planar Silicon Transistors
TRANSISTOR,BJT,NPN,50V V(BR)CEO,7A I(C),TO-220ML
From old datasheet system
Sanyo Semiconductor Corp
SANYO[Sanyo Semicon Device]
2SC5291 NPN Epitaxial Planar Silicon Transistor High-Voltage Switching Applications
NPN Epitaxial Planar Silicon Transistors
Sanyo Semicon Device
2SD1628 NPN Epitaxial Planar Silicon Transistor High-Current Switching Applications
NPN Epitaxial Planar Silicon Transistors
Sanyo
2SC3779 0379 NPN Epitaxial Planar Silicon Transistor UHF Low-Noise Amp, Wide-Band Amp Applications
NPN Epitaxial Planar Silicon Transistors
From old datasheet system
SANYO[Sanyo Semicon Device]
2SC3255 2SA1291 0045 NPN Epitaxial Planar Silicon Transistors 60V/10A High-Speed Switching Applications
From old datasheet system
PNP/NPN Epitaxial Planar Silicon Transistors
Sanyo
 
 Related keyword From Full Text Search System
TEYT5500 Output TEYT5500 microcontroller TEYT5500 file TEYT5500 Search TEYT5500 中文简介
TEYT5500 instruments TEYT5500 reference TEYT5500 step TEYT5500 reserved TEYT5500 synchronous
 

 

Price & Availability of TEYT5500

All Rights Reserved © IC-ON-LINE 2003 - 2022  

[Add Bookmark] [Contact Us] [Link exchange] [Privacy policy]
Mirror Sites :  [www.datasheet.hk]   [www.maxim4u.com]  [www.ic-on-line.cn] [www.ic-on-line.com] [www.ic-on-line.net] [www.alldatasheet.com.cn] [www.gdcy.com]  [www.gdcy.net]


 . . . . .
  We use cookies to deliver the best possible web experience and assist with our advertising efforts. By continuing to use this site, you consent to the use of cookies. For more information on cookies, please take a look at our Privacy Policy. X
0.42436599731445