Part Number Hot Search : 
645ETTTS BP12864C RD75F 7P1FZ400 73R2FK CM152KT SP8602 MAS9179
Product Description
Full Text Search

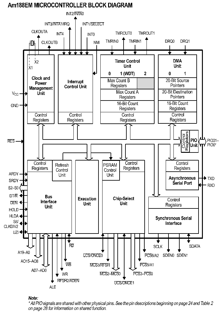
AM188EM - Am188EM Microcontroller Block Diagram

AM188EM_5010837.PDF Datasheet

 
Part No. AM188EM
Description Am188EM Microcontroller Block Diagram

File Size 14.24K  /  1 Page  

Maker


Advanced Micro Devices



JITONG TECHNOLOGY
(CHINA HK & SZ)
Datasheet.hk's Sponsor

Part: AM188EM-20KC
Maker: AMD(先进)
Pack: QFP
Stock: 196
Unit price for :
    50: $14.86
  100: $14.12
1000: $13.38

Email: oulindz@gmail.com

Contact us

Homepage http://www.amd.com
Download [ ]
[ AM188EM Datasheet PDF Downlaod from Datasheet.HK ]
[AM188EM Datasheet PDF Downlaod from Maxim4U.com ] :-)


[ View it Online ]   [ Search more for AM188EM ]

[ Price & Availability of AM188EM by FindChips.com ]

 Full text search : Am188EM Microcontroller Block Diagram
 Product Description search : Am188EM Microcontroller Block Diagram


 Related Part Number
PART Description Maker
MPC555 MPC555LFMZP40 MPC555PB MPC555D MPC555LFAZP4 This document provides an overview of the MPC555 microcontroller, including a block diagram showing the major modular components and sections that lis
THIS DOCUMENT PROVIDES AN OVERVIEW OF THE MPC555 MICROCONTROLLER, INCLUDING A BLOCK DIAGRAM SHOWING THE MAJOR MODULAR COMPONENTS AND SECTIONS THAT LIS
This document provides an overview of the MPC555 microcontroller, including a block diagram showing 
Circular Connector; Body Material:Aluminum; Series:PT07; Number of Contacts:6; Connector Shell Size:10; Connecting Termination:Solder; Circular Shell Style:Jam Nut Receptacle; Circular Contact Gender:Socket; Insert Arrangement:10-98
CABLE ASSEMBLY; ; NMO Antenna Mount to BNC Male, RG58C/U, 5 feet
MOTOROLA[Motorola, Inc]
Motorola, Inc.
AM186EMLV-40VC/W AM186EMLV-20KC/W AM186EMLV-40KI/W Am188EM/EMLV Microcontrollers Data Sheet
High Performance, 80C186-/80C188-Compatible and 80L186-/80L188-Compatible, 16-Bit Embedded Microcontrollers
http://
Advanced Micro Devices
AT90SC19264RC AT90SC19264RC Summary [Updated 8/02. 2 Pages] This document gives the key features. a brief description and a block diagram. The Complete is available under Non-Disclosure Agreement. AT90SC19264RC摘要[更新8日2页]本文件提供的主要特点。简短说明和框图。完整的可根据保密协议
SECURE MICROCONTROLLER FOR SMART CARDS
Low-power, high-performance, 8-/16-bit secure microcontroller with 192K Byte ROM and 64K Byte EEPROM.
Cypress Semiconductor Corp.
ATMEL[ATMEL Corporation]
25.340.0553.0 Terminal Block; No. of Positions:5; Pitch Spacing:0.2"; Mounting Type:PC Board; Color:Light Gray; No. of Contacts:5; Terminal Block Clamp Type:Screw Clamp RoHS Compliant: Yes 15 A, STRIP TERMINAL BLOCK, 1 ROW, 1 DECK
Wieland Electric, Inc.
39910-0102 39910-0105 39910-0103 39910-0108 913507 CONN TERM BLOCK 2POS 10.16MM 60A 60 A, MODULAR TERMINAL BLOCK, 1 ROW, 1 DECK
NEO 10.16mm Hi-Pwr 60A S91 Sty05 Ckt05 60 A, MODULAR TERMINAL BLOCK, 1 ROW, 1 DECK
399100103 60 A, MODULAR TERMINAL BLOCK, 1 ROW, 1 DECK
CONN TERM BLOCK 8POS 10.16MM 60A 60 A, MODULAR TERMINAL BLOCK, 1 ROW, 1 DECK
40 A, MODULAR TERMINAL BLOCK, 1 ROW, 1 DECK
Molex, Inc.
MOLEX INC
1792730000 Terminal Block; Wire Size (AWG):24-16; Mounting Type:DIN Rail; Terminal Block Clamp Type:Spring Clamp 17.5 A, MODULAR TERMINAL BLOCK, 1 ROW, 1 DECK
Weidmuller, Corp.
1885180000 1885250000 1885590000 1884680000 188899 CONN TERM BLOCK 2POS 3.5MM PCB 17.5 A, MODULAR TERMINAL BLOCK, 1 ROW, 1 DECK
CONN TERM BLOCK 9POS 3.5MM PCB 17.5 A, MODULAR TERMINAL BLOCK, 1 ROW, 1 DECK
CONN TERM BLOCK 19POS 3.81MM PCB 17.5 A, MODULAR TERMINAL BLOCK, 1 ROW, 1 DECK
CONN TERM BLOCK 12POS 5.0MM PCB 17.5 A, MODULAR TERMINAL BLOCK, 1 ROW, 1 DECK
Weidmuller, Corp.
39860-0210 39860-0302 SR BTS VERT RGT 10 ASY PL 15 A, MODULAR TERMINAL BLOCK, 1 ROW, 1 DECK
CONN TERM BLOCK 2POS 5.08MM STR 15 A, MODULAR TERMINAL BLOCK, 1 ROW, 1 DECK
Molex, Inc.
CAT28F002 CAT28F002PI-90BT CAT28F002NI-90BT CAT28F 90ns 2M-bit CMOS boot block flash memory
150ns 2M-bit CMOS boot block flash memory
120ns 2M-bit CMOS boot block flash memory
2 Megabit CMOS Boot Block Flash Memory
High Speed CMOS Logic 8-Stage Shift-and-Store Bus Register with 3-Stage Outputs 16-PDIP -55 to 125
http://
CATALYST[Catalyst Semiconductor]
1-1776148-0 C-1776148 15 A, STRIP TERMINAL BLOCK, 1 ROW, 1 DECK
TERMINAL BLOCK HEADER ASSEMBLY, 90 DEGREE, CLOSED ENDS, 5.00mm PITCH

Tyco Electronics
IP2003A IP2003ATR Full function muliphase builiding block
Synchronous Buck Multiphase Optimized LGA Power Block Integrated Power Semiconductors, Drivers & Passives
IRF[International Rectifier]
 
 Related keyword From Full Text Search System
AM188EM signal AM188EM hitachi AM188EM driver AM188EM logic AM188EM Ic on line
AM188EM philips AM188EM panasonic AM188EM mosfet AM188EM Microelectronic AM188EM ohm
 

 

Price & Availability of AM188EM

All Rights Reserved © IC-ON-LINE 2003 - 2022  

[Add Bookmark] [Contact Us] [Link exchange] [Privacy policy]
Mirror Sites :  [www.datasheet.hk]   [www.maxim4u.com]  [www.ic-on-line.cn] [www.ic-on-line.com] [www.ic-on-line.net] [www.alldatasheet.com.cn] [www.gdcy.com]  [www.gdcy.net]


 . . . . .
  We use cookies to deliver the best possible web experience and assist with our advertising efforts. By continuing to use this site, you consent to the use of cookies. For more information on cookies, please take a look at our Privacy Policy. X
0.054403066635132