Part Number Hot Search : 
55C11 SSS7N60 RLT6650G LM3900 3JH61 MAX197 56241 LVR012K
Product Description
Full Text Search

S93662 - Precision Supply-Voltage Monitor and Reset Controller

S93662_4739403.PDF Datasheet

 
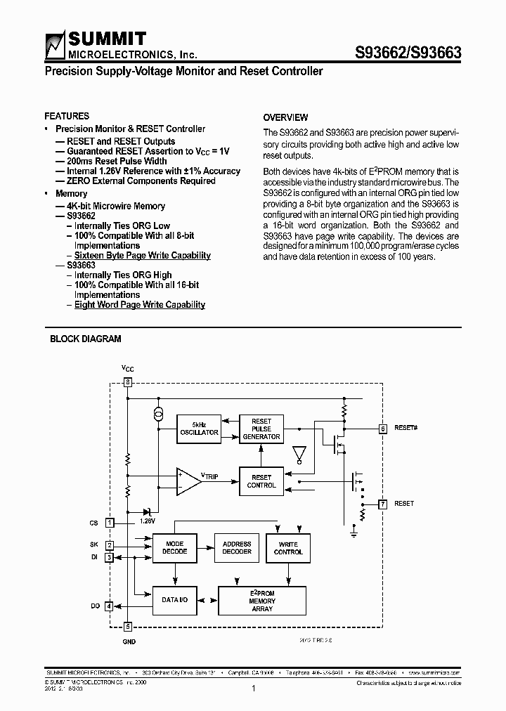
Part No. S93662 S93663
Description Precision Supply-Voltage Monitor and Reset Controller

File Size 145.55K  /  14 Page  

Maker


Summit Microelectronics, Inc.



JITONG TECHNOLOGY
(CHINA HK & SZ)
Datasheet.hk's Sponsor

Part: S93663S-2.7
Maker: N/A
Pack: N/A
Stock: 402
Unit price for :
    50: $2.95
  100: $2.81
1000: $2.66

Email: oulindz@gmail.com

Contact us

Homepage http://www.summitmicro.com
Download [ ]
[ S93662 S93663 Datasheet PDF Downlaod from Datasheet.HK ]
[S93662 S93663 Datasheet PDF Downlaod from Maxim4U.com ] :-)


[ View it Online ]   [ Search more for S93662 ]

[ Price & Availability of S93662 by FindChips.com ]

 Full text search : Precision Supply-Voltage Monitor and Reset Controller
 Product Description search : Precision Supply-Voltage Monitor and Reset Controller


 Related Part Number
PART Description Maker
MAX5236 MAX5237 MAX5236-MAX5237 MAX5237EUB MAX5236 "Single-Supply 3V/5V, Voltage- Output, Dual, Precision 10-Bit DACs"
Single-Supply 3V/5V, Voltage-Output, Dual, Precision 10-Bit DACs 单电3V/5V,电压输出,双路,精0位DAC
MAXIM - Dallas Semiconductor
MAXIM[Maxim Integrated Products]
Maxim Integrated Products, Inc.
MC14538 MC14538BCL MC14538BCP MC14538BDW MC14538B_ UltraLow-Supply Current/Supply-Voltage Supervisory Circuit 6-SOT-23 -40 to 85
Dual Precision Retriggerable/Resettable Monostable Multivibrator
ORDERING INFORMATION
From old datasheet system
DUAL PRECISION RETRIGGERABLE / RESETTABLE MONOSTABLE MULTIVIBRATOR
MOTOROLA INC
ON Semi
MOTOROLA[Motorola, Inc]
OP747AR OP747ARU OP727 OP727AR OP727ARU OP777ARM O Precision Single Rail-to-Rail Output Single Supply Amplifier
Precision Dual Rail-to-Rail Output Single Supply Amplifer Preliminary
Precision Quad Rail-to-Rail Output Single Supply Amplifier; Package: SOIC; No of Pins: 14; Temperature Range: Industrial QUAD OP-AMP, 300 uV OFFSET-MAX, 0.7 MHz BAND WIDTH, PDSO14
Precision Quad Rail-to-Rail Output Single Supply Amplifier; Package: TSSOP; No of Pins: 14; Temperature Range: Industrial
   Precision Micropower Single-Supply Operational Amplifiers
AD[Analog Devices]
Analog Devices, Inc.
ANALOG DEVICES INC
5962R9213902HZA 5962-9213902HZA Precision High-Voltage Reference in SOT23 型DC - DC电压转换
Precision, Single-Supply, SPST Analog Switches 型DC - DC电压转换
NEC, Corp.
PT7M7812M PT7M7812XTAE PT7M7812Y PT7M7812S PT7M781 Precision supply-voltage monitor
List of Unclassifed Manufacturers
List of Unclassifed Man...
S93462 S93462S2.7 S93462S2.7T S93462SA S93462SAT S Precision Supply-Voltage Monitor and Reset Controller
Summit Microelectronics, In...
Summit Microelectronics, Inc.
ZM33164-3 ZM331643C ZM331643G ZM331643N8 ZM33164-3 IC-SM-SUPPLY MONITOR SOT223 集成电路钐电源监视器的SOT223
SUPPLY VOLTAGE MONITOR 1-CHANNEL POWER SUPPLY SUPPORT CKT, PDSO8
IC-SUPPLY MONITOR 集成电路电源监视
SUPPLY VOLTAGE MONITOR 电源电压监视
IC-SM-SUPPLY MONITOR 集成电路钐电源监视器
Zetex Semiconductor PLC
Zetex Semiconductors
5962-9318702H4A 5962-9318702H5C 5962-9318702HUC 59 Single/Dual/Quad, 28MHz, Low-Noise, Low-Voltage, Precision Op Amps
SOT23, Micropower, Single-Supply, Rail-to-Rail I/O Op Amps
Single, Dual, Quad, 1.2µA Max, Single-Supply Op Amps
High-Output-Drive, Precision, Low-Power, Single-Supply, Rail-to-Rail I/O Op Amps with Shutdown
Low-Cost, SOT23, Voltage-Output, High-Side Current-Sense Amplifier
Single/Dual/Quad, Wide-Bandwidth, Low-Power, Single-Supply Rail-to-Rail I/O Op Amps
SOT23, Rail-to-Rail, Fixed-Gain, Gain Amps/Open-Loop Op Amps X32号的SRAM模块
350MHz/250MHz, 2-Channel Video Multiplexer-Amplifiers X32号的SRAM模块
x32 SRAM Module X32号的SRAM模块
Electronic Theatre Controls, Inc.
Avago Technologies, Ltd.
Bourns, Inc.
LT1077AC LT1077ACH LT1077ACJ8 LT1077ACN8 LT1077AI    Micropower, Single Supply, Precision Op Amp
From old datasheet system
Micropower/ Single Supply/ Precision Op Amp
Micropower Single Supply Precision Op Amp
JT 18C 18#20 SKT PLUG
LINER[Linear Technology]
Linear Technology Corporation
LTC2919HDDB-2.5-PBF LTC2919HDDB-2.5-TRPBF LTC2919H Precision Triple/Dual Input UV, OV and Negative Voltage Monitor; Package: DFN; No of Pins: 10; Temperature Range: 0°C to 70°C 1-CHANNEL POWER SUPPLY SUPPORT CKT, PDSO10
Precision Triple/Dual Input UV, OV and Negative Voltage Monitor; Package: DFN; No of Pins: 10; Temperature Range: -40°C to 85°C 1-CHANNEL POWER SUPPLY SUPPORT CKT, PDSO10
Precision Triple/Dual Input UV, OV and Negative Voltage Monitor; Package: DFN; No of Pins: 10; Temperature Range: -40° to 125°C 1-CHANNEL POWER SUPPLY SUPPORT CKT, PDSO10
Precision Triple/Dual Input UV, OV and Negative Voltage Monitor; Package: DFN; No of Pins: 32; Temperature Range: 0°C to 70°C 1-CHANNEL POWER SUPPLY SUPPORT CKT, PDSO10
Precision Triple/Dual Input UV, OV and Negative Voltage Monitor; Package: SOT; No of Pins: 8; Temperature Range: -40°C to 85°C 1-CHANNEL POWER SUPPLY SUPPORT CKT, PDSO10
Precision Triple/Dual Input UV, OV and Negative Voltage Monitor; Package: MSOP; No of Pins: 10; Temperature Range: 0°C to 70°C 1-CHANNEL POWER SUPPLY SUPPORT CKT, PDSO10
Precision Triple/Dual Input UV, OV and NegativeVoltage Monitor
Linear Technology, Corp.
ISL6000706 ISL60007CIB825Z ISL60007BIB825Z ISL6000 1-OUTPUT THREE TERM VOLTAGE REFERENCE, 2.5 V, PDSO8
Precision 2.50V, 1.08U-Watt, High Precision FGA Voltage References
Intersil Corporation
LT1178S8 LT1179S8 From old datasheet system
20µA Max, Dual SO-8 Package, Single Supply Precision Op Amp
20 A Max, Dual SO-8 Package, Single Supply Precision Op Amp
20uA Max, Dual SO-8 Package, Single Supply Precision Op Amp
LINER[Linear Technology]
 
 Related keyword From Full Text Search System
S93662 Microelectronic S93662 asm encoder S93662 mhz S93662 Converter S93662 price
S93662 Mosfet S93662 stmicroelectronics S93662 Module S93662 upload S93662 resistor
 

 

Price & Availability of S93662

All Rights Reserved © IC-ON-LINE 2003 - 2022  

[Add Bookmark] [Contact Us] [Link exchange] [Privacy policy]
Mirror Sites :  [www.datasheet.hk]   [www.maxim4u.com]  [www.ic-on-line.cn] [www.ic-on-line.com] [www.ic-on-line.net] [www.alldatasheet.com.cn] [www.gdcy.com]  [www.gdcy.net]


 . . . . .
  We use cookies to deliver the best possible web experience and assist with our advertising efforts. By continuing to use this site, you consent to the use of cookies. For more information on cookies, please take a look at our Privacy Policy. X
0.10367822647095