Part Number Hot Search : 
2060CT LV5695P EF306 TSOP48 2N6585 TG9030 CEM9426 MB90P678
Product Description
Full Text Search

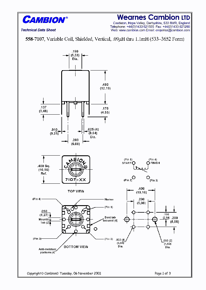
558-7107 - Variable Coil, Shielded, Vertical, .09μH thru 1.1mΗ SHIELDED, 0.297 uH - 0.363 uH, VARIABLE INDUCTOR

558-7107_3570097.PDF Datasheet


 Full text search : Variable Coil, Shielded, Vertical, .09μH thru 1.1mΗ SHIELDED, 0.297 uH - 0.363 uH, VARIABLE INDUCTOR
 Product Description search : Variable Coil, Shielded, Vertical, .09μH thru 1.1mΗ SHIELDED, 0.297 uH - 0.363 uH, VARIABLE INDUCTOR


 Related Part Number
PART Description Maker
9117 9104 Knobs & Dials ADJUSTABLE RF COIL SHIELDED, 3360 uH - 11120 uH, VARIABLE INDUCTOR
SHIELDED, 0.246 uH - 0.418 uH, VARIABLE INDUCTOR
Bourns, Inc.
BOURNS INC
KS1364N KS1375N-LFR KS1374N KS1374N-LFR KS1351N-LF 7mm Adjustable shielded IFT Coil (I)
Frontier Electronics.
KS1390N KS1390N-LFR KS1391N KS1391N-LFR KS1400N-LF 7mm Adjustable shielded IFT Coil (II)
Frontier Electronics.
3SCV5012H1 3SCV5534D1 3SCV5012A1 3SCV5012B1 3SCV50 Long-life Haif-size Industrial Relay
POWER/SIGNAL RELAY, DPDT, MOMENTARY, 0.03A (COIL), 35VDC (COIL), 1050mW (COIL), PANEL MOUNT
POWER/SIGNAL RELAY, DPDT, MOMENTARY, 0.06A (COIL), 20VDC (COIL), 1200mW (COIL), PANEL MOUNT
POWER/SIGNAL RELAY, DPDT, MOMENTARY, 0.1A (COIL), 12VDC (COIL), 1200mW (COIL), PANEL MOUNT
POWER/SIGNAL RELAY, DPDT, MOMENTARY, 0.04A (COIL), 30VDC (COIL), 1200mW (COIL), PCB MOUNT-STRAIGHT
POWER/SIGNAL RELAY, DPDT, MOMENTARY, 0.05A (COIL), 23VDC (COIL), 1150mW (COIL), PANEL MOUNT
Tyco Electronics
4146-T052 SHIELDED, VARIABLE INDUCTOR
SUMIDA CORP
0215-T017 SHIELDED, 30 uH, VARIABLE INDUCTOR
SUMIDA CORP
4171-T036 SHIELDED, VARIABLE INDUCTOR
SUMIDA CORP
533-1187 Coil Form, Shielded, Vertical, .192 (4,88) Winding Diameter
CAMBION Electronic Components
533-3651 Coil Form, Shielded, Vertical, .210 (5,33) Winding Diameter
CAMBION Electronic Components
P5-3R9-NP P5-8R2-NP SUMIDACORP-P5-1R3-NP SHIELDED, VARIABLE INDUCTOR ROHS COMPLIANT
Sumida, Corp.
9057 SHIELDED, 280 uH - 650 uH, VARIABLE INDUCTOR
BOURNS INC
 
 Related keyword From Full Text Search System
558-7107 Operation 558-7107 inductors 558-7107 cost 558-7107 siemens 558-7107 21 ic on line
558-7107 filetype:pdf 558-7107 appreciate 558-7107 module 558-7107 Type 558-7107 upload
 

 

Price & Availability of 558-7107

All Rights Reserved © IC-ON-LINE 2003 - 2022  

[Add Bookmark] [Contact Us] [Link exchange] [Privacy policy]
Mirror Sites :  [www.datasheet.hk]   [www.maxim4u.com]  [www.ic-on-line.cn] [www.ic-on-line.com] [www.ic-on-line.net] [www.alldatasheet.com.cn] [www.gdcy.com]  [www.gdcy.net]


 . . . . .
  We use cookies to deliver the best possible web experience and assist with our advertising efforts. By continuing to use this site, you consent to the use of cookies. For more information on cookies, please take a look at our Privacy Policy. X
0.2635350227356