Part Number Hot Search : 
ON0646 AM1543KF ST380C 210602 TMEGA1 LM2935D ESUC0480 CY28412
Product Description
Full Text Search

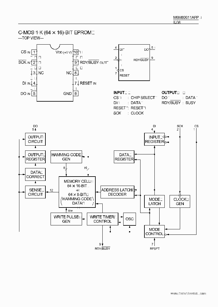
M6M80011AFP - CMOS 1K-Bit EPROM

M6M80011AFP_1996577.PDF Datasheet

 
Part No. M6M80011AFP
Description CMOS 1K-Bit EPROM

File Size 53.80K  /  1 Page  

Maker


ETC



JITONG TECHNOLOGY
(CHINA HK & SZ)
Datasheet.hk's Sponsor

Part: M6M80011AFP
Maker: MITSUBIS(三菱)
Pack: SOP-10
Stock: 2445
Unit price for :
    50: $1.57
  100: $1.49
1000: $1.41

Email: oulindz@gmail.com

Contact us

Homepage
Download [ ]
[ M6M80011AFP Datasheet PDF Downlaod from Datasheet.HK ]
[M6M80011AFP Datasheet PDF Downlaod from Maxim4U.com ] :-)


[ View it Online ]   [ Search more for M6M80011AFP ]

[ Price & Availability of M6M80011AFP by FindChips.com ]

 Full text search : CMOS 1K-Bit EPROM
 Product Description search : CMOS 1K-Bit EPROM


 Related Part Number
PART Description Maker
AM27C2048 AM27C2048-120DC AM27C2048-120DC5 AM27C20    2 Megabit (128 K x 16-Bit) CMOS EPROM
128K X 16 OTPROM, 120 ns, PQCC44
2 Megabit (128 K x 16-Bit) CMOS EPROM 2兆位28亩16位)的CMOS存储
2 Megabit (128 K x 16-Bit) CMOS EPROM 2兆位28亩16位)CMOS存储
TESTER FLAT CABLE 2兆位28亩16位)的CMOS存储
2 Megabit (128 K x 16-Bit) CMOS EPROM 128K X 16 UVPROM, 55 ns, CDIP40
4-Bit Binary Full Adders With Fast Carry 16-SO 0 to 70 2兆位128亩16位)的CMOS存储
TESTER MODULAR CABLE RJ45/12/11
4-Bit Binary Full Adders With Fast Carry 16-SOIC 0 to 70
Evaluation Kit for the MAX3869
2 megabit CMOS EPROM
SPANSION LLC
Advanced Micro Devices, Inc.
AMD[Advanced Micro Devices]
NM27C020 NM27C020QE150 2 Meg (256k x 8) UV Erasable CMOS EPROM [Life-time buy]
2097152-Bit (256K x 8) UV Erasable CMOS EPROM
2,097,152-Bit (256K x 8) UV Erasable CMOS EPROM
2 /097 /152-Bit (256K x 8) UV Erasable CMOS EPROM
FAIRCHILD[Fairchild Semiconductor]
HT27LC512 27LC512 OTP CMOS 64K′ 8-Bit EPROM
From old datasheet system
OTP CMOS 64Kx 8-Bit EPROM
Holtek Semiconductor In...
HOLTEK[Holtek Semiconductor Inc]
FM27C512Q FM27C512N90 FM27C512V120 FM27C512V150 FM 512K-Bit (64K x 8) High Performance CMOS EPROM
524,288-Bit (64K x 8) High Performance CMOS EPROM
524/288-Bit (64K x 8) High Performance CMOS EPROM
Capacitors.. 100 PIECE MIN.. NC/NR
FAIRCHILD[Fairchild Semiconductor]
PROM
AM27C1024 AM27C1024-120DC5 AM27C1024-120DC5B AM27C Quad 2-input exclusive-NOR gates with open collector outputs 14-SOIC 0 to 70
Quad 2-input exclusive-NOR gates with open collector outputs 14-PDIP 0 to 70
1 Megabit (65 K x 16-Bit) CMOS EPROM 1兆位5亩16位)的CMOS存储
1 Megabit (65 K x 16-Bit) CMOS EPROM 64K X 16 UVPROM, 55 ns, CDIP40
Quadruple 2-Line To 1-Line Data Selectors/Multiplexers With 3-State Outputs 16-SO 0 to 70 1兆位5亩16位)的CMOS存储
1 Megabit (65 K x 16-Bit) CMOS EPROM 1兆位65亩16位)的CMOS存储
64K X 16 UVPROM, 70 ns, CDIP40
1 megabit CMOS EPROM
AMD[Advanced Micro Devices]
Advanced Micro Devices, Inc.
ADVANCED MICRO DEVICES INC
SPANSION LLC
AM27C4096 AM27C4096-100DC AM27C4096-100DCB AM27C40 6-bit buffers and line drivers 16-SO 0 to 70
Hex Bus Drivers With 3-State Outputs 16-SOIC 0 to 70
4 Megabit (256 K x 16-Bit) CMOS EPROM 256K X 16 OTPROM, 200 ns, PQCC44
4 Megabit (256 K x 16-Bit) CMOS EPROM 256K X 16 UVPROM, 200 ns, CDIP40
4 Megabit (256 K x 16-Bit) CMOS EPROM 256K X 16 OTPROM, 200 ns, PDIP40
TV 37C 37#22D SKT PLUG 256K X 16 OTPROM, 100 ns, PDIP40
4 Megabit (256 K x 16-Bit) CMOS EPROM 4兆位56亩16位)的CMOS存储
4 Megabit (256 K x 16-Bit) CMOS EPROM 256K X 16 UVPROM, 90 ns, CDIP40
TV 10C 10#20 PIN PLUG
6-bit buffers and line drivers 16-PDIP 0 to 70
TV 37C 37#22D PIN PLUG
TV 18C 18#20 SKT WALL RECP
TV 19C 19#20 PIN WALL RECP
TV 10C 10#20 SKT PLUG
6-bit buffers and line drivers 16-SOIC 0 to 70
Circular Connector; MIL SPEC:MIL-DTL-38999 Series III; Body Material:Metal; Series:TVS06; Number of Contacts:10; Connector Shell Size:13; Connecting Termination:Crimp; Circular Shell Style:Straight Plug; Body Style:Straight
ADVANCED MICRO DEVICES INC
Advanced Micro Devices, Inc.
AMD[Advanced Micro Devices]
27C256 27C256-10 27C256-10EL 27C256-10EP 27C256-10    256K (32K x 8) CMOS EPROM
256K (32K x 8) CMOS EPROM 256K2K的8)的CMOS存储
DIODE SCHOTTKY 150V 60A TO247AC
CAPACITOR 1500UF 80V ELECT TSHA
CAP 270UF 400V ELECT TS-ED
From old datasheet system
256K (32x8) CMOS EPROM
YEONHO Electronics Co., Ltd.
Microchip Technology, Inc.
Microchip Technology Inc.
MICROCHIP[Microchip Technology]
CY7C245A-45LMB CY7C245A-25TMB CY7C245A-35TMB CY7C2 EPROM|2KX8|CMOS|LLCC|28PIN|CERAMIC
EPROM|2KX8|CMOS|DIP|24PIN|PLASTIC
EPROM|2KX8|CMOS|FP|24PIN|CERAMIC 存储器| 2KX8 |的CMOS |计划生育| 24针|陶瓷
2K X 8 UVPROM, 10 ns, CDIP24
2K X 8 OTPROM, 10 ns, PDIP24
2K X 8 OTPROM, 12 ns, CQCC28
Future Designs, Inc.
CYPRESS SEMICONDUCTOR CORP
MX27L2000T2I-25 MX27L2000T2I-20 MX27L2000T3I-15 MX XO 33.3333MHZ 50PPM 3.3V SMD-7050 TR-7-PL
CAP 10UF 25V 10% TANT RAD.10 TR-14
LT Series Water Resistant Linear Position Transducer, 50,8 mm [2.0 in] Electrical Travel, 1.0 % Linearity, Cable Termination, Item Number F58000202
null2M-BIT [256Kx8] CMOS EPROM 256K X 8 OTPROM, 120 ns, PDSO32
OSCILLATOR 24.576MHZ SMD 256K X 8 OTPROM, 150 ns, PDSO32
null2M-BIT [256Kx8] CMOS EPROM 256K X 8 OTPROM, 200 ns, PDSO32
Macronix International Co., Ltd.
AM27C010 AM27C010-120 AM27C010-120DC5 AM27C010-120 1 Megabit (128 K x 8-Bit) CMOS EPROM 1兆位128亩8位)的CMOS存储
Octal Buffers And Line Drivers With 3-State Outputs 20-SOIC 0 to 70 128K X 8 OTPROM, 45 ns, PQCC32
Octal Buffers And Line Drivers With 3-State Outputs 20-SOIC 0 to 70 128K X 8 OTPROM, 45 ns, PDIP32
1 Megabit (128 K x 8-Bit) CMOS EPROM 1兆位28亩8位)的CMOS存储
Octal Buffers And Line Drivers With 3-State Outputs 20-PDIP 0 to 70
Octal buffers and line drivers 20-PDIP 0 to 70
Quad bus transceivers 14-SOIC 0 to 70
Octal Buffers And Line Drivers With 3-State Outputs 20-SO 0 to 70
Octal buffers and line drivers 20-SO 0 to 70
1 megabit CMOS EPROM
   1 Megabit (128 K x 8-Bit) CMOS EPROM
ADVANCED MICRO DEVICES INC
Advanced Micro Devices, Inc.
AMD[Advanced Micro Devices]
27C512A 27C512A-12EVS 11173E 27C512A-12ISO 27C512A 512K (64K x 8) CMOS EPROM 12k4K的8)的CMOS存储
From old datasheet system
512K (64Kx8) CMOS EPROM
Microchip Technology, Inc.
Microchip Technology Inc.
MICROCHIP[Microchip Technology]
 
 Related keyword From Full Text Search System
M6M80011AFP Characteristic M6M80011AFP linear M6M80011AFP 资料查找 M6M80011AFP Amp M6M80011AFP Switch
M6M80011AFP mosfet M6M80011AFP rohm M6M80011AFP Semiconductor M6M80011AFP preis M6M80011AFP Bus
 

 

Price & Availability of M6M80011AFP

All Rights Reserved © IC-ON-LINE 2003 - 2022  

[Add Bookmark] [Contact Us] [Link exchange] [Privacy policy]
Mirror Sites :  [www.datasheet.hk]   [www.maxim4u.com]  [www.ic-on-line.cn] [www.ic-on-line.com] [www.ic-on-line.net] [www.alldatasheet.com.cn] [www.gdcy.com]  [www.gdcy.net]


 . . . . .
  We use cookies to deliver the best possible web experience and assist with our advertising efforts. By continuing to use this site, you consent to the use of cookies. For more information on cookies, please take a look at our Privacy Policy. X
0.36033296585083