Part Number Hot Search : 
LCX005BK S442006 2MBI15 PAL20RS8 2SA11 MT8888C P1000 LT1940
Product Description
Full Text Search

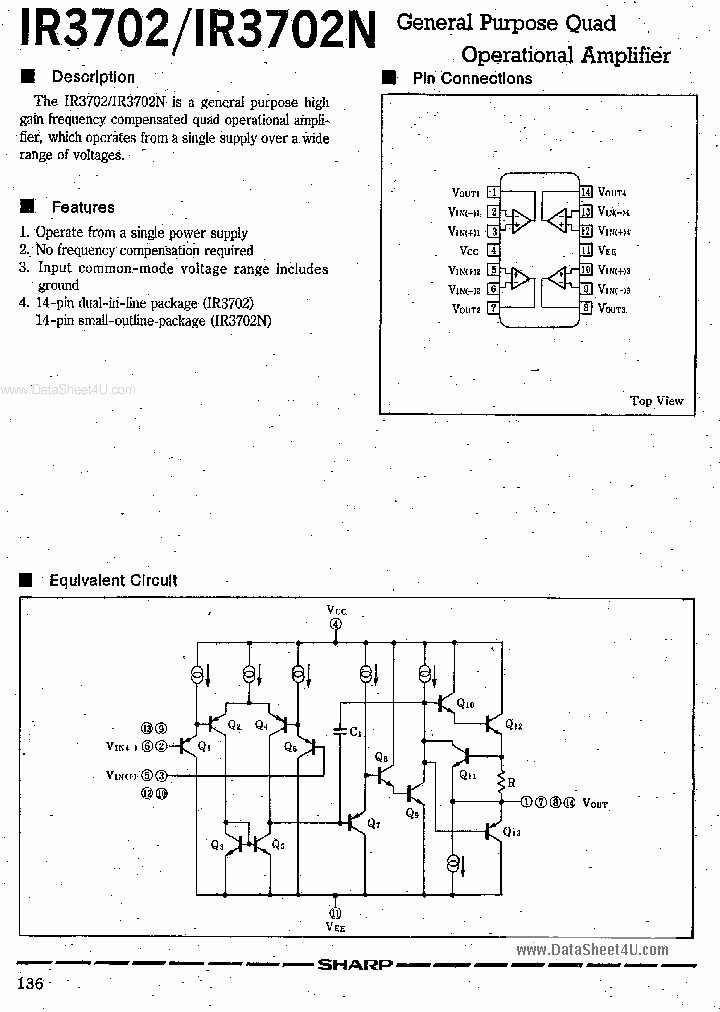
IR3702N - General Purpose Quad Operational Amplifier

IR3702N_1841429.PDF Datasheet

 
Part No. IR3702N
Description General Purpose Quad Operational Amplifier

File Size 152.66K  /  3 Page  

Maker

Sharp



JITONG TECHNOLOGY
(CHINA HK & SZ)
Datasheet.hk's Sponsor

Part: IR3702N
Maker: IR
Pack: SOP16
Stock: 402
Unit price for :
    50: $1.29
  100: $1.23
1000: $1.16

Email: oulindz@gmail.com

Contact us

Homepage
Download [ ]
[ IR3702N Datasheet PDF Downlaod from Datasheet.HK ]
[IR3702N Datasheet PDF Downlaod from Maxim4U.com ] :-)


[ View it Online ]   [ Search more for IR3702N ]

[ Price & Availability of IR3702N by FindChips.com ]

 Full text search : General Purpose Quad Operational Amplifier
 Product Description search : General Purpose Quad Operational Amplifier


 Related Part Number
PART Description Maker
ISL28413FVZ-T13 ISL28213FBZ-T13 ISL28213FHZ-T7 ISL Quad General Purpose Micropower, RRIO Operational Amplifier; Temperature Range: Full-Range Industrial; Package: 14 Ld TSSOP T R QUAD OP-AMP, 6000 uV OFFSET-MAX, 2 MHz BAND WIDTH, PDSO14
Single, Dual, Quad General Purpose Micropower, RRIO Operational Amplifier
   Single, Dual, Quad General Purpose Micropower, RRIO Operational Amplifier
Intersil, Corp.
Intersil Corporation
LMX331H LMX331 LMX339ASD LMX339 LMX339AUD LMX393HA General-Purpose, Low-Voltage, Single/Dual/Quad, TinyPack™ Comparators
RES, MTF 49.9K 1/4W 1%
"General Purpose, Low- Voltage, Single, Tiny-Pack Comparators with Hysteresis"
"General Purpose, Low- Voltage, Single, Tiny-Pack Comparators"
General-Purpose Low-Voltage Single/Dual/Quad Tiny-Pack Comparators
General-Purpose/ Low-Voltage/ Single/Dual/Quad/ Tiny-Pack Comparators
General-Purpose, Low-Voltage, Single/Dual/Quad, Tiny-Pack Comparators
From old datasheet system
MAXIM INTEGRATED PRODUCTS INC
Maxim Integrated Products, Inc.
MAXIM[Maxim Integrated Products]
MAXIM - Dallas Semiconductor
PS27-30 PS28-D-40 PS28-D-31 PS28-D-13 PS28-D-16 P9 1 ELEMENT, 1500000 uH, POWDERED IRON-CORE, GENERAL PURPOSE INDUCTOR
1 ELEMENT, 500000 uH, POWDERED IRON-CORE, GENERAL PURPOSE INDUCTOR
1 ELEMENT, 3000000 uH, POWDERED IRON-CORE, GENERAL PURPOSE INDUCTOR
1 ELEMENT, 17500000 uH, POWDERED IRON-CORE, GENERAL PURPOSE INDUCTOR
1 ELEMENT, 86000 uH, POWDERED IRON-CORE, GENERAL PURPOSE INDUCTOR
1 ELEMENT, 5000 uH, POWDERED IRON-CORE, GENERAL PURPOSE INDUCTOR
1 ELEMENT, 860000 uH, POWDERED IRON-CORE, GENERAL PURPOSE INDUCTOR
1 ELEMENT, 12000 uH, POWDERED IRON-CORE, GENERAL PURPOSE INDUCTOR
1 ELEMENT, 300000 uH, POWDERED IRON-CORE, GENERAL PURPOSE INDUCTOR
1 ELEMENT, 150000 uH, POWDERED IRON-CORE, GENERAL PURPOSE INDUCTOR
1 ELEMENT, 400000 uH, POWDERED IRON-CORE, GENERAL PURPOSE INDUCTOR
1 ELEMENT, 43000 uH, POWDERED IRON-CORE, GENERAL PURPOSE INDUCTOR
1 ELEMENT, 10000000 uH, POWDERED IRON-CORE, GENERAL PURPOSE INDUCTOR
1 ELEMENT, 10000 uH, POWDERED IRON-CORE, GENERAL PURPOSE INDUCTOR
1 ELEMENT, 17500 uH, POWDERED IRON-CORE, GENERAL PURPOSE INDUCTOR
1 ELEMENT, 20000000 uH, POWDERED IRON-CORE, GENERAL PURPOSE INDUCTOR
1 ELEMENT, 30000000 uH, POWDERED IRON-CORE, GENERAL PURPOSE INDUCTOR
1 ELEMENT, 7200 uH, POWDERED IRON-CORE, GENERAL PURPOSE INDUCTOR
1 ELEMENT, 50000 uH, POWDERED IRON-CORE, GENERAL PURPOSE INDUCTOR
Yageo, Corp.
EC30AL42464 EC30AL301.87 EC30AL301.82 EC30AL3518.2 1 ELEMENT, 464000 uH, GENERAL PURPOSE INDUCTOR
1 ELEMENT, 1870 uH, GENERAL PURPOSE INDUCTOR
1 ELEMENT, 1820 uH, GENERAL PURPOSE INDUCTOR
1 ELEMENT, 18200 uH, GENERAL PURPOSE INDUCTOR
1 ELEMENT, 20000 uH, GENERAL PURPOSE INDUCTOR
1 ELEMENT, 22600 uH, GENERAL PURPOSE INDUCTOR
1 ELEMENT, 26100 uH, GENERAL PURPOSE INDUCTOR
1 ELEMENT, 4020 uH, GENERAL PURPOSE INDUCTOR
1 ELEMENT, 4420 uH, GENERAL PURPOSE INDUCTOR

RC4741 RM4741D RM4741D_883B RC4741N HA4741 RC4741M General Purpose Operation Amplifier
General Purpose Operational Amplifier
Fairchild Semiconductor Corporation
FAIRCHILD[Fairchild Semiconductor]
RLB0608-2R7ML RLB0608-3R3ML RLB0914-270KL RLB0608- Radial Inductors 1 ELEMENT, 2.7 uH, FERRITE-CORE, GENERAL PURPOSE INDUCTOR
Radial Inductors 1 ELEMENT, 3.3 uH, FERRITE-CORE, GENERAL PURPOSE INDUCTOR
Radial Inductors 1 ELEMENT, 27 uH, FERRITE-CORE, GENERAL PURPOSE INDUCTOR
Radial Inductors 1 ELEMENT, 12 uH, FERRITE-CORE, GENERAL PURPOSE INDUCTOR
Radial Inductors 1 ELEMENT, 1000 uH, FERRITE-CORE, GENERAL PURPOSE INDUCTOR
Radial Inductors 1 ELEMENT, 82 uH, FERRITE-CORE, GENERAL PURPOSE INDUCTOR
Radial Inductors 1 ELEMENT, 56 uH, FERRITE-CORE, GENERAL PURPOSE INDUCTOR
Radial Inductors 1 ELEMENT, 47 uH, FERRITE-CORE, GENERAL PURPOSE INDUCTOR
Radial Inductors 1 ELEMENT, 5.6 uH, FERRITE-CORE, GENERAL PURPOSE INDUCTOR
Radial Inductors 1 ELEMENT, 4.7 uH, FERRITE-CORE, GENERAL PURPOSE INDUCTOR
Radial Inductors 1 ELEMENT, 10000 uH, FERRITE-CORE, GENERAL PURPOSE INDUCTOR
Radial Inductors 1 ELEMENT, 1800 uH, FERRITE-CORE, GENERAL PURPOSE INDUCTOR
Radial Inductors 1 ELEMENT, 15 uH, FERRITE-CORE, GENERAL PURPOSE INDUCTOR
Radial Inductors 1 ELEMENT, 470 uH, FERRITE-CORE, GENERAL PURPOSE INDUCTOR
Radial Inductors 1 ELEMENT, 3300 uH, FERRITE-CORE, GENERAL PURPOSE INDUCTOR
Radial Inductors 1 ELEMENT, 12000 uH, FERRITE-CORE, GENERAL PURPOSE INDUCTOR
Radial Inductors 1 ELEMENT, 18000 uH, FERRITE-CORE, GENERAL PURPOSE INDUCTOR
Radial Inductors 1 ELEMENT, 27000 uH, FERRITE-CORE, GENERAL PURPOSE INDUCTOR
Radial Inductors 1 ELEMENT, 330 uH, FERRITE-CORE, GENERAL PURPOSE INDUCTOR
Radial Inductors 1 ELEMENT, 15000 uH, FERRITE-CORE, GENERAL PURPOSE INDUCTOR
Radial Inductors 1 ELEMENT, 4700 uH, FERRITE-CORE, GENERAL PURPOSE INDUCTOR
Radial Inductors 1 ELEMENT, 100 uH, FERRITE-CORE, GENERAL PURPOSE INDUCTOR
Radial Inductors 1 ELEMENT, 8200 uH, FERRITE-CORE, GENERAL PURPOSE INDUCTOR
Radial Inductors 1 ELEMENT, 33 uH, FERRITE-CORE, GENERAL PURPOSE INDUCTOR
Radial Inductors 1 ELEMENT, 390 uH, FERRITE-CORE, GENERAL PURPOSE INDUCTOR
Radial Inductors 1 ELEMENT, 22 uH, FERRITE-CORE, GENERAL PURPOSE INDUCTOR
Radial Inductors 1 ELEMENT, 18 uH, FERRITE-CORE, GENERAL PURPOSE INDUCTOR
Radial Inductors 1 ELEMENT, 820 uH, FERRITE-CORE, GENERAL PURPOSE INDUCTOR
Radial Inductors 1 ELEMENT, 2700 uH, FERRITE-CORE, GENERAL PURPOSE INDUCTOR
Bourns, Inc.
BOURNS INC
EP4820 EP2890 EP2930 EP2629A EP4860 EP4861 EP4862 1 ELEMENT, 47000 uH, GENERAL PURPOSE INDUCTOR
Subminiature RF Inductors
1 ELEMENT, 150 uH, GENERAL PURPOSE INDUCTOR
1 ELEMENT, 3300 uH, GENERAL PURPOSE INDUCTOR
1 ELEMENT, 330 uH, GENERAL PURPOSE INDUCTOR
1 ELEMENT, 680 uH, GENERAL PURPOSE INDUCTOR
1 ELEMENT, 15000 uH, GENERAL PURPOSE INDUCTOR
PCA ELECTRONICS INC.
550-8640 550-8640-05-02-00 550-8640-54-02-00 550-8 1 ELEMENT, 0.1 uH, GENERAL PURPOSE INDUCTOR
1 ELEMENT, 10000 uH, GENERAL PURPOSE INDUCTOR
R F Choke, epoxy dipped, axial
1 ELEMENT, 0.22 uH, GENERAL PURPOSE INDUCTOR
1 ELEMENT, 2700 uH, GENERAL PURPOSE INDUCTOR
1 ELEMENT, 12 uH, GENERAL PURPOSE INDUCTOR
1 ELEMENT, 220 uH, GENERAL PURPOSE INDUCTOR
1 ELEMENT, 4.7 uH, GENERAL PURPOSE INDUCTOR
CAMBION Electronic Components
WEARNES CAMBION LTD
DQ1260 DQ1280 DQ7545 DQ6530 DQ6545 DQ7534 DQ1280-1    SMD Shielded Base Plate Power Inductor Series; Part Numbering Sequence
1 ELEMENT, 270 uH, GENERAL PURPOSE INDUCTOR, SMD
1 ELEMENT, 390 uH, GENERAL PURPOSE INDUCTOR, SMD
1 ELEMENT, 1 uH, GENERAL PURPOSE INDUCTOR, SMD
1 ELEMENT, 180 uH, GENERAL PURPOSE INDUCTOR, SMD
1 ELEMENT, 10 uH, GENERAL PURPOSE INDUCTOR, SMD
1 ELEMENT, 330 uH, GENERAL PURPOSE INDUCTOR, SMD
1 ELEMENT, 150 uH, GENERAL PURPOSE INDUCTOR, SMD
MACOM[Tyco Electronics]
N.A.
List of Unclassifed Man...
R9G02200A R9G02022 R9G00422 R9G01022 R9G01422 R9G0 1800V, 2200A general purpose single diode
1000V, 2200A general purpose single diode
2000V, 2200A general purpose single diode
General Purpose Rectifier (2200 Amperes Average 1600 Volts)
1400V, 2200A general purpose single diode
POWEREX[Powerex Power Semiconductors]
 
 Related keyword From Full Text Search System
IR3702N coilcraft IR3702N informacion de IR3702N Corporation IR3702N Serial IR3702N national
IR3702N Filter IR3702N State IR3702N integrated IR3702N battery charger circuit IR3702N timer
 

 

Price & Availability of IR3702N

All Rights Reserved © IC-ON-LINE 2003 - 2022  

[Add Bookmark] [Contact Us] [Link exchange] [Privacy policy]
Mirror Sites :  [www.datasheet.hk]   [www.maxim4u.com]  [www.ic-on-line.cn] [www.ic-on-line.com] [www.ic-on-line.net] [www.alldatasheet.com.cn] [www.gdcy.com]  [www.gdcy.net]


 . . . . .
  We use cookies to deliver the best possible web experience and assist with our advertising efforts. By continuing to use this site, you consent to the use of cookies. For more information on cookies, please take a look at our Privacy Policy. X
0.52830219268799