Part Number Hot Search : 
2N1046 BCM7040 C100H60 C2260 90N03 SWS17101 IDT5992A ST779ACD
Product Description
Full Text Search

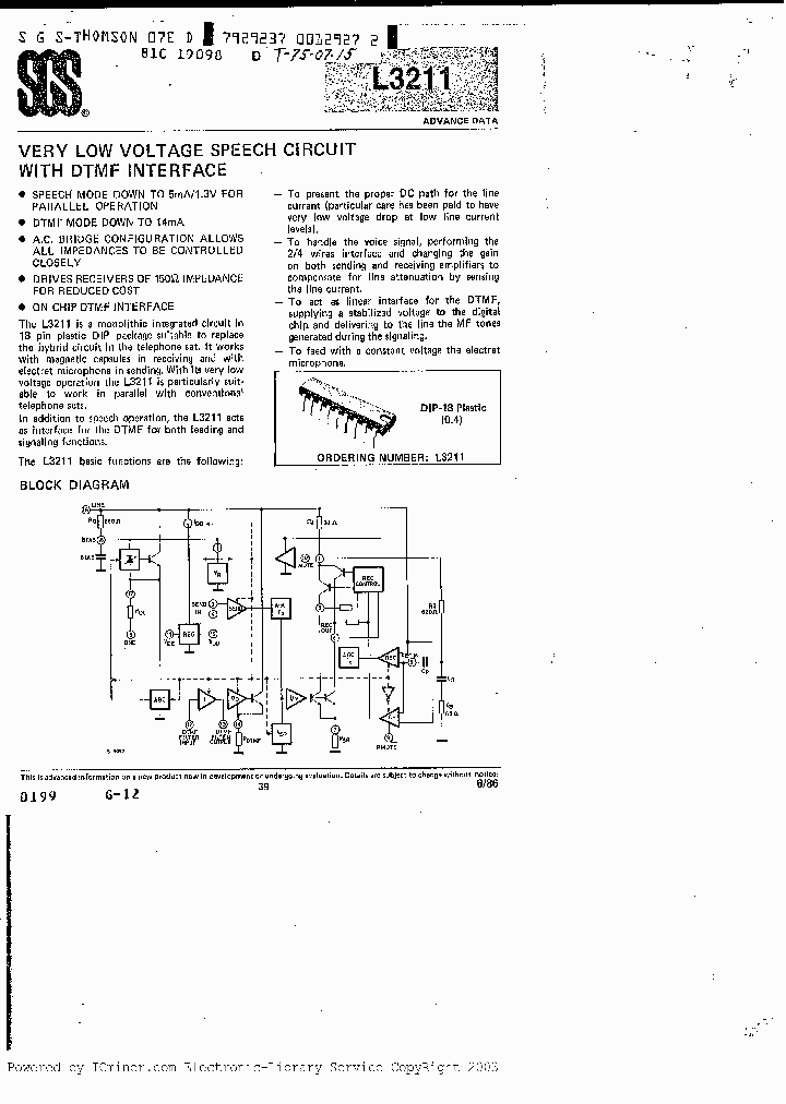
L3211 - Telecommunication IC

L3211_1449638.PDF Datasheet


 Full text search : Telecommunication IC
 Product Description search : Telecommunication IC


 Related Part Number
PART Description Maker
TLP126 Programmable Controllers AC DC-Input Module Telecommunication
Programmable Controllers AC / DC−Input Module Telecommunication
Photocoupler GaAs Ired & Photo .Transistor
Toshiba Semiconductor
TLP331 TLP332 Photocoupler GaAs Ired & Photo .Transistor
Office Machine Household Use Equipment Programmable Controllers AC / DC-Input Module Telecommunication
Office Machine Household Use Equipment Programmable Controllers AC / DC−Input Module Telecommunication
TOSHIBA[Toshiba Semiconductor]
Toshiba Corporation
HM9270 Telecommunication IC
Hualon Microelectronics
OPT-622B2L1 Telecommunication IC 通信集成电路
MatrixOrbital, Inc.
HS1103B Telecommunication IC 通信集成电路
Measurement Specialties, Inc.
SSI73Q8330A-CGT SSI73Q8330A-CP SSI73Q8330CH Telecommunication IC 通信集成电路
Lumex, Inc.
AM79484-4JC AM79484-1JC AM79484-2JC AM79484-3JC Telecommunication IC 通信集成电路
Integrated Device Technology, Inc.
CDP1854A-CE CDP1854A-CD CDP1854A-CQ Telecommunication IC 通信集成电路
Comchip Technology Co., Ltd.
BU-61865F4-110 BU-61865G4-100 BU-61865G4-110 BU-61 Telecommunication IC 通信集成电路
TDK, Corp.
Analog Devices, Inc.
CSP1034AH PID2PCMCIA Telecommunication IC 通信集成电路
Black Box, Corp.
OPT-155B2M1 Telecommunication IC 通信集成电路
Delta Electronics, Inc.
16G040-2L Telecommunication IC 通信集成电路
Honeywell International, Inc.
 
 Related keyword From Full Text Search System
L3211 output data L3211 atmel L3211 specifications L3211 port L3211 Regulator
L3211 rectifier L3211 equivalent ic L3211 Stereo L3211 international L3211 ic equivalent
 

 

Price & Availability of L3211

All Rights Reserved © IC-ON-LINE 2003 - 2022  

[Add Bookmark] [Contact Us] [Link exchange] [Privacy policy]
Mirror Sites :  [www.datasheet.hk]   [www.maxim4u.com]  [www.ic-on-line.cn] [www.ic-on-line.com] [www.ic-on-line.net] [www.alldatasheet.com.cn] [www.gdcy.com]  [www.gdcy.net]


 . . . . .
  We use cookies to deliver the best possible web experience and assist with our advertising efforts. By continuing to use this site, you consent to the use of cookies. For more information on cookies, please take a look at our Privacy Policy. X
0.25815796852112