Part Number Hot Search : 
MIC4452 PMV60EN TK40M60U SI4947DY 9DBU0231 NJM2123 46127 700610
Product Description
Full Text Search

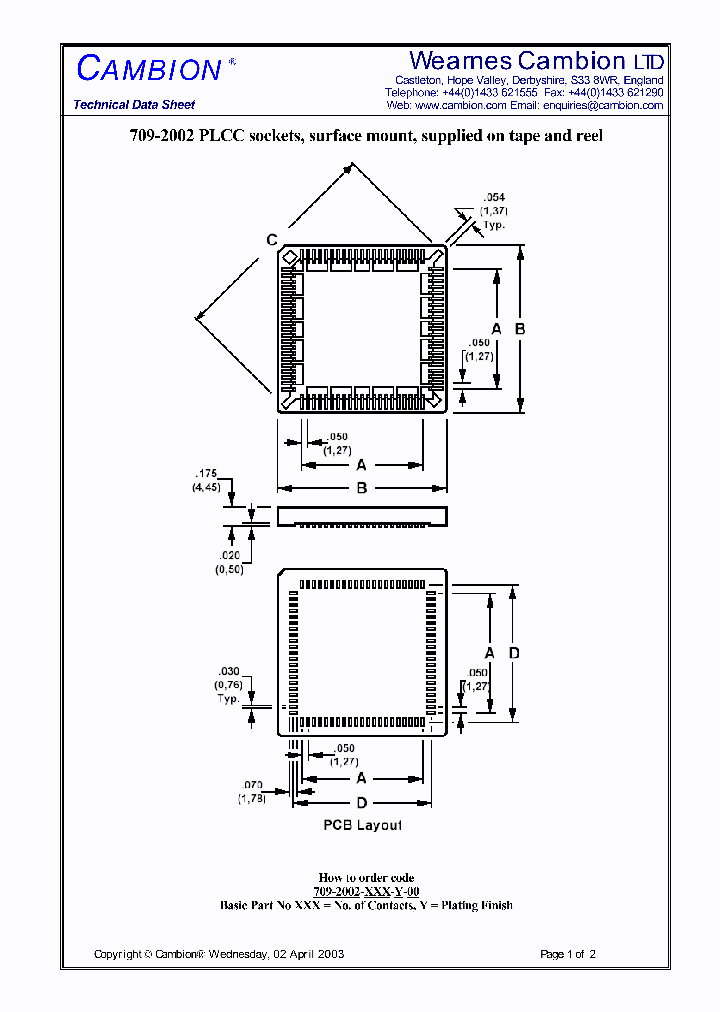
709-2002 - PLCC sockets, surface mount, supplied on tape and reel

709-2002_1671161.PDF Datasheet


 Full text search : PLCC sockets, surface mount, supplied on tape and reel
 Product Description search : PLCC sockets, surface mount, supplied on tape and reel


 Related Part Number
PART Description Maker
QTLP670C-AG QTLP670C-E QTLP670C-IB QTLP670C-IG QTL Yellow-Orange Surface Mount LED Lamp - Super Bright PLCC-2
InGaN White Surface Mount LED Lamp - Super Bright PLCC-2
Yellow Surface Mount LED Lamp - Super Bright PLCC-2
Red - (640nm) Surface Mount LED Lamp - Super Bright PLCC-2
Red Surface Mount LED Lamp - Super Bright PLCC-2
InGaN True-Green Surface Mount LED Lamp - Super Bright PLCC-2
SURFACE MOUNT LED LAMP SUPER BRIGHT PLCC-2
LJT 6C 6#12 SKT RECP
SURFACE MOUNT LED LAMP SINGLE COLOR LED, YELLOW, 2.4 mm
FAIRCHILD[Fairchild Semiconductor]
Fairchild Semiconductor Corporation
Fairchild Semiconductor, Corp.
940-44-044-17-400000 940-44-0XX-17-X00000 PLCC Sockets
Mill-Max
PLCC-32-AT-SMT PLCC-44-AT-SMT PLCC-68-AT-SMT PLCC- PLCC SOCKETS
Adam Technologies, Inc.
550-10-352M26-001152 PGA / BGA / PLCC SOCKETS
Precid-Dip Durtal SA
504-99-084-24-000 504-99-068-24-000 Sockets for Plastic Leaded Chip Carriers (PLCC) Solder tail
Precid-Dip Durtal
896-43-005-00-100001 897-43-005-00-100001 MISCELLANEOUS CONNECTORS Mini Universal Serial Bus Surface Mount Sockets
Mill-Max Mfg. Corp.
SF-PLCC44-J-01 PLCC Surface Mount Foot
Ironwood Electronics.
ASMT-QTB2-XXXXX PLCC-4 Surface Mount LED Indicator
AVAGO TECHNOLOGIES LIMITED
MSL-204RGBAH Surface Mount Full Color PLCC LEDs
UOT[Unity Opto Technology]
MSL-204RGBU Surface Mount Full Color PLCC LEDs
Unity Opto Technology
ASMC-PAB9-TV005 ASMC-PRB9-TV005 ASMC-PXB9-TXXX5 AS Envisium Power PLCC-4 Surface Mount LED
AVAGO TECHNOLOGIES LIMITED
HSMW-A100-T50J1 HSMW-A101-R50J1 HSMW-A10X-XXXXX White Surface Mount LED Indicator SMT PLCC-2
AVAGO TECHNOLOGIES LIMITED
 
 Related keyword From Full Text Search System
709-2002 接腳圖 709-2002 speech voice 709-2002 display 709-2002 protection ic 709-2002 example commands
709-2002 oscillator 709-2002 atmel 709-2002 mosfet 709-2002 Data 709-2002 Instruments
 

 

Price & Availability of 709-2002

All Rights Reserved © IC-ON-LINE 2003 - 2022  

[Add Bookmark] [Contact Us] [Link exchange] [Privacy policy]
Mirror Sites :  [www.datasheet.hk]   [www.maxim4u.com]  [www.ic-on-line.cn] [www.ic-on-line.com] [www.ic-on-line.net] [www.alldatasheet.com.cn] [www.gdcy.com]  [www.gdcy.net]


 . . . . .
  We use cookies to deliver the best possible web experience and assist with our advertising efforts. By continuing to use this site, you consent to the use of cookies. For more information on cookies, please take a look at our Privacy Policy. X
0.043853998184204