Part Number Hot Search : 
IRF654 MCC72 XWS4805 OPS0002 SDR1M IXTL6N60 SSF3FG DB107G
Product Description
Full Text Search

631-25 - Logic IC Low-Voltage, SOT23, µP Supervisors with Power-Fail In/Out, Manual Reset, and Watchdog Timer Low-Voltage, SOT23, µP Supervisors with Power-Fail In/Out, Manual Reset, and Watchdog Timer

631-25_386558.PDF Datasheet

 
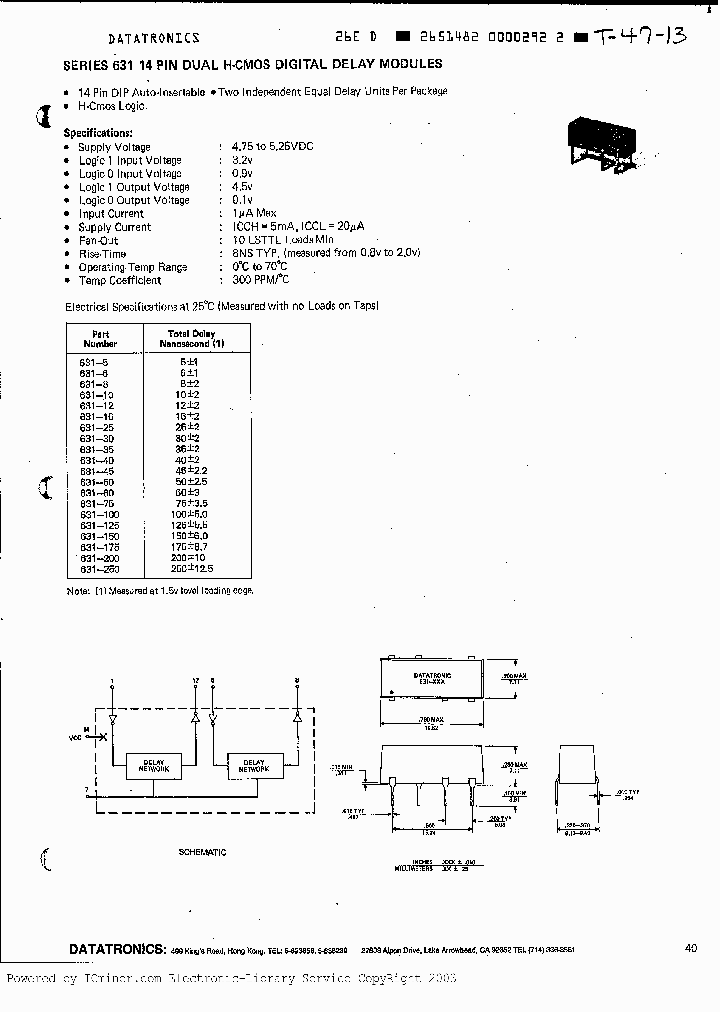
Part No. 631-25 631-30 631-5 631-60 631-35 631-45 631-75 631-16 631-10 631-12 631-50 631-8 631-125 631-150 631-200 631-40 631-175 631-100
Description Logic IC
Low-Voltage, SOT23, µP Supervisors with Power-Fail In/Out, Manual Reset, and Watchdog Timer
Low-Voltage, SOT23, µP Supervisors with Power-Fail In/Out, Manual Reset, and Watchdog Timer

File Size 31.05K  /  1 Page  

Maker

N/A



Homepage
Download [ ]
[ 631-25 631-30 631-5 631-60 631-35 631-45 631-75 631-16 631-10 631-12 631-50 631-8 631-125 631-150 63 Datasheet PDF Downlaod from Datasheet.HK ]
[631-25 631-30 631-5 631-60 631-35 631-45 631-75 631-16 631-10 631-12 631-50 631-8 631-125 631-150 63 Datasheet PDF Downlaod from Maxim4U.com ] :-)


[ View it Online ]   [ Search more for 631-25 ]

[ Price & Availability of 631-25 by FindChips.com ]

 Full text search : Logic IC Low-Voltage, SOT23, µP Supervisors with Power-Fail In/Out, Manual Reset, and Watchdog Timer Low-Voltage, SOT23, µP Supervisors with Power-Fail In/Out, Manual Reset, and Watchdog Timer
 Product Description search : Logic IC Low-Voltage, SOT23, µP Supervisors with Power-Fail In/Out, Manual Reset, and Watchdog Timer Low-Voltage, SOT23, µP Supervisors with Power-Fail In/Out, Manual Reset, and Watchdog Timer


 Related Part Number
PART Description Maker
MAX6821 MAX6822 MAX6823 MAX6824 MAX6825 MAX6823SUK 2.93 V, low-power mP supervisor with manual reset and watchdog timer
Low-Voltage SOT23 ?? Supervisors with Manual Reset and Watchdog Timer
Low-Voltage SOT23 μP Supervisors with Manual Reset and Watchdog Timer
Low-Voltage SOT23 P Supervisors with Manual Reset and Watchdog Timer
Low-Voltage SOT23 ?P Supervisors with Manual Reset and Watchdog Timer
Low-Voltage SOT23 レP Supervisors with Manual Reset and Watchdog Timer
8-Bit Shift Registers With Input Latches 20-LCCC -55 to 125
Low-Voltage SOT23 µP Supervisors with Manual Reset and Watchdog Timer 1-CHANNEL POWER SUPPLY SUPPORT CKT, PDSO5
2.63 V, low-power mP supervisor with manual reset and watchdog timer
MAXIM INTEGRATED PRODUCTS INC
MAXIM[Maxim Integrated Products]
Maxim Integrated Products, Inc.
MAXIM - Dallas Semiconductor
MAX6001 MAX6001EUR-T MAX6002 MAX6002EUR-T MAX6003 Low-Cost Low-Power Low-Dropout SOT23-3 Voltage References
" Low-Cost, Low-Power, Low-Dropout, SOT23-3 Voltage References"
Low-Cost / Low-Power / Low-Dropout / SOT23-3 Voltage References
Circular Connector; MIL SPEC:MIL-C-5015 E/F/R; Body Material:Metal; Series:MS3106E; Number of Contacts:3; Connector Shell Size:20; Connecting Termination:Solder; Circular Shell Style:Straight Plug; Body Style:Straight
MAXIM - Dallas Semiconductor
MAXIM[Maxim Integrated Products]
MAXIM INTEGRATED PRODUCTS INC
MAX6380 MAX6380R33-T MAX6380R34-T MAX6380R35-T MAX    3-Pin, Ultra-Low-Power SC70/SOT23 Voltage Detectors
Ultra-low-power voltage detector, 2.4V
Ultra-low-power voltage detector, 2.8V
Ultra-low-power voltage detector, 3.4V
Ultra-low-power voltage detector, 3.3V
Ultra-low-power voltage detector, 4.2V
3-Pin, Ultra-Low-Power SC70/SOT23 Voltage Detectors 1-CHANNEL POWER SUPPLY SUPPORT CKT, PDSO3
2-W Stereo Audio Power Amplifier with DirectPath(TM) Headphone and Regulator 32-QFN -40 to 85
50-mW Ultra Low-Voltage Stereo Headphone Audio Amplifier 8-MSOP -40 to 85
3-Pin Ultra-Low-Power SC70/SOT23 Voltage Detectors
" 3-Pin, Ultra- Low-Power, SC70 Voltage Detector"
"3-Pin, Ultra- Low-Power, SC70 Voltage Detector"
3-Pin / Ultra-Low-Power SC70/SOT23 Voltage Detectors
Ultra-low-power voltage detector, 4.1V
Ultra-low-power voltage detector, 3.9V
Ultra-low-power voltage detector, 3.6V
Ultra-low-power voltage detector, 3.7V
Ultra-low-power voltage detector, 2.2V
Ultra-low-power voltage detector, 3.0V
Ultra-low-power voltage detector, 4.6V
MAXIM INTEGRATED PRODUCTS INC
Maxim Integrated Products, Inc.
MAXIM[Maxim Integrated Products]
MAXIM - Dallas Semiconductor
Maxim Integrated Produc...
632-30 632-12 632-45 632-200 632-50 632-150 632-40 Low-Voltage, SOT23, µP Supervisors with Power-Fail In/Out, Manual Reset, and Watchdog Timer
Logic IC 逻辑IC
Low-Voltage, SOT23, µP Supervisors with Power-Fail In/Out, Manual Reset, and Watchdog Timer 逻辑IC
Dialight PLC
MAX1733 MAX1733EUK MAX1733EUK-T MAX1734EUK-T MAX17 From old datasheet system
Low-Voltage Step-Down DC-DC Converters in SOT23
Low-Voltage, Step-Down DC-DC Converters in SOT23
Low-Voltage / Step-Down DC-DC Converters in SOT23
Maxim Integrated Produc...
MAXIM[Maxim Integrated Products]
MAXIM - Dallas Semiconductor
GLT41316-50J3 GLT41316-50FC GLT41316-12P GLT41316- 30ppm/C Drift, 3.9uA, SOT23-3, SC70-3 Voltage Reference 3-SOT-23 -40 to 125 64K的16的CMOS动态RAM的快速页面模
64K X 16 CMOS DYNAMIC RAM WITH FAST PAGE MODE 64K的16的CMOS动态RAM的快速页面模
3.0V 100ppm/Degrees C, 50uA in SOT23-3 Series (Bandgap) Voltage Reference 3-SOT-23 -40 to 125
30ppm/C Drift, 3.9uA, SOT23-3, SC70-3 Voltage Reference 3-SC70 -40 to 125
2.5V 50ppm/Degrees C, 50uA in SOT23-3 Series (Bandgap) Voltage Reference 3-SOT-23 -40 to 125
20ppm/Degrees C Max, 100uA, SOT23-3 Series Voltage Reference 3-SOT-23 -40 to 125
3.3V 100ppm/Degrees C, 50uA in SOT23-3 Series (Bandgap) Voltage Reference 3-SOT-23 -40 to 125
4.096V 50ppm/Degrees C, 50uA in SOT23-3 Series (Bandgap) Voltage Reference 3-SOT-23 -40 to 125
3.3V 50ppm/Degrees C, 50uA in SOT23-3 Series (Bandgap) Voltage Reference 3-SOT-23 -40 to 125
1.25V 4ppm/Degrees C, 100uA SOT23-6 Series (Bandgap) Voltage Reference 6-SOT-23 -40 to 125
2.048 4ppm/Degrees C, 100uA SOT23-6 Series (Bandgap) Voltage Reference 6-SOT-23 -40 to 125
4.096V 4ppm/Degrees C, 100uA SOT23-6 Series (Bandgap) Voltage Reference 6-SOT-23 -40 to 125
2.5V 4ppm/Degrees C, 100uA SOT23-6 Series (Bandgap) Voltage Reference 6-SOT-23 -40 to 125
3.3V 4ppm/Degrees C, 100uA SOT23-6 Series (Bandgap) Voltage Reference 6-SOT-23 -40 to 125
2.048V 50ppm/Degrees C, 50uA in SOT23-3 Series (Bandgap) Voltage Reference 3-SOT-23 -40 to 125
3.0V 50ppm/Degrees C, 50uA in SOT23-3 Series (Bandgap) Voltage Reference 3-SOT-23 -40 to 125
3.0V 4ppm/Degrees C, 100uA SOT23-6 Series (Bandgap) Voltage Reference 6-SOT-23 -40 to 125
Enhanced Product 4 Ppm/Degreesc 100 Ua Sot23-6 Series Voltage References 6-SOT-23 -55 to 125
Electronic Theatre Controls, Inc.
http://
List of Unclassifed Manufacturers
MAX5712 MAX5712EUT MAX5712AUT 12-Bit / Low-Power / Rail-to-Rail Voltage-Output Serial DAC in SOT23
From old datasheet system
Digital to Analog Converter - Datasheet Reference
12-Bit, Low-Power, Rail-to-Rail Voltage-Output Serial DAC in SOT23
12-Bit Low-Power Rail-to-Rail Voltage-Output Serial DAC in SOT23
"12-Bit, Low-Power, Rail-to-Rail Voltage- Output Serial DAC in SOT23"
Maxim Integrated Products Inc
MAXIM[Maxim Integrated Products]
MAX6012-BMAX6050 MAX6012-MAX6050 MAX6012BEUR-T MAX Precision, Low-Power, Low-Dropout, SOT23-3 Voltage References 1-OUTPUT THREE TERM VOLTAGE REFERENCE, 4.5 V, PDSO3
Maxim Integrated Produc...
http://
Maxim Integrated Products, Inc.
MAXIM[Maxim Integrated Products]
MAXIM - Dallas Semiconductor
MAX4173TESA MAX4173F-MAX4173T MAX4173FESA MAX4173F From old datasheet system
Low-Cost, SOT23, Voltage-Output, High-Side Current-Sense Amplifier
Low-Cost, SOT23, Voltage-Output,High-Side Current-Sense Amplifier(低成SOT23,电压输出,高边电流感应放大
Low-Cost / SOT23 / Voltage-Output / High-Side Current-Sense Amplifier
MAXIM - Dallas Semiconductor
MAXIM[Maxim Integrated Products]
Maxim Integrated Products, Inc.
441-0100-10-01 441-0100-05-01 441-0100-01 Dual/Triple Ultra-Low-Voltage SOT23 µP Supervisory Circuits
CABLE GAC4/1 5M
Dual/Triple Ultra-Low-Voltage SOT23 µP Supervisory Circuits 电缆GAC4 / 1 100
NEC, Corp.
43A-030A 43A-010A 43A-015G 43A-030G 43A-015A 43A-0 Dual/Triple Ultra-Low-Voltage SOT23 µP Supervisory Circuits
Signal Conditioner
Dual/Triple Ultra-Low-Voltage SOT23 µP Supervisory Circuits 信号调理
Switchcraft, Inc.
 
 Related keyword From Full Text Search System
631-25 Series 631-25 search 631-25 ultra 631-25 amp 631-25 技术参数
631-25 mosfet 631-25 molex 631-25 hitachi 631-25 circuit diagram 631-25 Corporate
 

 

Price & Availability of 631-25

All Rights Reserved © IC-ON-LINE 2003 - 2022  

[Add Bookmark] [Contact Us] [Link exchange] [Privacy policy]
Mirror Sites :  [www.datasheet.hk]   [www.maxim4u.com]  [www.ic-on-line.cn] [www.ic-on-line.com] [www.ic-on-line.net] [www.alldatasheet.com.cn] [www.gdcy.com]  [www.gdcy.net]


 . . . . .
  We use cookies to deliver the best possible web experience and assist with our advertising efforts. By continuing to use this site, you consent to the use of cookies. For more information on cookies, please take a look at our Privacy Policy. X
0.077444076538086