Part Number Hot Search : 
TA1073A 233R3C 74LVCH MAX1243 IN74HC1 G4BC30 2SK68 BGY683
Product Description
Full Text Search

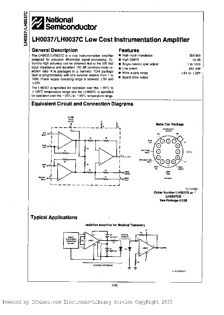
LH0037 - Instrumentation AmpResistor-Programmable

LH0037_335461.PDF Datasheet

 
Part No. LH0037
Description Instrumentation AmpResistor-Programmable

File Size 103.38K  /  3 Page  

Maker

N/A



JITONG TECHNOLOGY
(CHINA HK & SZ)
Datasheet.hk's Sponsor

Part: LH0032
Maker: LH
Pack: CAN
Stock: 180
Unit price for :
    50: $23.26
  100: $22.10
1000: $20.94

Email: oulindz@gmail.com

Contact us

Homepage
Download [ ]
[ LH0037 Datasheet PDF Downlaod from Datasheet.HK ]
[LH0037 Datasheet PDF Downlaod from Maxim4U.com ] :-)


[ View it Online ]   [ Search more for LH0037 ]

[ Price & Availability of LH0037 by FindChips.com ]

 Full text search : Instrumentation AmpResistor-Programmable
 Product Description search : Instrumentation AmpResistor-Programmable


 Related Part Number
PART Description Maker
AMP-01AX/883 AMP-01BX/883 Instrumentation AmpResistor-Programmable 仪表放大器,电阻可编
Advanced Micro Devices, Inc.
AD82311 AD8231-EVALZ AD8231ACPZ-R7 AD8231ACPZ-WP A Zero Drift, Digitally Programmable Instrumentation Amplifier INSTRUMENTATION AMPLIFIER, 15 uV OFFSET-MAX, 1 MHz BAND WIDTH, QCC16
Analog Devices, Inc.
ANALOG DEVICES INC
52301 INSTRUMENTATION AMPLIFIER (PRELIMINARY) INSTRUMENTATION AMPLIFIER, 8000 uV OFFSET-MAX, 0.8 MHz BAND WIDTH, DIP14
Micropac Industries, Inc.
MICROPAC[Micropac Industries]
AD8225-EVAL AD8225AR-REEL AD8225AR    Precision Gain of 5 Instrumentation Amplifier
Precision Gain of 5 Instrumentation Amplifier INSTRUMENTATION AMPLIFIER, 325 uV OFFSET-MAX, 0.9 MHz BAND WIDTH, PDSO8
Analog Devices, Inc.
AD622ARZ-RL AD622ARZ-RL7 AD622ANZ AD622ARZ-R7 Low Cost Instrumentation Amplifier; Package: SOIC; No of Pins: 8; Temperature Range: Industrial INSTRUMENTATION AMPLIFIER, 125 uV OFFSET-MAX, 1 MHz BAND WIDTH, PDSO8
Analog Devices, Inc.
LT1102_07 LT1102 LT1102ACH LT1102ACN8 LT1102AMH LT High Speed, Precision, JFET Input Instrumentation Amplifier (Fixed Gain = 10 or 100); Package: PDIP; No of Pins: 8; Temperature Range: -40°C to 85°C INSTRUMENTATION AMPLIFIER, 2000 uV OFFSET-MAX, 3.5 MHz BAND WIDTH, PDIP8
Linear Technology, Corp.
LINER[Linear Technology]
LT1789CS8-10-PBF LT1789IS8-10-PBF LT1789CS8-10-TR Micropower, Single Supply Rail-to-Rail Output Instrumentation Amplifiers
Micropower, Single Supply Rail-to-Rail Output Instrumentation Amplifier; Package: SO; No of Pins: 8; Temperature Range: 0°C to 70°C INSTRUMENTATION AMPLIFIER, 100 uV OFFSET-MAX, 0.06 MHz BAND WIDTH, PDSO8
Micropower, Single Supply Rail-to-Rail Output Instrumentation Amplifier; Package: SO; No of Pins: 8; Temperature Range: -40°C to 85°C INSTRUMENTATION AMPLIFIER, 160 uV OFFSET-MAX, PDSO8
Linear Technology, Corp.
LTC6800HDDTR LTC6800HMS8TR Rail-to-Rail Input and Output, Instrumentation Amplifier; Package: DFN; No of Pins: 8; Temperature Range: -40° to 125°C INSTRUMENTATION AMPLIFIER, 100 uV OFFSET-MAX, PDSO8
Rail-to-Rail Input and Output, Instrumentation Amplifier; Package: MSOP; No of Pins: 8; Temperature Range: -40° to 125°C
Linear Technology, Corp.
LINEAR TECHNOLOGY CORP
AD8235ACBZ-P7 AD8235 40 μA Micropower Instrumentation Amplifier in WLCSP Package
40 渭A Micropower Instrumentation Amplifier in WLCSP Package
40 楼矛A Micropower Instrumentation Amplifier in WLCSP Package
http://
Analog Devices
MAX4460-MAX4462 MAX4460 MAX4462HEUT-T MAX4462UEUT- SOT23, 3V/5V, SINGLE-SUPPLY, RAIL-TO-RAIL INSTRUMENTATION AMPLIFIERS
SOT23 3V/5V Single-Supply Rail-to-Rail Instrumentation Amplifiers
SOT23 / 3V/5V / Single-Supply / Rail-to-Rail Instrumentation Amplifiers
From old datasheet system
MAXIM - Dallas Semiconductor
MAXIM[Maxim Integrated Products]
LDP200-120 Instrumentation Equipment
Bel Fuse Inc.
 
 Related keyword From Full Text Search System
LH0037 Command LH0037 mosi program LH0037 Megabit LH0037 usb circuit diagram LH0037 free down
LH0037 использование LH0037 price LH0037 Step LH0037 Semiconductors LH0037 IC DATA SHET
 

 

Price & Availability of LH0037

All Rights Reserved © IC-ON-LINE 2003 - 2022  

[Add Bookmark] [Contact Us] [Link exchange] [Privacy policy]
Mirror Sites :  [www.datasheet.hk]   [www.maxim4u.com]  [www.ic-on-line.cn] [www.ic-on-line.com] [www.ic-on-line.net] [www.alldatasheet.com.cn] [www.gdcy.com]  [www.gdcy.net]


 . . . . .
  We use cookies to deliver the best possible web experience and assist with our advertising efforts. By continuing to use this site, you consent to the use of cookies. For more information on cookies, please take a look at our Privacy Policy. X
0.032989025115967