Part Number Hot Search : 
TS925IN 04018 SC768110 CL432VS 1Z7AA ASSL108 D4140PL 52RA1B1
Product Description
Full Text Search

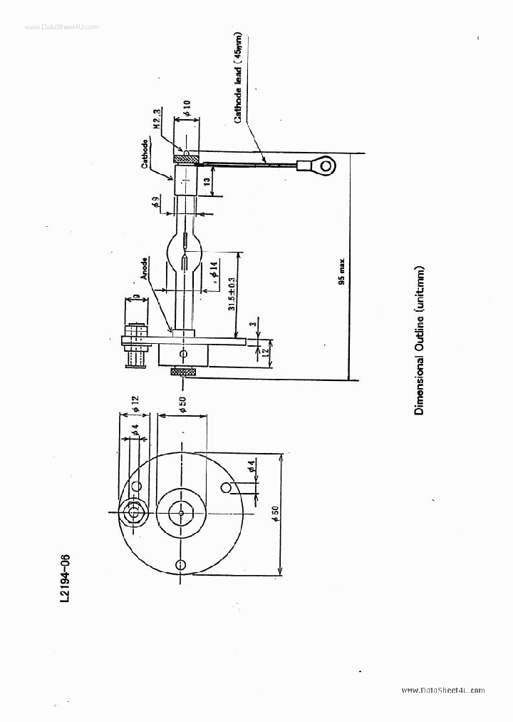
L2194-06 - LED

L2194-06_200589.PDF Datasheet


 Full text search : LED
 Product Description search : LED


 Related Part Number
PART Description Maker
LG5411-NR LG5411-Q LG5411-QT LG5411-R LG5411-S LO5 5 mm T1 3/4 LED/ Non Diffused Super-Bright LED
SUPERBRIGHT T1(5mm) LED LAMP
5 mm T1 3/4 LED / Non Diffused Super-Bright LED
5 mm T1 3/4 LED Non Diffused Super-Bright LED
5 mm T1 3/4 LED, Non Diffused Super-Bright LED 5毫米T1 3 / 4的LED,非扩散超高亮度发光二极
5 mm T1 3/4 LED, Non Diffused Super-Bright LED T-1 3/4 SINGLE COLOR LED, GREEN, 5 mm
http://
SIEMENS[Siemens Semiconductor Group]
SIEMENS AG
Q62703-Q1789 Q62703-Q1702 LG3330 LG3330-L Q62703-Q 3 mm (T1) LED/ Non Diffused
T1(3mm) LED LAMP
3 mm (T1) LED Non Diffused
3 mm (T1) LED, Non Diffused 3毫米T1)的LED,非漫射
3 mm (T1) LED, Non Diffused T-1 SINGLE COLOR LED, SUPER RED, 3 mm
3 mm (T1) LED, Non Diffused T-1 SINGLE COLOR LED, YELLOW, 3 mm
3 mm (T1) LED, Non Diffused 3毫米(T1)的LED,非漫射
3 mm (T1) LED, Non Diffused T-1 SINGLE COLOR LED, GREEN, 3 mm
SIEMENS[Siemens Semiconductor Group]
SIEMENS AG
Siemens Semiconductor G...
Q62703-Q0576 Q62703-Q1003 Q62703-Q0759 Q62703-Q057 ARGUS LED 3 mm T1 LED Non Diffused
ARGUS LED 3 mm T1 LED/ Non Diffused
Circular Connector; Body Material:Aluminum Alloy; Series:KPSE07; No. of Contacts:32; Connector Shell Size:18; Connecting Termination:Crimp; Circular Shell Style:Jam Nut Receptacle; Circular Contact Gender:Socket RoHS Compliant: No
452802201
Fail-Safe Floating Electrode MLCC / FE-CAP / X7R Dielectric; Capacitance [nom]: 0.022uF; Working Voltage (Vdc)[max]: 200V; Capacitance Tolerance
ARGUS LED 3 mm T1 LED, Non Diffused SINGLE COLOR LED, YELLOW, 3 mm
ARGUS LED 3 mm T1 LED, Non Diffused 阿格毫米T1的LED发光二极管,非漫
SIEMENS[Siemens Semiconductor Group]
SIEMENS AG
SIEMENS A G
AS1101_AS1102_AS1103 AS1104 AS1101 AS1102 AS1103 Low-Dropout LED Drivers LED DISPLAY DRIVER, PDSO6
白色、蓝色或其它颜色 LED 双路驱动器
AMSCO[austriamicrosystems AG]
HLMP-2500 HLCP-A100 HLCP-B100 HLCP-C100 HLCP-D100 HLMP-2300 · LED Light Bars
HLCP-H100 · LED Light Bars
HLCP-G100 · LED Light Bars
HLCP-A100 · LED Light Bars
HLCP-F100 · LED Light Bars
HLMP-2685-EF000 · LED Light Bars
HLCP-E100 · LED Light Bars
HLCP-D100 · LED Light Bars
HLCP-C100 · LED Light Bars
HLCP-B100 · LED Light Bars
HLMP-2950 · LED Light Bars
HLMP-2965 · LED Light Bars
HLMP-2635 · LED Light Bars
HLMP-2600 · LED Light Bars
HLMP-2620 · LED Light Bars
HLMP-2720 · LED Light Bars
HLMP-2820 · LED Light Bars
HLMP-2700 · LED Light Bars
HLMP-2735 · LED Light Bars
HLMP-2885-FG000 · LED Light Bars
HLMP-2855-FG000 · LED Light Bars
HLMP-2835 · LED Light Bars
HLMP-2720-EF000 · LED Light Bars
HLMP-2620-EF000 · LED Light Bars
HLCP-H100-BC000 · LED Light Bars
HLCP-E100-BC000 · LED Light Bars
HLCP-D100-BC000 · LED Light Bars
HLCP-C100-BC000 · LED Light Bars
HLCP-A100-BC000 · LED Light Bars
HLMP-2870-FG000 · LED Light Bars
HLCP-B100-BC000 · LED Light Bars
HLMP-2550-FG000 · LED Light Bars
HLMP-2820-FG000 · LED Light Bars
HLMP-2755-EF000 · LED Light Bars
HLMP-2655-EF000 · LED Light Bars
HLMP-2500-FG000 · LED Light Bars
HLMP-2700-EF000 · LED Light Bars
HLMP-2600-EF000 · LED Light Bars
HLMP-2400-EF000 · LED Light Bars
HLMP-2300-EF000 · LED Light Bars
HLMP-2450-EF000 · LED Light Bars
HLMP-2350-EF000 · LED Light Bars
350-MHz Low-Noise Voltage-Feedback Amplifier, Dual 8-MSOP-PowerPAD -40 to 85
100-MHz Low Noise Voltage-Feedback Amplifier 8-SOIC 0 to 70
LED Light Bars LED灯酒
http://
Agilent (Hewlett-Packard)
HP[Agilent(Hewlett-Packard)]
Fairchild Semiconductor, Corp.
609-1312-120 609-2312-120 609-1212-130 609-1112-14 LED PNL MT 9MM 6V CHROME YELLOW SINGLE COLOR LED, YELLOW, 6.1 mm
LED PNL MT 9MM 6V CHROME YELLOW SINGLE COLOR LED, YELLOW, 8.89 mm
LED Lamp; LED Color:Green; Luminous Intensity:110ucd; Forward Current:15mA; Forward Voltage:12VDC; Operating Temperature Range:-25 C to C; Color:Green; Leaded Process Compatible:No; Lens Color:Green RoHS Compliant: No SINGLE COLOR LED, GREEN, 6.1 mm
SINGLE COLOR LED, RED, 6.1 mm
Dialight PLC
DIALIGHT CORP
559-1301-001F 559-5101-003F 559-5301-003F 559-5101 T-1 3/4 SINGLE COLOR LED, GREEN, 5 mm
T-1 3/4 SINGLE COLOR LED, YELLOW, 5 mm
LED Lamp; LED Color:Red; Luminous Intensity:34ucd; Forward Current:20mA; Forward Voltage:2.1V; Color:Red RoHS Compliant: Yes T-1 3/4 SINGLE COLOR LED, RED, 5 mm
T-1 3/4 SINGLE COLOR LED, ORANGE, 5 mm
Dialight PLC
Q62703-Q3833 Q62703-Q2345 Q62703-Q3858 LG5469-EH L LC 5 mm T1 3/4 LED Diffused Low Current LED
LC 5 mm T1 3/4 LED, Diffused Low Current LED 立法毫米T1 3 / 4的LED,扩散低电流LED
LC 5 mm T1 3/4 LED, Diffused Low Current LED 立法5毫米T1 3 / 4的LED,扩散低电流LED
LC 5 mm T1 3/4 LED, Diffused Low Current LED T-1 3/4 SINGLE COLOR LED, YELLOW, 5 mm
LC 5 mm T1 3/4 LED, Diffused Low Current LED T-1 3/4 SINGLE COLOR LED, GREEN, 5 mm
SIEMENS[Siemens Semiconductor Group]
SIEMENS AG
DDP-SJS-NP2-1-I3 DDP-SJS-P1 DDP-SJS-P2 DDP-SJS-N2 LED SINGLE COLOR LED, PURE GREEN
LED 发光二极
DOMINANT Opto Technologies Sdn Bhd.
DOMINANT Opto Technologies Sdn. Bhd.
550-5607 550-0707 550-2307 550-5707 550-0207 550-0 5mm LED CBI Circuit Board Indicator Sloped Back Housing with Standoffs
LED 5MM RT ANG SUP CLR YEL PCMNT T-1 3/4 SINGLE COLOR LED, SUPER BRIGHT YELLOW, 5 mm
T-1 3/4 SINGLE COLOR LED, RED, 5 mm
Dialight Corporation
Dialight PLC
3XL7090RO-L100-O3-P-001 3XL7090RY-L100-D4-14-001 3 SINGLE COLOR LED, REDDISH ORANGE
SINGLE COLOR LED, ROYAL BLUE
SINGLE COLOR LED, GREEN
SINGLE COLOR LED, CYAN
SINGLE COLOR LED, WHITE
SINGLE COLOR LED, BLUE
SINGLE COLOR LED, AMBER
Cree, Inc.
CREE INC
HSMF-A222-A00J1 HSMF-A331-A00J1 HSMF-A228-A00J1 HS HSMF-A222-A00J1 · Surface Mount LED Indicator
HSMF-A331-A00J1 · Surface Mount LED Indicator
HSMF-A228-A00J1 · Surface Mount LED Indicator
HSMF-A205-A00J1 · Surface Mount LED Indicator
HSMF-A204-A00J1 · Surface Mount LED Indicator
HSMF-A201-A00J1 · Surface Mount LED Indicator
HSMF-A301-A00J1 · Surface Mount LED Indicator
HSMF-A202-A00J1 · Surface Mount LED Indicator
HSMF-A203-A00J1 · Surface Mount LED Indicator
HSMF-A211-A00J1 · Surface Mount LED Indicator
HSMF-A341-A00J1 · Surface Mount LED Indicator
HSMF-A212-A00J1 · Surface Mount LED Indicator
HSMF-A227-A00J1 · Surface Mount LED Indicator
HSMF-A332-A00J1 · Surface Mount LED Indicator
HSMF-A206-A00J1 · Surface Mount LED Indicator
HSMF-A342-A00J1 · Surface Mount LED Indicator
Agilent (Hewlett-Packard)
 
 Related keyword From Full Text Search System
L2194-06 Reference L2194-06 availability L2194-06 panasonic L2194-06 image sensor L2194-06 替换
L2194-06 reset L2194-06 filtran xfmr L2194-06 port L2194-06 port L2194-06 high-speed usb
 

 

Price & Availability of L2194-06

All Rights Reserved © IC-ON-LINE 2003 - 2022  

[Add Bookmark] [Contact Us] [Link exchange] [Privacy policy]
Mirror Sites :  [www.datasheet.hk]   [www.maxim4u.com]  [www.ic-on-line.cn] [www.ic-on-line.com] [www.ic-on-line.net] [www.alldatasheet.com.cn] [www.gdcy.com]  [www.gdcy.net]


 . . . . .
  We use cookies to deliver the best possible web experience and assist with our advertising efforts. By continuing to use this site, you consent to the use of cookies. For more information on cookies, please take a look at our Privacy Policy. X
0.039721965789795