Part Number Hot Search : 
2SC2223 00BZXC IC16F8 U4072B BF840 R1910T IRF720A IR01H420
Product Description
Full Text Search

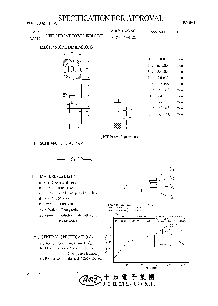
SS6038100ML - SHIELDED SMD POWER INDUCTOR

SS6038100ML_4590909.PDF Datasheet

 
Part No. SS6038100ML SS6038470ML SS6038471ML SS60384R7ML SS6038101ML SS6038102ML SS6038151ML SS6038150ML SS60381R0ML SS60381R5ML SS6038220ML SS6038221ML SS60382R2ML SS6038330ML SS6038331ML SS60383R3ML SS6038680ML SS6038681ML SS60386R8ML
Description SHIELDED SMD POWER INDUCTOR

File Size 131.87K  /  8 Page  

Maker


ABC Taiwan Electronics Corp



Homepage http://www.atec-group.com
Download [ ]
[ SS6038100ML SS6038470ML SS6038471ML SS60384R7ML SS6038101ML SS6038102ML SS6038151ML SS6038150ML SS60 Datasheet PDF Downlaod from Datasheet.HK ]
[SS6038100ML SS6038470ML SS6038471ML SS60384R7ML SS6038101ML SS6038102ML SS6038151ML SS6038150ML SS60 Datasheet PDF Downlaod from Maxim4U.com ] :-)


[ View it Online ]   [ Search more for SS6038100ML ]

[ Price & Availability of SS6038100ML by FindChips.com ]

 Full text search : SHIELDED SMD POWER INDUCTOR
 Product Description search : SHIELDED SMD POWER INDUCTOR


 Related Part Number
PART Description Maker
SDR0602-181KL SDR0602-390KL SDR0602-820KL SDR0602- MAGNETICS- NON-SHIELDED POWER INDUCTO-LF 1 ELEMENT, 180 uH, FERRITE-CORE, GENERAL PURPOSE INDUCTOR, SMD
MAGNETICS- NON-SHIELDED POWER INDUCTO-LF 1 ELEMENT, 39 uH, FERRITE-CORE, GENERAL PURPOSE INDUCTOR, SMD
MAGNETICS- NON-SHIELDED POWER INDUCTO-LF 1 ELEMENT, 82 uH, FERRITE-CORE, GENERAL PURPOSE INDUCTOR, SMD
MAGNETICS- NON-SHIELDED POWER INDUCTO-LF 1 ELEMENT, 47 uH, FERRITE-CORE, GENERAL PURPOSE INDUCTOR, SMD
MAGNETICS- NON-SHIELDED POWER INDUCTO-LF 1 ELEMENT, 120 uH, FERRITE-CORE, GENERAL PURPOSE INDUCTOR, SMD
MAGNETICS- NON-SHIELDED POWER INDUCTO-LF 1 ELEMENT, 68 uH, FERRITE-CORE, GENERAL PURPOSE INDUCTOR, SMD
MAGNETICS- NON-SHIELDED POWER INDUCTO-LF 1 ELEMENT, 10 uH, FERRITE-CORE, GENERAL PURPOSE INDUCTOR, SMD
MAGNETICS- NON-SHIELDED POWER INDUCTO-LF 1 ELEMENT, 12 uH, FERRITE-CORE, GENERAL PURPOSE INDUCTOR, SMD
MAGNETICS- NON-SHIELDED POWER INDUCTO-LF 1 ELEMENT, 33 uH, FERRITE-CORE, GENERAL PURPOSE INDUCTOR, SMD
MAGNETICS- NON-SHIELDED POWER INDUCTO-LF 1 ELEMENT, 56 uH, FERRITE-CORE, GENERAL PURPOSE INDUCTOR, SMD
MAGNETICS- NON-SHIELDED POWER INDUCTO-LF 1 ELEMENT, 27 uH, FERRITE-CORE, GENERAL PURPOSE INDUCTOR, SMD
MAGNETICS- NON-SHIELDED POWER INDUCTO-LF 1 ELEMENT, 4.7 uH, FERRITE-CORE, GENERAL PURPOSE INDUCTOR, SMD
MAGNETICS- NON-SHIELDED POWER INDUCTO-LF 1 ELEMENT, 270 uH, FERRITE-CORE, GENERAL PURPOSE INDUCTOR, SMD
MAGNETICS- NON-SHIELDED POWER INDUCTO-LF 1 ELEMENT, 390 uH, FERRITE-CORE, GENERAL PURPOSE INDUCTOR, SMD
MAGNETICS- NON-SHIELDED POWER INDUCTO-LF 1 ELEMENT, 2.7 uH, FERRITE-CORE, GENERAL PURPOSE INDUCTOR, SMD
MAGNETICS- NON-SHIELDED POWER INDUCTO-LF 1 ELEMENT, 3.9 uH, FERRITE-CORE, GENERAL PURPOSE INDUCTOR, SMD
Power Inductor; Series:SDR0602; Inductance:100uH; Inductance Tolerance: /- 10 %; Q Factor:50; Self Resonant Frequency:7MHz; Package/Case:470; Terminal Type:PCB Surface Mount; Core Material:Ferrite DQ; Current Rating:0.32A
Bourns, Inc.
BOURNS INC
PM7232S-R72M-RC PM7232S-R47M-RC INDUCTOR SHIELDED PWR 0.72UH SMD 1 ELEMENT, 0.72 uH, IRON-CORE, GENERAL PURPOSE INDUCTOR, SMD
INDUCTOR SHIELDED PWR 0.47UH SMD
Bourns, Inc.
BOURNS INC
CR32 CR43 CR5D11 CR54-4R4MC CR54-3R3MC CR54-5R6MC 1 ELEMENT, 1 uH, GENERAL PURPOSE INDUCTOR, SMD
1 ELEMENT, 390 uH, GENERAL PURPOSE INDUCTOR, SMD
1 ELEMENT, 150 uH, GENERAL PURPOSE INDUCTOR, SMD
1 ELEMENT, 1.8 uH, GENERAL PURPOSE INDUCTOR, SMD
INDUCTOR POWER 15UH 1.30A SMD 1 ELEMENT, 15 uH, GENERAL PURPOSE INDUCTOR, SMD
INDUCTOR POWER 68UH 0.61A SMD 1 ELEMENT, 68 uH, GENERAL PURPOSE INDUCTOR, SMD
INDUCTOR POWER 2.7UH 3.44A SMD 1 ELEMENT, 2.7 uH, GENERAL PURPOSE INDUCTOR, SMD
INDUCTOR POWER 3.9UH 3.00A SMD 1 ELEMENT, 3.9 uH, GENERAL PURPOSE INDUCTOR, SMD
INDUCTOR POWER 5.6UH 2.48A SMD 1 ELEMENT, 5.6 uH, GENERAL PURPOSE INDUCTOR, SMD
INDUCTOR POWER 3.3UH 3.20A SMD 1 ELEMENT, 3.3 uH, GENERAL PURPOSE INDUCTOR, SMD
INDUCTOR POWER 4.4UH 2.80A SMD 1 ELEMENT, 4.4 uH, GENERAL PURPOSE INDUCTOR, SMD
XCCCPOWER INDUCTORS
XCCCPOWER INDUCTORS Type
1 ELEMENT, 180 uH, GENERAL PURPOSE INDUCTOR, SMD
Sumida, Corp.
SUMIDA CORPORATION.
SUMIDA[Sumida Corporation]
SRR1206-5R0ML SRR1206-121YL SRR1206-150ML SRR1206- Shielded High Power Inductors 1 ELEMENT, 39 uH, FERRITE-CORE, GENERAL PURPOSE INDUCTOR, SMD
Shielded High Power Inductors 1 ELEMENT, 56 uH, FERRITE-CORE, GENERAL PURPOSE INDUCTOR, SMD
Shielded High Power Inductors 1 ELEMENT, 18 uH, FERRITE-CORE, GENERAL PURPOSE INDUCTOR, SMD
Shielded High Power Inductors 1 ELEMENT, 82 uH, FERRITE-CORE, GENERAL PURPOSE INDUCTOR, SMD
Shielded High Power Inductors 1 ELEMENT, 390 uH, FERRITE-CORE, GENERAL PURPOSE INDUCTOR, SMD
Shielded High Power Inductors 1 ELEMENT, 1500 uH, FERRITE-CORE, GENERAL PURPOSE INDUCTOR, SMD
Shielded High Power Inductors 1 ELEMENT, 180 uH, FERRITE-CORE, GENERAL PURPOSE INDUCTOR, SMD
Shielded High Power Inductors 1 ELEMENT, 560 uH, FERRITE-CORE, GENERAL PURPOSE INDUCTOR, SMD
Shielded High Power Inductors 1 ELEMENT, 1000 uH, FERRITE-CORE, GENERAL PURPOSE INDUCTOR, SMD
Shielded High Power Inductors 1 ELEMENT, 470 uH, FERRITE-CORE, GENERAL PURPOSE INDUCTOR, SMD
Shielded High Power Inductors 1 ELEMENT, 2.5 uH, FERRITE-CORE, GENERAL PURPOSE INDUCTOR, SMD
Bourns Inc.
Bourns, Inc.
SDS850R-563M SDS850R-562N SDS850R-392N SDS850R-184 INDUCTOR PWR SHIELDED 56UH SMD 1 ELEMENT, 56 uH, FERRITE-CORE, GENERAL PURPOSE INDUCTOR, SMD
INDUCTOR PWR SHIELDED 5.6UH SMD 1 ELEMENT, 5.6 uH, FERRITE-CORE, GENERAL PURPOSE INDUCTOR, SMD
INDUCTOR PWR SHIELDED 3.9UH SMD 1 ELEMENT, 3.9 uH, FERRITE-CORE, GENERAL PURPOSE INDUCTOR, SMD
INDUCTOR PWR SHIELDED 180UH SMD 1 ELEMENT, 180 uH, FERRITE-CORE, GENERAL PURPOSE INDUCTOR, SMD
API Delevan
SRR0805-8R2M SRR0805-2R2M SRR0805-120M SRR0805-150 Shielded Power Inductor 1 ELEMENT, 39 uH, FERRITE-CORE, GENERAL PURPOSE INDUCTOR, SMD
Shielded Power Inductor 1 ELEMENT, 8.2 uH, FERRITE-CORE, GENERAL PURPOSE INDUCTOR, SMD
Shielded Power Inductor 1 ELEMENT, 180 uH, FERRITE-CORE, GENERAL PURPOSE INDUCTOR, SMD
Shielded Power Inductor 1 ELEMENT, 270 uH, FERRITE-CORE, GENERAL PURPOSE INDUCTOR, SMD
Bourns Inc.
Bourns, Inc.
S1210R-151K S1210R-563K S1210R-222K S1210R-393K S1 Shielded Surface Mount Inductors
INDUCTOR SHIELDED 4.7UH SMD 1 ELEMENT, 4.7 uH, FERRITE-CORE, GENERAL PURPOSE INDUCTOR, SMD
INDUCTOR SHIELDED 1.5UH SMD 1 ELEMENT, 1.5 uH, FERRITE-CORE, GENERAL PURPOSE INDUCTOR, SMD
1 ELEMENT, 33 uH, FERRITE-CORE, GENERAL PURPOSE INDUCTOR, SMD
1 ELEMENT, 3.9 uH, FERRITE-CORE, GENERAL PURPOSE INDUCTOR, SMD
API Delevan
HI330S-100MB HI330S-100KTQ HI330S-100KTW HI330S-10 1 ELEMENT, 33 uH, GENERAL PURPOSE INDUCTOR, SMD
1 ELEMENT, 10 uH, GENERAL PURPOSE INDUCTOR, SMD
1 ELEMENT, 1000 uH, GENERAL PURPOSE INDUCTOR, SMD
POWER SM INDUCTORS, UP TO 20 AMPS SHIELDED AND NON-SHIELDED
RCD COMPONENTS INC.
SDR1305-102K MAGNETICS - NON-SHIELDED POWER INDUCTOR 1 ELEMENT, 1000 uH, FERRITE-CORE, GENERAL PURPOSE INDUCTOR, SMD
Bourns, Inc.
1812FS-102L 1812FS-474L 1812FS-103L 1812FS-104L 18 Filter Inductors
Inductor, shielded, 10% tol, SMT, RoHS 1 ELEMENT, 39 uH, CERAMIC-FERRITE-CORE, GENERAL PURPOSE INDUCTOR, SMD
Inductor, shielded, 5% tol, SMT, RoHS 1 ELEMENT, 330 uH, CERAMIC-FERRITE-CORE, GENERAL PURPOSE INDUCTOR, SMD
Inductor, shielded, 5% tol, SMT, RoHS 1 ELEMENT, 2.7 uH, CERAMIC-FERRITE-CORE, GENERAL PURPOSE INDUCTOR, SMD
Inductor, shielded, 5% tol, SMT, RoHS 1 ELEMENT, 270 uH, CERAMIC-FERRITE-CORE, GENERAL PURPOSE INDUCTOR, SMD
Inductor, shielded, 10% tol, SMT, RoHS 1 ELEMENT, 2.4 uH, CERAMIC-FERRITE-CORE, GENERAL PURPOSE INDUCTOR, SMD
Inductor, shielded, 10% tol, SMT, RoHS 1 ELEMENT, 820 uH, CERAMIC-FERRITE-CORE, GENERAL PURPOSE INDUCTOR, SMD
Inductor, shielded, 5% tol, SMT, RoHS 1 ELEMENT, 820 uH, CERAMIC-FERRITE-CORE, GENERAL PURPOSE INDUCTOR, SMD
Inductor, shielded, 10% tol, SMT, RoHS 1 ELEMENT, 1 uH, CERAMIC-FERRITE-CORE, GENERAL PURPOSE INDUCTOR, SMD
Inductor, shielded, 5% tol, SMT, RoHS 1 ELEMENT, 150 uH, CERAMIC-FERRITE-CORE, GENERAL PURPOSE INDUCTOR, SMD
Inductor, shielded, 5% tol, SMT, RoHS 1 ELEMENT, 3.9 uH, CERAMIC-FERRITE-CORE, GENERAL PURPOSE INDUCTOR, SMD
Inductor, shielded, 5% tol, SMT, RoHS 1 ELEMENT, 100 uH, CERAMIC-FERRITE-CORE, GENERAL PURPOSE INDUCTOR, SMD
1 ELEMENT, 47 uH, CERAMIC-FERRITE-CORE, GENERAL PURPOSE INDUCTOR, SMD
1 ELEMENT, 15 uH, CERAMIC-FERRITE-CORE, GENERAL PURPOSE INDUCTOR, SMD
1 ELEMENT, 1.5 uH, CERAMIC-FERRITE-CORE, GENERAL PURPOSE INDUCTOR, SMD
Coilcraft lnc.
http://
Coilcraft, Inc.
COILCRAFT INC
 
 Related keyword From Full Text Search System
SS6038100ML molex SS6038100ML 参数查询 SS6038100ML データシート SS6038100ML fairchild SS6038100ML Package
SS6038100ML データシート SS6038100ML Source SS6038100ML microsemi SS6038100ML package SS6038100ML mosfet
 

 

Price & Availability of SS6038100ML

All Rights Reserved © IC-ON-LINE 2003 - 2022  

[Add Bookmark] [Contact Us] [Link exchange] [Privacy policy]
Mirror Sites :  [www.datasheet.hk]   [www.maxim4u.com]  [www.ic-on-line.cn] [www.ic-on-line.com] [www.ic-on-line.net] [www.alldatasheet.com.cn] [www.gdcy.com]  [www.gdcy.net]


 . . . . .
  We use cookies to deliver the best possible web experience and assist with our advertising efforts. By continuing to use this site, you consent to the use of cookies. For more information on cookies, please take a look at our Privacy Policy. X
0.062175989151001