Part Number Hot Search : 
74HCT75D UQFN84 M3210 EP1551 AELKF1 WTM2310A ADUM5000 LM310
Product Description
Full Text Search

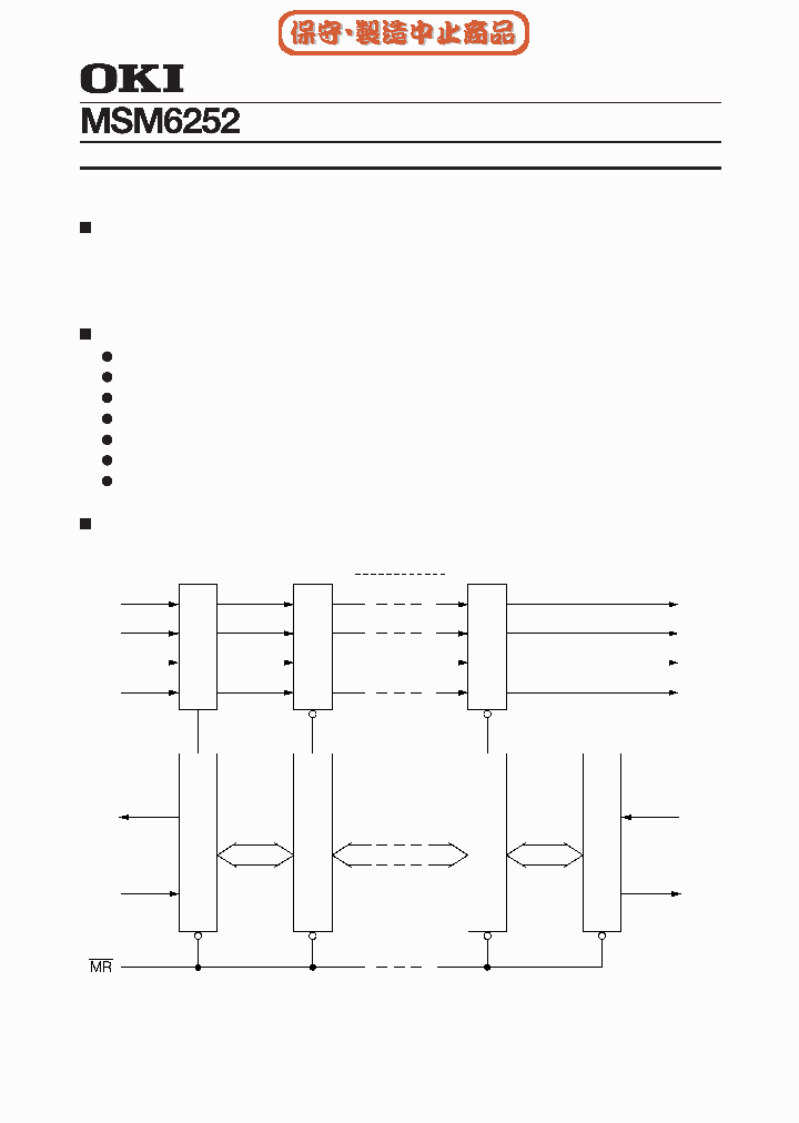
MSM6252 - 64words X Bit FIFO

MSM6252_1037192.PDF Datasheet

 
Part No. MSM6252
Description 64words X Bit FIFO

File Size 146.44K  /  12 Page  

Maker

OKI SEMICONDUCTOR CO., LTD.



JITONG TECHNOLOGY
(CHINA HK & SZ)
Datasheet.hk's Sponsor

Part: MSM6255
Maker: OKI
Pack: SMD
Stock: Reserved
Unit price for :
    50: $7.38
  100: $7.02
1000: $6.65

Email: oulindz@gmail.com

Contact us

Homepage
Download [ ]
[ MSM6252 Datasheet PDF Downlaod from Datasheet.HK ]
[MSM6252 Datasheet PDF Downlaod from Maxim4U.com ] :-)


[ View it Online ]   [ Search more for MSM6252 ]

[ Price & Availability of MSM6252 by FindChips.com ]

 Full text search : 64words X Bit FIFO
 Product Description search : 64words X Bit FIFO


 Related Part Number
PART Description Maker
MSM6252 64words X Bit FIFO
OKI electronic componets
72T1845L4-4BBG 72T1855L4-4BBGI 72T18115L4-4BBG IDT 2K X 18 OTHER FIFO, 3.4 ns, PBGA144
4K X 18 OTHER FIFO, 3.4 ns, PBGA144
256K X 18 OTHER FIFO, 3.4 ns, PBGA240
2.5 VOLT HIGH-SPEED TeraSync?FIFO 18-BIT/9-BIT CONFIGURATIONS
INTEGRATED DEVICE TECHNOLOGY INC
List of Unclassifed Man...
IDT72V14320L10BBI IDT72V14320L10BBI8 IDT72V15320L1 3.3V MULTIMEDIA FIFO 16 BIT V-III, 32 BIT Vx-III FAMILY UP TO 1 Mb DENSITY
16K x 16 Multimedia FIFO, 3.3V
8K x 16 Multimedia FIFO, 3.3V
32K x 16 Multimedia FIFO, 3.3V
4K x 32 Multimedia FIFO, 3.3V
32K x 32 Multimedia FIFO, 3.3V
16K x 32 Multimedia FIFO, 3.3V
8K x 32 Multimedia FIFO, 3.3V
1K x 32 Multimedia FIFO, 3.3V
Integrated Device Techn...
IDT
IDT72V7230 IDT72V7240L15BB IDT72V7230L10BB 512 X 72 SuperSync II FIFO, 3.3V
1K x 72 SuperSync II FIFO, 3.3V
3.3 VOLT HIGH-DENSITY SUPERSYNC II 72-BIT FIFO
IDT
Integrated Device Technology
AM7200-35RC AM7200-35JC AM7200-35PC AM7200-50JC AM HIGH DENSITY FIRST-IN FIRST-OUT (FIFO) 256 X 9-BIT CMOS MEMORY 256 X 9 OTHER FIFO, 25 ns, PDIP28
HIGH DENSITY FIRST-IN FIRST-OUT (FIFO) 256 X 9-BIT CMOS MEMORY 256 X 9 OTHER FIFO, 50 ns, PDIP28
Circular Connector; No. of Contacts:13; Series:MS27508; Body Material:Aluminum; Connecting Termination:Crimp; Connector Shell Size:10; Circular Contact Gender:Socket; Circular Shell Style:Box Mount Receptacle RoHS Compliant: No
JT 13C 13#22D PIN WALL RECP
ADVANCED MICRO DEVICES INC
Advanced Micro Devices, Inc.
IDT72T7295L6BBI IDT72T72115L6BBI IDT72T72105L4BB I 2.5 VOLT HIGH-SPEED TeraSyncTM FIFO 72-BIT CONFIGURATIONS 2.5伏高速TeraSyncTM FIFO72位配
2.5 VOLT HIGH-SPEED TeraSyncTM FIFO 72-BIT CONFIGURATIONS 16K X 72 OTHER FIFO, 4.5 ns, PBGA324
Integrated Device Technology, Inc.
74HC7030 74HCT7030 9-bit x 64-word FIFO register; 3-state
9-bit x 64-word FIFO register;3-state(64x9-先进先出寄存器;(三态))
9-bit x 64-word FIFO register 3-state
NXP Semiconductors
Philips
CY7C425-65DC CY7C425-65KMB CY7C424-65DC CY7C429-25 1K X 9 OTHER FIFO, 30 ns, PDIP28
1K X 9 OTHER FIFO, 30 ns, PQCC32
x9 Asynchronous FIFO
CYPRESS SEMICONDUCTOR CORP
IDT72T72105L4-4BB IDT72T72115L4-4BB IDT72T7285L4-4 64K x 72 TeraSync FIFO, 2.5V - Best Value!
128K x 72 TeraSync FIFO, 2.5V - Best Value!
16K x 72 TeraSync FIFO, 2.5V - Best Value!
32K x 72 TeraSync FIFO, 2.5V - Best Value!
IDT
M66255FP M66255E 8192 x 10-BIT LINE MEMORY (FIFO)
From old datasheet system
8192 10-BIT LINE MEMORY (FIFO)
MITSUBISHI[Mitsubishi Electric Semiconductor]
IDT72361320PFI IDT723613L30PF IDT72361320PQF IDT72 64 x 36 SyncFIFO, 5.0V
CMOS Clocked FIFO With Bus Matching and Byte Swapping 64 x 36 64 X 36 OTHER FIFO, 15 ns, PQFP132
CMOS Clocked FIFO With Bus Matching and Byte Swapping 64 x 36 64 X 36 OTHER FIFO, 12 ns, PQFP132
64 X 36 OTHER FIFO, 10 ns, PQFP132 PLASTIC, QFP-132
Single Low-Power Operational Amplifier 5-SOT-23 -40 to 85
High-Slew-Rate, Single-Supply Operational Amplifier 8-SOIC 0 to 70
IDT
Integrated Device Technology, Inc.
 
 Related keyword From Full Text Search System
MSM6252 data MSM6252 Data sheet MSM6252 high-speed usb MSM6252 amp MSM6252 digital ic
MSM6252 Digital MSM6252 taping code MSM6252 gaas MSM6252 search MSM6252 huck
 

 

Price & Availability of MSM6252

All Rights Reserved © IC-ON-LINE 2003 - 2022  

[Add Bookmark] [Contact Us] [Link exchange] [Privacy policy]
Mirror Sites :  [www.datasheet.hk]   [www.maxim4u.com]  [www.ic-on-line.cn] [www.ic-on-line.com] [www.ic-on-line.net] [www.alldatasheet.com.cn] [www.gdcy.com]  [www.gdcy.net]


 . . . . .
  We use cookies to deliver the best possible web experience and assist with our advertising efforts. By continuing to use this site, you consent to the use of cookies. For more information on cookies, please take a look at our Privacy Policy. X
0.41430592536926