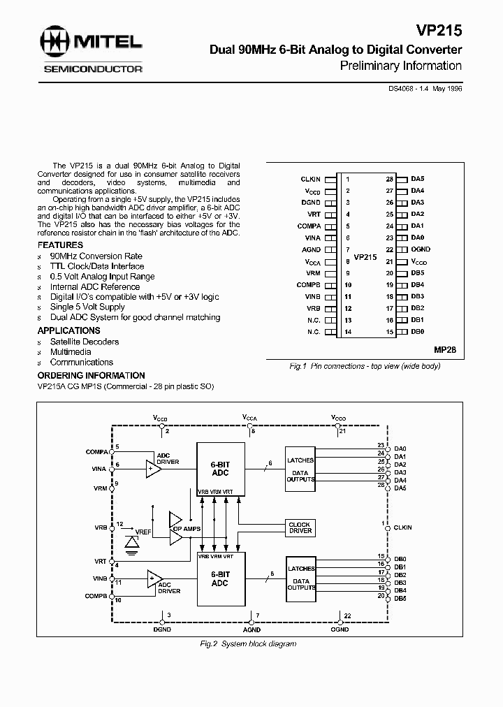
Part Number Hot Search : 
2545CT MR24SC1 333ML 10500 4805D 092315 IDT2305 LP701
Product Description
Full Text Search

352 - From old datasheet system

352_967423.PDF Datasheet

 
Part No. 352
Description From old datasheet system

File Size 100.73K  /  7 Page  

Maker

N/A



JITONG TECHNOLOGY
(CHINA HK & SZ)
Datasheet.hk's Sponsor

Part: 3525M-H
Maker: National(国半)
Pack: SOP8
Stock: 117
Unit price for :
    50: $0.52
  100: $0.49
1000: $0.47

Email: oulindz@gmail.com

Contact us

Homepage
Download [ ]
[ 352 Datasheet PDF Downlaod from Datasheet.HK ]
[352 Datasheet PDF Downlaod from Maxim4U.com ] :-)


[ View it Online ]   [ Search more for 352 ]

[ Price & Availability of 352 by FindChips.com ]

 Full text search : From old datasheet system
 Product Description search : From old datasheet system


 Related Part Number
PART Description Maker
BA3940A A5800926 Regulator LSIs > System regulator > BA392X/BA393X/BA394X/BA395X/BA396X series
From old datasheet system
System power supply for CD radio cassette players 系统CD收音录音机的电源
Rohm CO.,LTD.
Rohm Co., Ltd.
MT9M112 From old datasheet system
1/4-Inch, 1.3 Megapixel CMOS Image Sensor System-on-Chip
MICRON[Micron Technology]
BA3870 A5801030 From old datasheet system
BBS (bass boost system) for radio cassette players
ROHM[Rohm]
STPCC5HEBC STPCC5HEBI STPCC4HEBI STPCCONSUMER-II S From old datasheet system
X86 Core PC Compatible Information Appliance System-on-Chip
STMICROELECTRONICS[STMicroelectronics]
LC75396NE 1890 Single-Chip Electronic Volume Control System
CMOS IC
From old datasheet system
Sanyo Semicon Device
LTC1289 LTC1289BC LTC1289BCJ LTC1289BCN LTC1289BCS From old datasheet system
3 Volt Single Chip 12-Bit Data Acquisition System
LINER[Linear Technology]
LTC1287 LTC1287BC LTC1287BCJ LTC1287BCN LTC1287BI From old datasheet system
3V Single Chip 12-Bit Data Acquisition System
LINER[Linear Technology]
MM1106 System Reset (with watchdog timer battery back-up)
From old datasheet system
MITSUMI
SA616DK SA616 From old datasheet system
Low-voltage high performance mixer FM IF system
PHILIPS[Philips Semiconductors]
NXP Semiconductors
XC95288-10BG352C XC95288-10BG352I XC95288-10HQ208C XC95288 In-System Programmable CPLD
Product Specification
From old datasheet system
XILINX[Xilinx, Inc]
PSD4235G2 Flash In-System-Programmable Peripherals for 16-Bit MCUs
From old datasheet system
WSI
 
 Related keyword From Full Text Search System
352 philips 352 specs 352 bus 352 Integrated 352 Derating Rule
352 example commands 352 Matsushita 352 for sale 352 Timer 352 替换表
 

 

Price & Availability of 352

All Rights Reserved © IC-ON-LINE 2003 - 2022  

[Add Bookmark] [Contact Us] [Link exchange] [Privacy policy]
Mirror Sites :  [www.datasheet.hk]   [www.maxim4u.com]  [www.ic-on-line.cn] [www.ic-on-line.com] [www.ic-on-line.net] [www.alldatasheet.com.cn] [www.gdcy.com]  [www.gdcy.net]


 . . . . .
  We use cookies to deliver the best possible web experience and assist with our advertising efforts. By continuing to use this site, you consent to the use of cookies. For more information on cookies, please take a look at our Privacy Policy. X
0.07256293296814