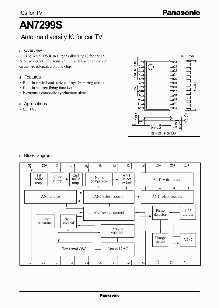
Part Number Hot Search : 
MTZJ22B BC243 K2954 TMP88FW MMBD4 SMBJ36A TC387 S2020
Product Description
Full Text Search

0335 - From old datasheet system

0335_961552.PDF Datasheet

 
Part No. 0335
Description From old datasheet system

File Size 51.11K  /  5 Page  

Maker

N/A



JITONG TECHNOLOGY
(CHINA HK & SZ)
Datasheet.hk's Sponsor

Part: 033GA2019434B2SA
Maker: GENESIS
Pack: PLCC
Stock: 431
Unit price for :
    50: $6.65
  100: $6.31
1000: $5.98

Email: oulindz@gmail.com

Contact us

Homepage
Download [ ]
[ 0335 Datasheet PDF Downlaod from Datasheet.HK ]
[0335 Datasheet PDF Downlaod from Maxim4U.com ] :-)


[ View it Online ]   [ Search more for 0335 ]

[ Price & Availability of 0335 by FindChips.com ]

 Full text search : From old datasheet system
 Product Description search : From old datasheet system


 Related Part Number
PART Description Maker
BA1450S A5801016 Audio LSIs > High frequency signal processing > Tuner system
AM radio / FM IF stereo system IC
From old datasheet system
ROHM[Rohm]
TC9309AF-119 EE08717 SINGLE CHIP DIGITAL TUNING SYSTEM FOR CD RADIO CASSETTE
From old datasheet system
Toshiba
TA8865 TA8865BN E004021 From old datasheet system
PLL MULTI PIF/SIF SYSTEM FOR COLOR TV AND VCR
TOSHIBA[Toshiba Semiconductor]
LTC1095 LT1095 Complete 10-Bit Data Acquisition System with On Board Reference
From old datasheet system
Linear
LA7975 From old datasheet system
PAL SIF Converter Circuit for TV and VCR Multi-system
SANYO[Sanyo Semicon Device]
IPM6220 FN4903 Multi-Output System Electronics Regulator for Mobile PCs
From old datasheet system
Intersil
SA606D SA606DK SA606 Low-voltage high performance mixer FM IF system
From old datasheet system
PHILIPS[Philips Semiconductors]
PMB8680 Dual-Band RF Transceiver for WLAN System Solutions
From old datasheet system
Infineon Technologies A...
INFINEON[Infineon Technologies AG]
MM1106 System Reset (with watchdog timer battery back-up)
From old datasheet system
MITSUMI
XC95288-10BG352C XC95288-10BG352I XC95288-10HQ208C XC95288 In-System Programmable CPLD
Product Specification
From old datasheet system
XILINX[Xilinx, Inc]
BA3918 A5800865 System Power Supply for Car Stereos(汽车立体声的系统电源)
From old datasheet system
Rohm CO.,LTD.
ROHM[Rohm]
 
 Related keyword From Full Text Search System
0335 电子元件中文资料网站 0335 Instrument 0335 Circuit 0335 specs 0335 receiver
0335 Port 0335 Battery MCU 0335 接腳圖 0335 Technolog 0335 receptacle
 

 

Price & Availability of 0335

All Rights Reserved © IC-ON-LINE 2003 - 2022  

[Add Bookmark] [Contact Us] [Link exchange] [Privacy policy]
Mirror Sites :  [www.datasheet.hk]   [www.maxim4u.com]  [www.ic-on-line.cn] [www.ic-on-line.com] [www.ic-on-line.net] [www.alldatasheet.com.cn] [www.gdcy.com]  [www.gdcy.net]


 . . . . .
  We use cookies to deliver the best possible web experience and assist with our advertising efforts. By continuing to use this site, you consent to the use of cookies. For more information on cookies, please take a look at our Privacy Policy. X
0.39083313941956