Part Number Hot Search : 
BLM21PG JANTXV AM79535 2N4327 D1431 KE250 C4514 41060
Product Description
Full Text Search

HD14012 - Dual 4-input NAND Gates(??杈??涓????

HD14012_851193.PDF Datasheet

 
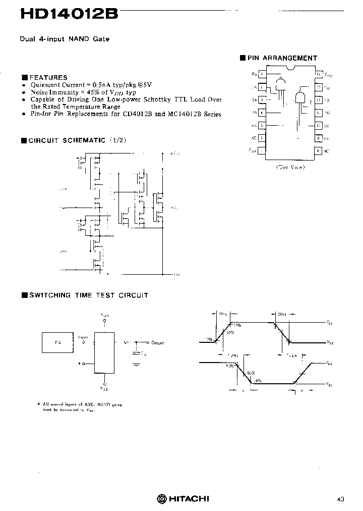
Part No. HD14012 HD14012B
Description Dual 4-input NAND Gates(??杈??涓????

File Size 60.42K  /  6 Page  

Maker


Hitachi,Ltd.
Hitachi Semiconductor



JITONG TECHNOLOGY
(CHINA HK & SZ)
Datasheet.hk's Sponsor

Part: HD14012BP
Maker: HITACHI(日立)
Pack: DIP
Stock: 186
Unit price for :
    50: $0.26
  100: $0.25
1000: $0.23

Email: oulindz@gmail.com

Contact us

Homepage http://www.renesas.com/eng/
Download [ ]
[ HD14012 HD14012B Datasheet PDF Downlaod from Datasheet.HK ]
[HD14012 HD14012B Datasheet PDF Downlaod from Maxim4U.com ] :-)


[ View it Online ]   [ Search more for HD14012 ]

[ Price & Availability of HD14012 by FindChips.com ]

 Full text search : Dual 4-input NAND Gates(??杈??涓????
 Product Description search : Dual 4-input NAND Gates(??杈??涓????


 Related Part Number
PART Description Maker
MMC4011 MMC4012 MMC4023 Dual 4-input NAND gate
Quad 2-input NAND gate
(MMC4012) NAND GATES
Microelectronica
Micro Electronics
74LS01 HD74LS01 Quad. 2-input NAND Gates with Open Collector output
Quadruple 2-input Positive NAND Gates(with Open Collector Outputs)
STANDARD GAIN HORN; WAVEGUIDE SIZE: WR102; FREQUENCY RANGE: 7.00-11.00; GAIN: 15 dB 输入正与非门(与集电极开路输出)
HITACHI[Hitachi Semiconductor]
Hitachi,Ltd.
HD74LS20 HD74LS20RPEL HD74LS20P HD74LS20FPEL Dual 4-input Positive NAND Gates
Renesas Electronics Corporation
HD74LV20A Dual 4-input Positive NAND Gates
HITACHI[Hitachi Semiconductor]
DM74ALS20A DM74ALS20AM DM74ALS20AN DM74ALS20AMX Dual 4-Input NAND Gates
From old datasheet system
FAIRCHILD[Fairchild Semiconductor]
HD74LS00P HD74LS00 HD74LS00FPEL HD74LS00RPEL LS SERIES, QUAD 2-INPUT NAND GATE, PDIP14
Quadruple 2-Input NAND Gates
Renesas Electronics Corporation
MC14082BDR2G MC14011 MC14071BCP MC1408 MC14001BCPG    B-Suffix Series CMOS Gates
IEEE 802.3af PoE HIGH POWER PD CONTROLLER 8-SO PowerPAD -40 to 85
Triple 3-Input NOR Gate
Quad 2-Input AND Gate
Dual-Slot Cardbus Power-Interface Switches for Serial PCMCIA Controllers 24-HTSSOP -40 to 85
B-SUFFIX SERIES CMOS GATES 4000/14000/40000 SERIES, TRIPLE 3-INPUT AND GATE, PDIP14
B-Suffix Series CMOS Gates 后缀系列CMOS
B-SUFFIX SERIES CMOS GATES 4000/14000/40000 SERIES, QUAD 2-INPUT NOR GATE, PDSO14
B-SUFFIX SERIES CMOS GATES 4000/14000/40000 SERIES, QUAD 2-INPUT NAND GATE, PDIP14
Motorola, Inc
ONSEMI[ON Semiconductor]
TC395CL TC390 TC390AL TC390CL TC391 TC391AL TC391C DUAL INTERFACE BUFFERS / DUAL 2-INPUT NAND/AND/OR/NOR / DUAL 4-INPUT AND/NAND WITH EXPANDER
High Noise Immunity Logic
Electronic Theatre Controls, Inc.
List of Unclassifed Manufacturers
ETC[ETC]
Microsemi
DM74S140 74S140 Dual 4-Input NAND 50з Line Driver
From old datasheet system
Dual 4-Input NAND 50Ω Line Driver
Dual 4-Input NAND 50 Line Driver
Dual 4-Input NAND 50-Ohm Line Driver
FAIRCHILD[Fairchild Semiconductor]
TC395 (TC390 - TC395) DUAL INTERFACE BUFFERS / DUAL 2-INPUT NAND/AND/OR/NOR / DUAL 4-INPUT AND/NAND
Sertech
 
 Related keyword From Full Text Search System
HD14012 Electronic HD14012 lead HD14012 china datasheet HD14012 rectifier HD14012 Regulator
HD14012 stock HD14012 watt HD14012 schottky HD14012 filetype:pdf HD14012 display
 

 

Price & Availability of HD14012

All Rights Reserved © IC-ON-LINE 2003 - 2022  

[Add Bookmark] [Contact Us] [Link exchange] [Privacy policy]
Mirror Sites :  [www.datasheet.hk]   [www.maxim4u.com]  [www.ic-on-line.cn] [www.ic-on-line.com] [www.ic-on-line.net] [www.alldatasheet.com.cn] [www.gdcy.com]  [www.gdcy.net]


 . . . . .
  We use cookies to deliver the best possible web experience and assist with our advertising efforts. By continuing to use this site, you consent to the use of cookies. For more information on cookies, please take a look at our Privacy Policy. X
0.17110204696655