Part Number Hot Search : 
2SK2192 BS108 MAX9125 ZMDK55W PLCD5582 MSL2042 SST108 PAR30
Product Description
Full Text Search

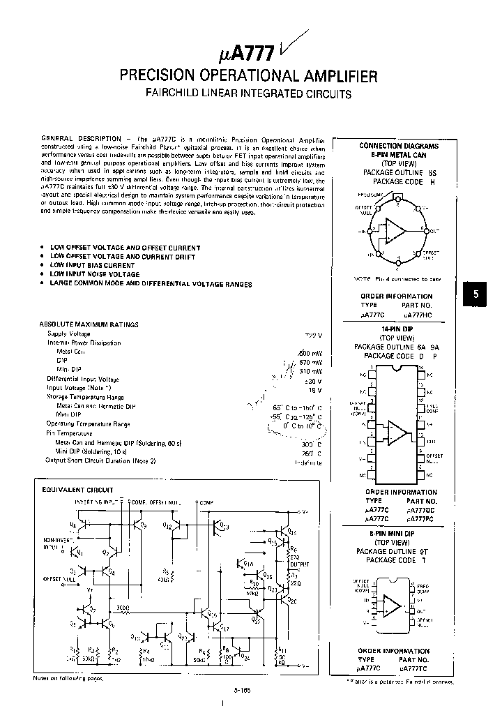
UA777 - Precision Operational Amplifier

UA777_494533.PDF Datasheet

 
Part No. UA777 UA777C UA777DC UA777HC UA777TC UA777PC
Description Precision Operational Amplifier

File Size 362.91K  /  6 Page  

Maker


http://
FAIRCHILD[Fairchild Semiconductor]



JITONG TECHNOLOGY
(CHINA HK & SZ)
Datasheet.hk's Sponsor

Part: UA771ARC
Maker: FAIRCHIL..
Pack: DIP-8
Stock: 112
Unit price for :
    50: $13.85
  100: $13.15
1000: $12.46

Email: oulindz@gmail.com

Contact us

Homepage http://www.fairchildsemi.com/
Download [ ]
[ UA777 UA777C UA777DC UA777HC UA777TC UA777PC Datasheet PDF Downlaod from Datasheet.HK ]
[UA777 UA777C UA777DC UA777HC UA777TC UA777PC Datasheet PDF Downlaod from Maxim4U.com ] :-)


[ View it Online ]   [ Search more for UA777 ]

[ Price & Availability of UA777 by FindChips.com ]

 Full text search : Precision Operational Amplifier
 Product Description search : Precision Operational Amplifier


 Related Part Number
PART Description Maker
IDT54FCT138ATSO IDT54FCT138ATSOB IDT74FCT138ATSO I Enhanced JFET Low-Power Precision Operational Amplifier 8-PDIP 0 to 70
Adjustable Precision Shunt Regulator 5-SOT-23 -40 to 85 快速CMOS 1 - 8解码器,使能
Enhanced JFET Low-Power Precision Operational Amplifier 8-SOIC 0 to 70 快速CMOS 1 - 8解码器,使能
Enhanced JFET Low-Power Precision Operational Amplifier 8-SOIC 0 to 70 FCT SERIES, OTHER DECODER/DRIVER, INVERTED OUTPUT, CDIP16
FAST CMOS 1-OF-8 DECODER WITH ENABLE 快速CMOS 1 - 8解码器,使能
IDT[Integrated Device Technology]
Integrated Device Technology, Inc.
LT1002M LT1002ACN Dual, Matched Precision Operational Amplifier DUAL OP-AMP, 100 uV OFFSET-MAX, 0.8 MHz BAND WIDTH, PDIP14
Dual, Matched Precision Operational Amplifier 双路,精密运算放大器匹配
Linear Technology Corporation
Linear Technology, Corp.
AD8661ACPZ-R2 AD8661ACPZ-REEL AD8661ACPZ-REEL7 AD8 16 V Precision Quad CMOS Rail - to - Rail Operational Amplifier; Package: TSSOP; No of Pins: 14; Temperature Range: Industrial QUAD OP-AMP, 1200 uV OFFSET-MAX, 4 MHz BAND WIDTH, PDSO14
Low Noise, Precision 16 V CMOS, Rail-to-Rail Operational Amplifiers
Analog Devices, Inc.
LTC1536 LTC1536C LTC1536CMS8 LTC1536CS8 LTC1536I L Advanced LinEPIC Self-Calibrating (Self-Cal) Precision Single Operational Amplifier 8-SOIC
Precision Triple Supply Monitor for PCI Applications
Linear Technology Corporation
LINER[Linear Technology]
29W040 M29W040 M29W040-120K5TR M29W040-100K5TR M29 4 Mbit 512Kb x8 / Uniform Block Low Voltage Single Supply Flash Memory
Excalibur Low-Noise High-Speed Precision Operational Amplifier 8-SOIC
Dual Low-Noise High-Speed Precision Operational Amplifier 8-SOIC
High Speed High Drive Precision Operational Amplifier 8-CDIP -55 to 125
Excalibur Low-Noise High-Speed Precision Dual Operational Amplifier 8-SOIC
High Speed High Drive Precision Dual Operational Amplifier 8-CDIP -55 to 125
; Capacitance:180pF; Capacitance Tolerance: /- 5 %; Working Voltage, DC:300V; Package/Case:1210; Series:SQ; Dielectric Material:Ceramic; Leaded Process Compatible:Yes; Mounting Type:PCB Surface Mount
High Speed High Drive Precision Dual Operational Amplifier 20-LCCC -55 to 125 4兆位512KB的8,统一座低电压单电源闪
CAP RF 2.0PF 250V 0603 SMD 4兆位512KB的8,统一座低电压单电源闪
4 Mbit 512Kb x8, Uniform Block Low Voltage Single Supply Flash Memory 4兆位512KB的8,统一座低电压单电源闪
CAP RF 27PF 250V 0603 SMD 4兆位512KB的8,统一座低电压单电源闪
CAP RF 1.8PF 250V 0603 SMD 4兆位512KB的8,统一座低电压单电源闪
CAP RF 24PF 250V 0603 SMD 4兆位512KB的8,统一座低电压单电源闪
CAP RF 22PF 250V 0603 SMD 4兆位512KB的8,统一座低电压单电源闪
High Speed High Drive Precision Dual Operational Amplifier 8-SOIC
CAP RF 1.0PF 250V 0603 SMD
Excalibur Low-Noise High-Speed Precision Operational Amplifier 8-PDIP 0 to 70
Dual Low-Noise High-Speed Precision Operational Amplifier 8-PDIP
512K X 8 FLASH 3V PROM, 150 ns, PQCC32
512K X 8 FLASH 3V PROM, 200 ns, PDSO32
512K X 8 FLASH 3V PROM, 120 ns, PQCC32
意法半导
STMicroelectronics N.V.
OP193 OP293 OP493 OP193ES-REEL OP193ES-REEL7 OP293 Precision / Micropower Operational Amplifiers
Precision, Micropower Operational Amplifiers OP-AMP, 175 uV OFFSET-MAX, 0.035 MHz BAND WIDTH, PDSO8
Precision, Micropower Operational Amplifiers DUAL OP-AMP, 350 uV OFFSET-MAX, 0.035 MHz BAND WIDTH, PDSO8
Precision, Micropower Operational Amplifiers OP-AMP, 250 uV OFFSET-MAX, 0.035 MHz BAND WIDTH, PDSO8
Analog Devices, Inc.
ANALOG DEVICES INC
HA-5170 HA-517000 8MHz, Precision, JFET Input Operational Amplifier(8MHz 精密JFET运算放大
8MHz, Precision, JFET Input Operational Amplifier
Op Amp, 8MHz, Precision, JFET Input, Unity Gain
Intersil Corporation
LT1002 LT1002A LT1002AC LT1002ACJ LT1002ACN LT1002 Dual / Matched Precision Operational Amplifier
Dual, Matched Precision Operational Amplifier
From old datasheet system
LINER[Linear Technology]
CXA1314 CXA1314P CXA1414 CXA1414P Dual Precision Operational Amplifier 8-SOIC -40 to 85
From old datasheet system
Video Swich Compatible with 1 C Bus
VIDEO SWITCH COMPATIBLE WITH I2C BUS
Dual Precision Operational Amplifier 8-SOIC 0 to 70 视频切换与I2C总线兼容
SONY[Sony Corporation]
Sony, Corp.
OP-15FH LT0015 OP-16GN8 OP-15 OP-15A OP-15AH OP-15 OP-AMP, 3000 uV OFFSET-MAX, 7.2 MHz BAND WIDTH, PDIP8 PLASTIC, DIP-8
Precision, High Speed JFET-Input Operational Amplifiers OP-AMP, 3000 uV OFFSET-MAX, 5.4 MHz BAND WIDTH, MBCY8
Precision, High Speed JFET-Input Operational Amplifiers OP-AMP, 3000 uV OFFSET-MAX, 7.2 MHz BAND WIDTH, PDIP8
Precision, High Speed JFET-Input Operational Amplifiers OP-AMP, 500 uV OFFSET-MAX, 8 MHz BAND WIDTH, MBCY8
Precision, High Speed JFET-Input Operational Amplifiers OP-AMP, 3000 uV OFFSET-MAX, 7.2 MHz BAND WIDTH, MBCY8
Precision, High Speed JFET-Input Operational Amplifiers OP-AMP, 1000 uV OFFSET-MAX, 7.6 MHz BAND WIDTH, MBCY8
Precision / High Speed JFET-Input Operational Amplifiers
From old datasheet system
Linear Technology, Corp.
LINER[Linear Technology]
 
 Related keyword From Full Text Search System
UA777 tdma modulator UA777 bookmark UA777 applications UA777 specifications UA777 Integrate
UA777 system UA777 Engine UA777 taping code UA777 资料 UA777 npn transistor
 

 

Price & Availability of UA777

All Rights Reserved © IC-ON-LINE 2003 - 2022  

[Add Bookmark] [Contact Us] [Link exchange] [Privacy policy]
Mirror Sites :  [www.datasheet.hk]   [www.maxim4u.com]  [www.ic-on-line.cn] [www.ic-on-line.com] [www.ic-on-line.net] [www.alldatasheet.com.cn] [www.gdcy.com]  [www.gdcy.net]


 . . . . .
  We use cookies to deliver the best possible web experience and assist with our advertising efforts. By continuing to use this site, you consent to the use of cookies. For more information on cookies, please take a look at our Privacy Policy. X
0.045078039169312