Part Number Hot Search : 
EM6A9 14014 ON228 DDZX14 RE5VL45C NTE5728 DTB113ZK NJM2886
Product Description
Full Text Search

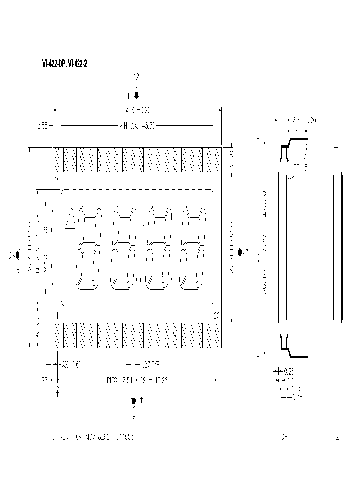
VI-422-DP - VI-422-DP

VI-422-DP_452444.PDF Datasheet


 Full text search : VI-422-DP
 Product Description search : VI-422-DP


 Related Part Number
PART Description Maker
AM26LS32 26LS32 MC26LS32D AM26LS32PC QUAD EIA-422/3 LINE RECEIVER WITH THREE.STATE OUTPUTS
QUADEIA-422/3LINERECEIVERWITHTHREE.STATEOUTPUTS
MOTOROLA[Motorola, Inc]
Motorola Inc
Motorola Inc
Motorola, Inc.
MAX3480A MAX3480ACPI MAX3480AEPI MAX3480BCPI MAX34 From old datasheet system
Complete Isolated 3.3V RS-485/RS-422 Data Interface
Complete, Isolated, 3.3V RS-485/RS-422 Data Interface
Complete / Isolated / 3.3V RS-485/RS-422 Data Interface
Programmable 27-Bit Display Serial Interface Receiver 80-BGA MICROSTAR JUNIOR -40 to 85
MAXIM - Dallas Semiconductor
MAXIM[Maxim Integrated Products]
Maxim Integrated Products, Inc.
MAXIM INTEGRATED PRODUCTS INC
MAX3280 MAX3280E MAX3280EAUK-T MAX3281EAUT-T MAX32 ±15kV ESD-Protected 52Mbps, 3V to 5.5V, SOT23 RS-485/RS-422 True Fail-Safe Receivers
5kV ESD-Protected 52Mbps, 3V to 5.5V, SOT23 RS-485/RS-422 True Fail-Safe Receivers 5kV ESD保护52Mbps的,3V.5V,SOT23封装的RS-485/RS-422真正的失效保护接收器
32-Bit Digital Signal Controller with Flash 100-BGA MICROSTAR -40 to 85
15kV ESD-Protected 52Mbps / 3V to 5.5V / SOT23 RS-485/RS-422 True Fail-Safe Receivers
"?à15kV ESD-Protected 52Mbps, 3V to 5.5V, SOT23 RS-485/RS-422 True Fail-Safe Receivers"
±15kV ESD-Protected 52Mbps, 3V to 5.5V, SOT23 RS-485/RS-422 True Fail-Safe Receivers
【15kV ESD-Protected 52Mbps, 3V to 5.5V, SOT23 RS-485/RS-422 True Fail-Safe Receivers
±15kV ESD-Protected 52Mbps, 3V to 5.5V, SOT23 RS-485/RS-422 True Fail-Safe Receivers
MAXIM - Dallas Semiconductor
Maxim Integrated Products, Inc.
MAXIM[Maxim Integrated Products]
ISL83485 ISL83485IB ISL83485IP ISL83483 ISL83488 I N-CHANNEL SILICON JUNCTION FET SOT23
Quadruple 2-Input Positive-OR Gates 14-SOIC -40 to 85
3.3V, Low Power, High Speed or Slew Rate Limited, RS-485/RS-422 Transceivers LINE TRANSCEIVER, PDSO8
3.3V, Low Power, High Speed or Slew Rate Limited, RS-485/RS-422 Transceivers LINE TRANSCEIVER, PDIP8
3.3V/ Low Power/ High Speed or Slew Rate Limited/ RS-485/RS-422 Transceivers
3.3V Low Power High Speed or Slew Rate Limited RS-485/RS-422 Transceivers
There is no valid match for the device number entered.
Intersil, Corp.
INTERSIL[Intersil Corporation]
ADM3490EARZ ADM3490EARZ-REEL7 ADM3488E ADM3488EARZ 3.3 V, ±15 kV ESD-Protected, RS-485/RS-422 Transceiver (Full Duplex, 12Mbps, DE/RE)
3.3 V, ±15 kV ESD-Protected, RS-485/RS-422 Transceiver (Full Duplex, 12Mbps)
3.3 V, ±15 kV ESD-Protected, RS-485/RS-422 Transceiver (Full Duplex, 250kbps)
3.3 V, ±15 kV ESD-Protected, RS-485/RS-422 Transceiver (Half Duplex, 2.5 Mbps, DE/RE)
3.3 V, ±15 kV ESD-Protected, RS-485/RS-422 Transceiver (Half Duplex, 250kbps, DE/RE)
3.3 V, ±15 kV ESD-Protected, Half- and Full-Duplex, RS-485/RS-422 Transceivers
Analog Devices
MAX3088E MAX3082E MAX3087E MAX3083E MAX3086E MAX30 5kVESD-Protected,Fail-Safe,High-Speed (10Mbps), Slew-Rate-Limited RS-485/RS-422 Transceivers ±15kV ESD保护、失效保护、高10Mbps)、限摆率RS-485/RS-422收发
" ?à15kV ESD-Protected, Fail- Safe, High-Speed (10Mbps), Slew-Rate-Limited RS- 485/RS-422 Transceivers"
±15kVESD-Protected,Fail-Safe,High-Speed (10Mbps), Slew-Rate-Limited RS-485/RS-422 Transceivers
??5kVESD-Protected,Fail-Safe,High-Speed (10Mbps), Slew-Rate-Limited RS-485/RS-422 Transceivers
Maxim Integrated Produc...
Maxim Integrated Products, Inc.
MAXIM INTEGRATED PRODUCTS INC
MAX3061E MAX3060E MAX3062E MAX3060EEKA-T MAX3062EE &#177.15kV ESD-Protected.Fail-Safe.20Mbps.锛?r锛?lew-Rate-Limited RS-485/RS-422 Transceivers in a SOT
15kV ESD-Protected, Fail-Safe, 20Mbps, Slew-Rate-Limited RS-485/RS-422 Transceivers in a SOT LINE TRANSCEIVER, PDSO8
±.15kV ESD-Protected.Fail-Safe.20Mbps.<br>Slew-Rate-Limited RS-485/RS-422 Transceivers in a SOT
"?5kV ESD Protected, 20Mbps, Fail-Safe RS-485/RS- 422 Transceivers"
"?5kV ESD Protected, Slew- Rate Limited, 115kbps, Fail-Safe RS-485/RS- 422 Transceivers"
"?5kV ESD Protected, Slew- Rate Limited, 500kbps, Fail-Safe RS-485/RS- 422 Transceivers"
±15kV ESD-Protected, Fail-Safe, 20Mbps,
Maxim Integrated Products, Inc.
MAXIM[Maxim Integrated Products]
MAXIM - Dallas Semiconductor
ISL81486 ISL81486IB-T ISL81486IBZ ISL81486IU ISL81 5 V, ultra high speed, PROFIBUS, RS-485/RS-422 transceiver.
5V, Ultra High Speed, PROFIBUS, RS-485/RS-422 Transceivers(5V,超高速,PROFIBUS, RS-485/RS-422收发
5V, ultra high speed, PROFIBUS, RS-485/RS/422 transceiver.
INTERSIL[Intersil Corporation]
MAX3160ECAP MAX3160EEAP MAX3161EEAG MAX3162EEAI MA 卤5kV ESD-Protected, 3.0V to 5.5V, 10nA, RS-232/RS-485/RS-422 Multiprotocol Transceivers
5kV ESD-Protected, 3.0V to 5.5V, 10nA, RS-232/RS-485/RS-422 Multiprotocol Transceivers
5V High-Speed RS-232 Transceivers with 0.1uF Capacitors
Octal LVDS Receiver 38-TSSOP -40 to 85
Maxim Integrated Products, Inc.
MAXIM - Dallas Semiconductor
MAXIM INTEGRATED PRODUCTS INC
ISL4491EIB-T ISL4489EIB ISL4489EIB-T ISL4489EIBZ I 15kV ESD Protected, 1/8 Unit Load, 5V, Low Power, High Speed, Full Duplex, RS-485/RS-422 Transceivers
Low Power, High Speed and Slew Rate Limited, Full Duplex, RS-485/RS-422 Transceivers
INTERSIL[Intersil Corporation]
ADM3486EARZ-REEL7 ADM3483EARZ-REEL7 3.3 V, 5 kV ESD-Protected, Half- and Full-Duplex, RS-485/RS-422 Transceivers LINE TRANSCEIVER, PDSO8
3.3 V, 15 kV ESD-Protected, Half- and Full-Duplex, RS-485/RS-422 Transceivers 3.3伏特,15千伏ESD保护,半和全双工,RS-485/RS-422收发
Analog Devices, Inc.
ISL848706 ISL81487IBZ ISL81487IPZ ISL81483IBZ ISL8 1/8 Unit Load, 5V, Low Power, High Speed or Slew Rate Limited, RS-485/RS-422 Transceivers LINE TRANSCEIVER, PDIP8
5V, Half Duplex, 5Mbps, RS-485/RS-422 Transceiver; Temperature Range: -40°C to 85°C; Package: 8-SOIC T&R LINE TRANSCEIVER, PDSO8
5V, Half Duplex, 250kbps Slew Rate Limited, 1/4 Unit Load, RS-485/RS-422 Transceiver; Temperature Range: -40°C to 85°C; Package: 8-SOIC T&R LINE TRANSCEIVER, PDSO8
1/8 Unit Load, 5V, Low Power, High Speed or Slew Rate Limited, RS-485/RS-422 Transceivers(1/8 单位负载5V、小功率、高速或带有限斜率功能的RS-485/RS-422收发
Intersil, Corp.
INTERSIL[Intersil Corporation]
 
 Related keyword From Full Text Search System
VI-422-DP clock VI-422-DP pitch VI-422-DP bridge VI-422-DP Description VI-422-DP level
VI-422-DP usb charger circuit VI-422-DP Converter VI-422-DP analog VI-422-DP motorola VI-422-DP vsen gate
 

 

Price & Availability of VI-422-DP

All Rights Reserved © IC-ON-LINE 2003 - 2022  

[Add Bookmark] [Contact Us] [Link exchange] [Privacy policy]
Mirror Sites :  [www.datasheet.hk]   [www.maxim4u.com]  [www.ic-on-line.cn] [www.ic-on-line.com] [www.ic-on-line.net] [www.alldatasheet.com.cn] [www.gdcy.com]  [www.gdcy.net]


 . . . . .
  We use cookies to deliver the best possible web experience and assist with our advertising efforts. By continuing to use this site, you consent to the use of cookies. For more information on cookies, please take a look at our Privacy Policy. X
0.041363954544067