Part Number Hot Search : 
AN41010A RF120 MAX1834 MC1207 TIP147T 200A10E MC10E197 SK241
Product Description
Full Text Search

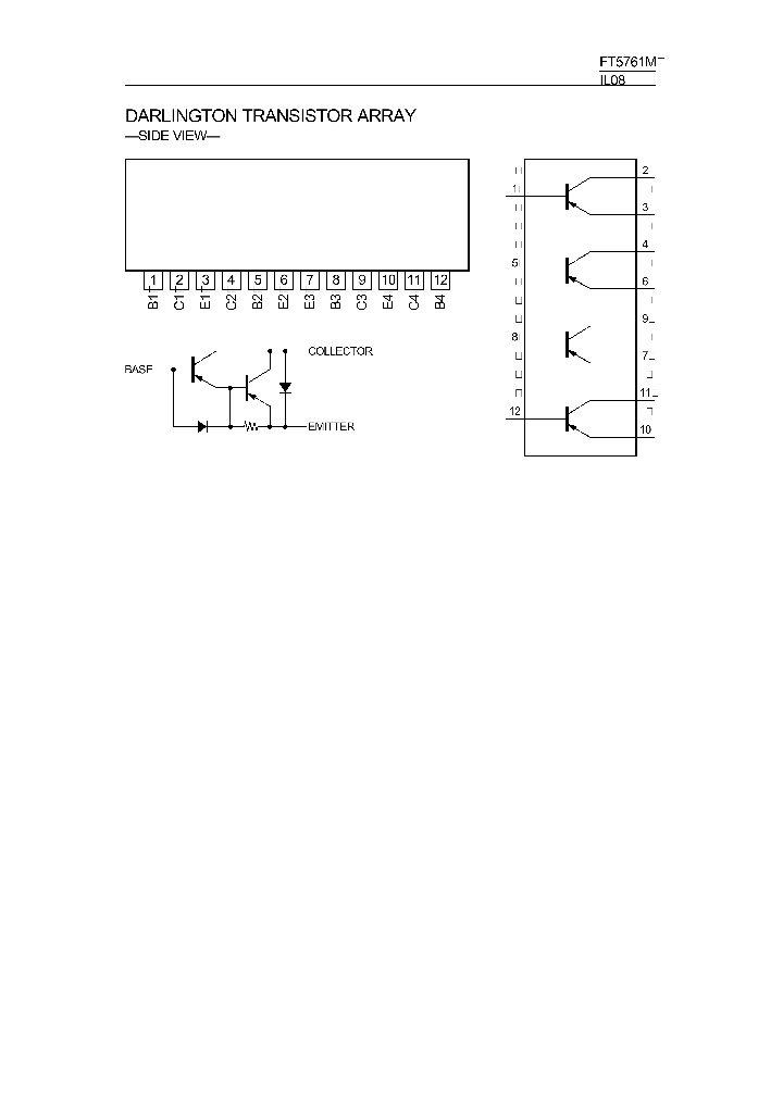
FT5761M - Darlington Transistor Array

FT5761M_425031.PDF Datasheet


 Full text search : Darlington Transistor Array
 Product Description search : Darlington Transistor Array


 Related Part Number
PART Description Maker
M63826FP M63826GP M63826P M63826P/FP/GP Transistor Array
7-UNIT 500mA DARLINGTON TRANSISTOR-ARRAY WITH CLAMP DIODE
Mitsubishi Electric Corporation
Mitsubishi Electric Semiconductor
LB1231 LB1233 LB1232 LB1234 High-Voltage, Large Current Darligton Transistor Array
High-Voltage, High- Current Darlington Transistor Array
PERIPHERAL DRIVER,7 DRIVER,BIPOLAR,DIP,16PIN,PLASTIC
Septuple Peripheral Driver
From old datasheet system
High-Voltage / High- Current Darlington Transistor Array
SANYO[Sanyo Semicon Device]
Sanyo Semiconductor Corp
Sanyo Electric Co.,Ltd.
KID65001 KID65001AFV KID65001APV KID65002AFV KID65    BIPOLAR LINEAR INTEGRATED CIRCUIT (7 CIRCUIT DARLINGTON TRANSISTOR ARRAY)
Darlington TR Array(7-Circuit)
BIPOLAR LINEAR INTEGRATED CIRCUIT (7 CIRCUIT DARLINGTON TRANSISTOR ARRAY) 双极线性集成电路(7电路达林顿晶体管阵列
Korea Electronics (KEC)
KEC[KEC(Korea Electronics)]
KEC Holdings
UPA81C LED, LAMP DRIVER NPN SILICON EPTAXIAL DARLINGTON TRANSISTOR ARRAY
LED / LAMP Driver / NPN Silicon Epitaxial Darlington Transistor Array
NEC[NEC]
NEC Electronics
FT5763M FT5766M SILICON DARLINGTON TRANSISTOR ARRAY
Fujitsu Component Limited.
FUJITSU[Fujitsu Media Devices Limited]
M54566FP M54566P99 7-UNIT 400mA DARLINGTON TRANSISTOR ARRAY
Mitsubishi Electric Semiconductor
M54566WP 7-UNIT 400mA DARLINGTON TRANSISTOR ARRAY
Mitsubishi Electric Semiconductor
M63834FP M63834KP 8-UNIT 500mA DARLINGTON TRANSISTOR-ARRAY
Mitsubishi Electric Semiconductor
LB1710 Low-Active, 7-Unit, Darlington Transistor Array
SANYO[Sanyo Semicon Device]
M63823FP M63823P (M63823xP) 7-UNIT 500mA DARLINGTON TRANSISTOR-ARRAY
Mitsubishi Electric
M63824KP (M63824xP) 7-UNIT 500mA DARLINGTON TRANSISTOR-ARRAY
Mitsubishi Electric
 
 Related keyword From Full Text Search System
FT5761M international FT5761M 中文网站 FT5761M application FT5761M Signal FT5761M transceiver
FT5761M Description FT5761M Test FT5761M Diode FT5761M coilcraft FT5761M 中文
 

 

Price & Availability of FT5761M

All Rights Reserved © IC-ON-LINE 2003 - 2022  

[Add Bookmark] [Contact Us] [Link exchange] [Privacy policy]
Mirror Sites :  [www.datasheet.hk]   [www.maxim4u.com]  [www.ic-on-line.cn] [www.ic-on-line.com] [www.ic-on-line.net] [www.alldatasheet.com.cn] [www.gdcy.com]  [www.gdcy.net]


 . . . . .
  We use cookies to deliver the best possible web experience and assist with our advertising efforts. By continuing to use this site, you consent to the use of cookies. For more information on cookies, please take a look at our Privacy Policy. X
0.072468042373657