Part Number Hot Search : 
HCF4019 L4885CV 46N15 SE2305 N120B HBD195 MAX6402 5L35M
Product Description
Full Text Search

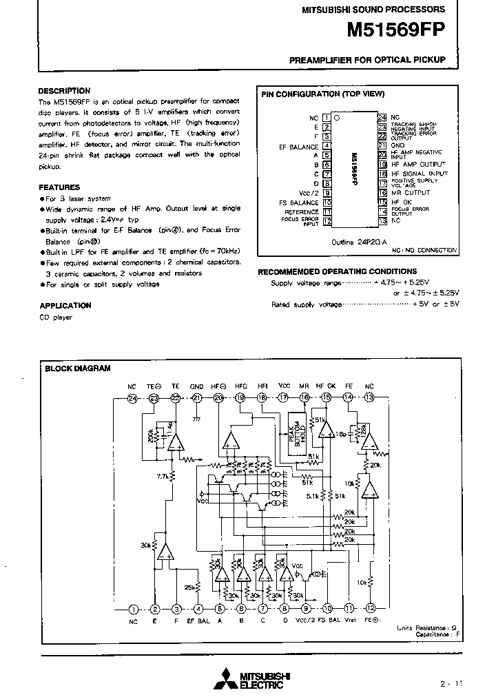
M51569FP - Preamplifier for Optical Pickup

M51569FP_410593.PDF Datasheet


 Full text search : Preamplifier for Optical Pickup
 Product Description search : Preamplifier for Optical Pickup


 Related Part Number
PART Description Maker
MAX3760 MAX3760ESA MAX3760E_D MAX3760E/D 622Mbps Low-Noise Transimpedance Preamplifier for LAN and WAN Optical Receivers
622Mbps / Low-Noise Transimpedance Preamplifier for LAN and WAN Optical Receivers
8-Bit Registered LVDM Transceiver 64-TSSOP -40 to 85 622Mbps、低噪声互阻前置放大器,用于LAN及WAN光接收器
Quad LVDS Transmitter with Flow-Through Pinout 16-SOIC -40 to 85 ATM/SONET/SDH SUPPORT CIRCUIT, PDSO8
622Mbps, Low-Noise Transimpedance Preamplifier for LAN and WAN Optical Receivers ATM/SONET/SDH SUPPORT CIRCUIT, UUC9
MAXIM - Dallas Semiconductor
MAXIM[Maxim Integrated Products]
Maxim Integrated Products, Inc.
M61083FP PREAMPLIFIER WITH PHOTODETECTOR FOR OPTICAL PICKUP
Mitsubishi Electric Corporation
MITSUBISHI[Mitsubishi Electric Semiconductor]
ZL60038 ZL60038TGDE ZL60038TBDE ZL60038TDDE ZL6003 650-nm, 125 Mbps Pin Preamplifier for Plastic Optical Fiber FIBER OPTIC RECEIVER, 125Mbps, THROUGH HOLE MOUNT, TO-46, SC CONNECTOR
650-nm, 125 Mbps Pin Preamplifier for Plastic Optical Fiber FIBER OPTIC RECEIVER, 125Mbps, THROUGH HOLE MOUNT, TO-46, FC CONNECTOR
Zarlink Semiconductor, Inc.
ZARLINK[Zarlink Semiconductor Inc]
TA7658P DUAL PREAMPLIFIER FOR TAPE RECORDER
IC,PREAMPLIFIER, NON-AUDIO,BIPOLAR,DIP,14PIN,PLASTIC
Toshiba Semiconductor
GL504 GL504-PLID AUDIO PREAMPLIFIER, PDSO8
GL504 - Low Current Preamplifier with Output Limiting GL504 -低电流前置放大器,限流输
Gennum Corporation
MAX9810 MAX9810BEBS-T MAX9810BEBST MAX9810CEBS-T M Electret Condenser Microphone Cartridge Preamplifier 1 CHANNEL, AUDIO PREAMPLIFIER, PBGA4
?Electret Condenser Microphone Cartridge Preamplifier
Maxim Integrated Products, Inc.
MAXIM - Dallas Semiconductor
SSM2167 SSM2167-1RM-REEL SSM2167-2RM-REEL ANALOGDE Low Voltage Microphone Preamplifier with Variable Compression and Noise Gating 1 CHANNEL, AUDIO PREAMPLIFIER, PDSO10
PREMIUM RS232 DATA CBL DB25 MALE - DB25 MALE
Analog Devices, Inc.
AD[Analog Devices]
BA3506AF-DXT1 BA3420AL-DX BA3410AF-DXE1 BA5412-DX 0.069 W, 2 CHANNEL, AUDIO AMPLIFIER, PDSO18
2 CHANNEL, AUDIO PREAMPLIFIER, PZIP18
1 CHANNEL, AUDIO PREAMPLIFIER, PDSO16
2 CHANNEL, AUDIO AMPLIFIER, PSIP12
PLL FREQUENCY SYNTHESIZER, 130 MHz, PDSO20
1 CHANNEL, AUDIO PREAMPLIFIER, PSIP7
5 W, 2 CHANNEL, AUDIO AMPLIFIER, PSIP12

DBL2091 Remocon Receiver Preamplifier
REMOCON RECAIVER PREAMPLIFIER
DAEWOO[Daewoo Semiconductor]
MAX4060 MAX4060ETA MAX4060EUA MAX4061ETA MAX4061EU ?Microphone Preamplifier with Shutdown
Dual Microphone Preamplifier Integrated Bias
Differential Microphone Preamplifiers with Internal Bias and Complete Shutdown
Maxim Integrated Products, Inc.
MAXIM[Maxim Integrated Products]
MAXIM - Dallas Semiconductor
OPB991L55Z OPB990T55Z OPTEKTECHNOLOGYINC-OPB991P11 3.11 mm SLOT WIDTH, 1 CHANNEL SLOTTED OPTICAL SWITCH LOGIC OUTPUT ROHS COMPLIANT PACKAGE-5
Photologic? Slotted Optical Switch
Photologic? Slotted Optical Switch OPB960, OPB970, OPB980, OPB990 Series
Choice of logic and output driver circuits
   Photologic? Slotted Optical Switch
List of Unclassifed Manufacturers
OPTEK Technologies
List of Unclassifed Man...
 
 Related keyword From Full Text Search System
M51569FP microcontroller M51569FP positive M51569FP byte M51569FP Bit M51569FP terminals description
M51569FP Corp M51569FP Rail M51569FP uncooled cel M51569FP datasheet M51569FP intersil
 

 

Price & Availability of M51569FP

All Rights Reserved © IC-ON-LINE 2003 - 2022  

[Add Bookmark] [Contact Us] [Link exchange] [Privacy policy]
Mirror Sites :  [www.datasheet.hk]   [www.maxim4u.com]  [www.ic-on-line.cn] [www.ic-on-line.com] [www.ic-on-line.net] [www.alldatasheet.com.cn] [www.gdcy.com]  [www.gdcy.net]


 . . . . .
  We use cookies to deliver the best possible web experience and assist with our advertising efforts. By continuing to use this site, you consent to the use of cookies. For more information on cookies, please take a look at our Privacy Policy. X
0.096358060836792