Part Number Hot Search : 
SUMMA CSMS24 12203 XO43B BY8110 IR3205 SC100 KBP204
Product Description
Full Text Search

SRM-356VF - Light detecting portion of remote control

SRM-356VF_254310.PDF Datasheet


 Full text search : Light detecting portion of remote control
 Product Description search : Light detecting portion of remote control


 Related Part Number
PART Description Maker
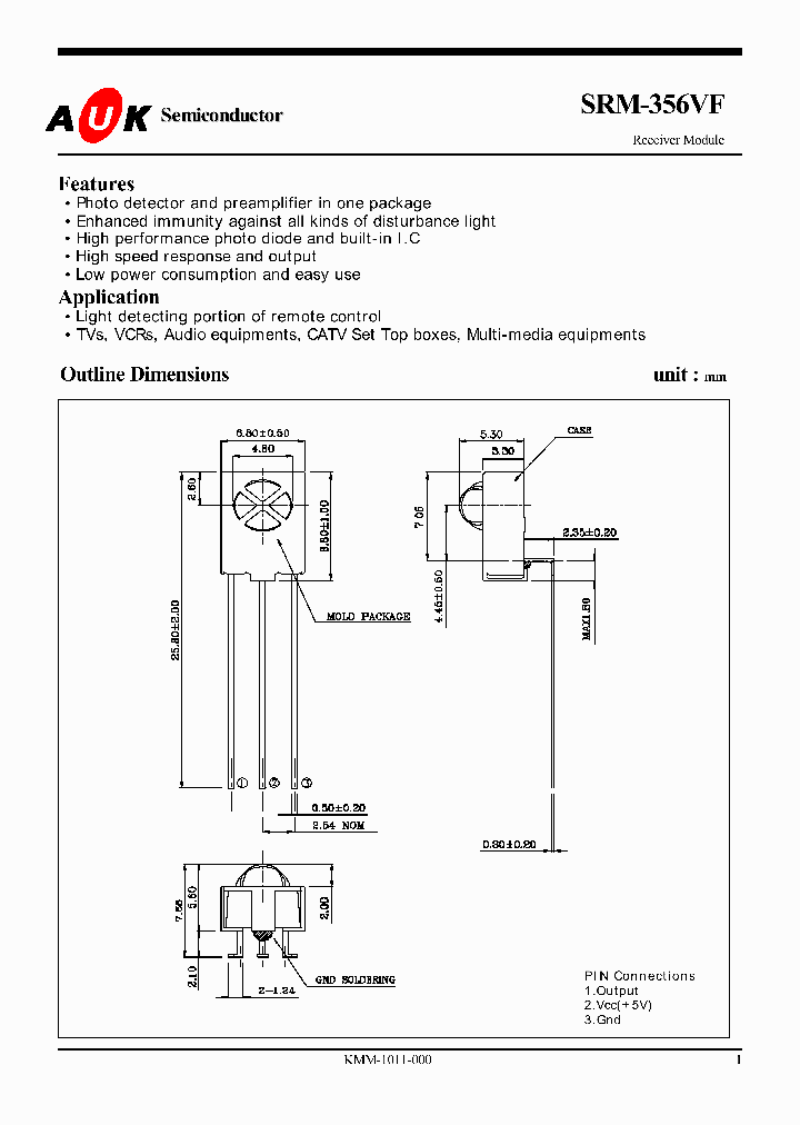
SRM-356VF Light detecting portion of remote control
Stanford Microdevices
WD76C20 FLOPPY DISK CONTROLLER PORTION
List of Unclassifed Manufacturers
Electronic Theatre Controls, Inc.
LNA2603F 0847 LN155 LNA2603FLN155 Opto-Electronic Device - Light Emitting Diodes - Infared Light Emitting Diodes
Infrared Light Emitting Diodes
From old datasheet system
GaAs Infrared Light Emitting Diode
Panasonic Corporation
Matsshita / Panasonic
PANASONIC[Panasonic Semiconductor]
SB85 SILICON SCHOTTKY DETECTING DIODE
Shanghai Sunrise Electronics Co., LTD.
SSE[Shanghai Sunrise Electronics]
AMP1009 AMP2009 (AMPxx09) Motion Detecting Sensor
NAIS
GP1U58X GP1U58X-SERIES GP1U583X IR Detecting Unit For Remote Control
SHARP[Sharp Electrionic Components]
GP1U57X-SERIES GP1U572X GP1U573X For Remote Control IR Detecting Unit
IR detecting unit for remote control
SHARP
RNA51958A RNA51958B Voltage Detecting a System Resetting IC Series
Renesas Technology
M62704SL M62704ML VOLTAGE DETECTING, SYSTEM RESETTING IC SERIES
MITSUBISHI[Mitsubishi Electric Semiconductor]
GP1U260X GP1U261X GP1U262X GP1U271X GP1U28Y GP1U26 Compact IR Detecting Unit for Remote Control
Sharp Corporation
SHARP[Sharp Electrionic Components]
M62705SL M62705ML VOLTAGE DETECTING / SYSTEM RESETTING IC SERIES
VOLTAGE DETECTING, SYSTEM RESETTING IC SERIES
MITSUBISHI[Mitsubishi Electric Semiconductor]
RNA51953BFPH0 RNA51953AFPH0 RNA51953A RNA51953B Voltage Detecting, System Resetting IC Series
Renesas Electronics Corporation
 
 Related keyword From Full Text Search System
SRM-356VF Epitaxial SRM-356VF circuit diagram SRM-356VF Purpose SRM-356VF analog devices SRM-356VF Description
SRM-356VF pnp SRM-356VF rail SRM-356VF Sipat SRM-356VF driver SRM-356VF where to buy
 

 

Price & Availability of SRM-356VF

All Rights Reserved © IC-ON-LINE 2003 - 2022  

[Add Bookmark] [Contact Us] [Link exchange] [Privacy policy]
Mirror Sites :  [www.datasheet.hk]   [www.maxim4u.com]  [www.ic-on-line.cn] [www.ic-on-line.com] [www.ic-on-line.net] [www.alldatasheet.com.cn] [www.gdcy.com]  [www.gdcy.net]


 . . . . .
  We use cookies to deliver the best possible web experience and assist with our advertising efforts. By continuing to use this site, you consent to the use of cookies. For more information on cookies, please take a look at our Privacy Policy. X
0.14874386787415