Part Number Hot Search : 
SN324P LT3971 BU4848 MSM9004 60N03L MMBT390 MAX5104 A3205
Product Description
Full Text Search

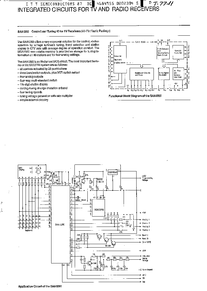
SAA1280NBSP - SAA1280 Integrated Circuits for TV and Radio Receivers From old datasheet system

SAA1280NBSP_249159.PDF Datasheet


 Full text search : SAA1280 Integrated Circuits for TV and Radio Receivers From old datasheet system
 Product Description search : SAA1280 Integrated Circuits for TV and Radio Receivers From old datasheet system


 Related Part Number
PART Description Maker
MC681 MC686 MC684 MC685 MC661 MC688 MC689 MC680 MC Hex Inverter
(MC66x) MHTL Integrated Circuits
Dual J-K F-F
(MC67x) MHTL Integrated Circuits
(MC600 Series) INTEGRATED CIRCUITS
(MC660 Series) MHTL Integrated Circuits
(MC68x) MHTL Integrated Circuits
Quad 3.125 Gbaud SERDES SPECIALTY MICROPROCESSOR CIRCUIT, PBGA324
List of Unclassifed Man...
Freescale (Motorola)
http://
List of Unclassifed Manufacturers
N.A.
Motorola, Inc
ETC[ETC]
Motorola Mobility Holdings, Inc.
AS8218 AS8228 Highly Integrated Single Phase 2 Current Energy Metering Integrated Circuits
austriamicrosystems AG
SN74481 integrated circuits
ETC
IAD170P IAD170PTR IAA170P IAA170PTR Integrated Circuits
Clare Inc
CLARE[Clare, Inc.]
T74LS641 Integrated Circuits
ST Microelectronics
TL595CN TL595IN ULN-2204A ULN-3859A ULN-3718M ULN- LINEAR INTEGRATED CIRCUITS
ETC
List of Unclassifed Manufacturers
http://
TDA2020 TDA2020A92 TDA2020AC2 TDA2020AD2 TDA2020A8 LINEAR INTEGRATED CIRCUITS
STMicroelectronics
ITC137P ITC137PTR ITC137P12 Integrated Telecom Circuits
IXYS Corporation
MC946 MC939 MC837 MC936 MC850 MC1800 MC950 MC1907 INTEGRATED CIRCUITS
Dual J-K F-F
http://
MOTOROLA[Motorola, Inc]
Freescale Semiconductor
NE564 LINEAR INTEGRATED CIRCUITS
ETC
List of Unclassifed Manufacturers
TAA865A TAA865 TAA861 TAA861A Monolithic Integrated Circuits
TFUNK[Vishay Telefunken]
AIVR341N APLUS INTEGRATED CIRCUITS INC.
Aplus Intergrated Circuits
 
 Related keyword From Full Text Search System
SAA1280NBSP voltage SAA1280NBSP national SAA1280NBSP Product SAA1280NBSP adc SAA1280NBSP filetype:pdf
SAA1280NBSP epitaxial SAA1280NBSP Processor SAA1280NBSP microprocessor SAA1280NBSP Vout SAA1280NBSP bit
 

 

Price & Availability of SAA1280NBSP

All Rights Reserved © IC-ON-LINE 2003 - 2022  

[Add Bookmark] [Contact Us] [Link exchange] [Privacy policy]
Mirror Sites :  [www.datasheet.hk]   [www.maxim4u.com]  [www.ic-on-line.cn] [www.ic-on-line.com] [www.ic-on-line.net] [www.alldatasheet.com.cn] [www.gdcy.com]  [www.gdcy.net]


 . . . . .
  We use cookies to deliver the best possible web experience and assist with our advertising efforts. By continuing to use this site, you consent to the use of cookies. For more information on cookies, please take a look at our Privacy Policy. X
0.50062704086304