Part Number Hot Search : 
HT9315 2N699 GMBAV74 X24026Y F65550B TD310ID MPF10 15095450
Product Description
Full Text Search

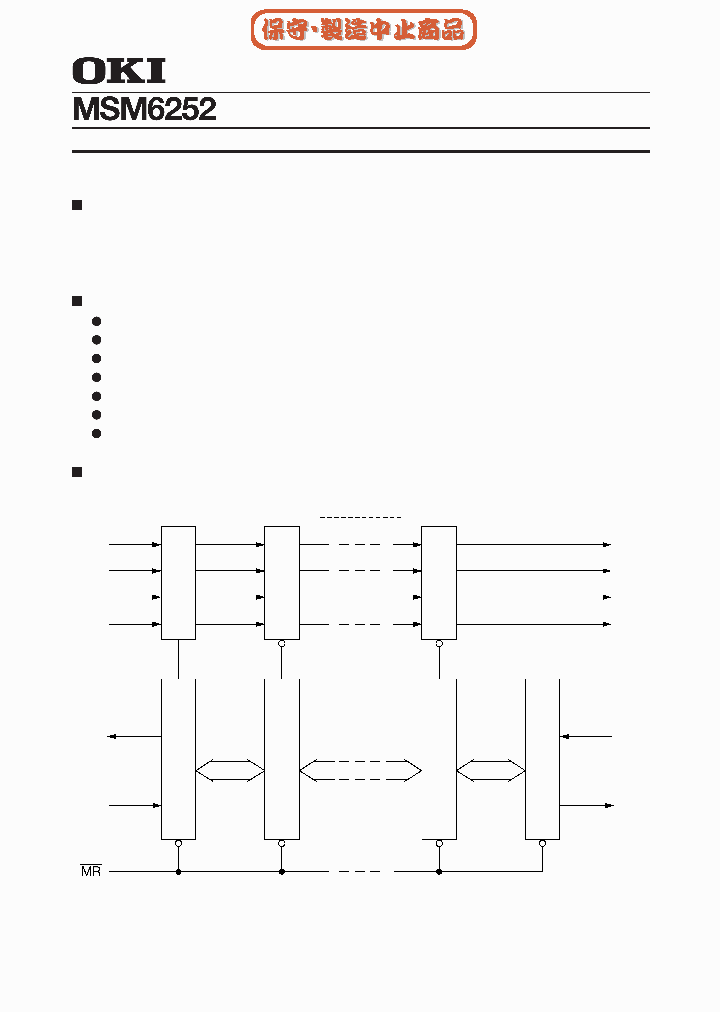
MSM6252 - 64words X Bit FIFO

MSM6252_227132.PDF Datasheet

 
Part No. MSM6252
Description 64words X Bit FIFO

File Size 129.03K  /  11 Page  

Maker


OKI electronic componets



JITONG TECHNOLOGY
(CHINA HK & SZ)
Datasheet.hk's Sponsor

Part: MSM6255
Maker: OKI
Pack: SMD
Stock: Reserved
Unit price for :
    50: $7.38
  100: $7.02
1000: $6.65

Email: oulindz@gmail.com

Contact us

Homepage http://www.oki.com
Download [ ]
[ MSM6252 Datasheet PDF Downlaod from Datasheet.HK ]
[MSM6252 Datasheet PDF Downlaod from Maxim4U.com ] :-)


[ View it Online ]   [ Search more for MSM6252 ]

[ Price & Availability of MSM6252 by FindChips.com ]

 Full text search : 64words X Bit FIFO
 Product Description search : 64words X Bit FIFO


 Related Part Number
PART Description Maker
72T1845L4-4BBG 72T1855L4-4BBGI 72T18115L4-4BBG IDT 2K X 18 OTHER FIFO, 3.4 ns, PBGA144
4K X 18 OTHER FIFO, 3.4 ns, PBGA144
256K X 18 OTHER FIFO, 3.4 ns, PBGA240
2.5 VOLT HIGH-SPEED TeraSync?FIFO 18-BIT/9-BIT CONFIGURATIONS
INTEGRATED DEVICE TECHNOLOGY INC
List of Unclassifed Man...
AMDP-67205V-35 AM3P-67205L-35 AM3P-67205V-35 AMDP- 8K X 9 OTHER FIFO, 35 ns, CDFP28
8K X 9 OTHER FIFO, 35 ns, PDIP28
8K X 9 OTHER FIFO, 25 ns, CQCC32
8K X 9 OTHER FIFO, 25 ns, CDIP28
8K X 9 OTHER FIFO, 25 ns, PQCC32
OSRAM GmbH
IDT72V14320L10BBI IDT72V14320L10BBI8 IDT72V15320L1 3.3V MULTIMEDIA FIFO 16 BIT V-III, 32 BIT Vx-III FAMILY UP TO 1 Mb DENSITY
16K x 16 Multimedia FIFO, 3.3V
8K x 16 Multimedia FIFO, 3.3V
32K x 16 Multimedia FIFO, 3.3V
4K x 32 Multimedia FIFO, 3.3V
32K x 32 Multimedia FIFO, 3.3V
16K x 32 Multimedia FIFO, 3.3V
8K x 32 Multimedia FIFO, 3.3V
1K x 32 Multimedia FIFO, 3.3V
Integrated Device Techn...
IDT
IDT7203L20J IDT7203L20JB IDT7204L20J IDT7204L20JB    CMOS ASYNCHRONOUS FIFO 2048 x 9, 4096 x 9, 8192 x 9 and 16384 x 9
CMOS ASYNCHRONOUS FIFO 2048 x 9 4096 x 9 8192 x 9 and 16384 x 9
RES,SMD,100,1%,0.063W,0603
High-speed double diode - Cd max.: 1.5 pF; Configuration: dual c.c. ; IF max: 215 mA; IFSM max: 4 A; IR max: 500@VR=80V nA; IFRM: 500 mA; trr max: 4 ns; VFmax: 1@IF=50mA mV; VR max: 80 V
Schottky barrier diode - Cd max.: 100@VR=4V pF; Configuration: single ; IF: 1 A; IFSM max: 25 A; IR max: 1@VR=25V mA; VFmax: 450@IF=1A mV; VR: 25 V
CMOS ASYNCHRONOUS FIFO 2048 x 9/ 4096 x 9/ 8192 x 9 and 16384 x 9
Trenchmos (tm) logic level FET - Configuration: Single N-channel ; I<sub>D</sub> DC: 0.34 A; R<sub>DS(on)</sub>: 3900@10V5300@4.5V mOhm; V<sub>DS</sub>max: 60 V 异步FIFO的CMOS 2048 × 9096 × 9192 × 96384 × 9
INSERT, COAX FEMALE STRAIGHTINSERT, COAX FEMALE STRAIGHT; Impedance:50R; Coaxial cable type:RG174AU/RG188AU/RG316AU 16K X 9 OTHER FIFO, 50 ns, CDIP28
CMOS ASYNCHRONOUS FIFO 2048 x 9, 4096 x 9, 8192 x 9 and 16384 x 9 4K X 9 OTHER FIFO, 30 ns, CDIP28
CMOS ASYNCHRONOUS FIFO 2048 x 9, 4096 x 9, 8192 x 9 and 16384 x 9 异步FIFO的CMOS 2048 × 9096 × 9192 × 96384 × 9
CMOS ASYNCHRONOUS FIFO 2048 x 9, 4096 x 9, 8192 x 9 and 16384 x 9 16K X 9 OTHER FIFO, 50 ns, CQCC32
CMOS ASYNCHRONOUS FIFO 2048 x 9, 4096 x 9, 8192 x 9 and 16384 x 9 16K X 9 OTHER FIFO, 50 ns, PDIP28
CMOS ASYNCHRONOUS FIFO 2048 x 9, 4096 x 9, 8192 x 9 and 16384 x 9 16K X 9 OTHER FIFO, 50 ns, CDIP28
CMOS ASYNCHRONOUS FIFO 2048 x 9, 4096 x 9, 8192 x 9 and 16384 x 9 2K X 9 OTHER FIFO, 20 ns, PQCC32
CMOS ASYNCHRONOUS FIFO 2048 x 9, 4096 x 9, 8192 x 9 and 16384 x 9 8K X 9 OTHER FIFO, 50 ns, CDIP28
CMOS ASYNCHRONOUS FIFO 2048 x 9, 4096 x 9, 8192 x 9 and 16384 x 9 4K X 9 OTHER FIFO, 80 ns, CDIP28
CMOS ASYNCHRONOUS FIFO 2048 x 9, 4096 x 9, 8192 x 9 and 16384 x 9 4K X 9 OTHER FIFO, 80 ns, PDIP28
CMOS ASYNCHRONOUS FIFO 2048 x 9, 4096 x 9, 8192 x 9 and 16384 x 9 4K X 9 OTHER FIFO, 25 ns, CQCC32
CMOS ASYNCHRONOUS FIFO 2048 x 9, 4096 x 9, 8192 x 9 and 16384 x 9 8K X 9 OTHER FIFO, 20 ns, CDIP28
CMOS ASYNCHRONOUS FIFO 2048 x 9, 4096 x 9, 8192 x 9 and 16384 x 9 4K X 9 OTHER FIFO, 20 ns, CDIP28
CMOS ASYNCHRONOUS FIFO 2048 x 9, 4096 x 9, 8192 x 9 and 16384 x 9 8K X 9 OTHER FIFO, 50 ns, CQCC32
CMOS ASYNCHRONOUS FIFO 2048 x 9, 4096 x 9, 8192 x 9 and 16384 x 9 2K X 9 OTHER FIFO, 20 ns, CDIP28
CMOS ASYNCHRONOUS FIFO 2048 x 9, 4096 x 9, 8192 x 9 and 16384 x 9 2K X 9 OTHER FIFO, 20 ns, PDIP28
CMOS ASYNCHRONOUS FIFO 2048 x 9, 4096 x 9, 8192 x 9 and 16384 x 9 4K X 9 OTHER FIFO, 65 ns, PDIP28
CMOS ASYNCHRONOUS FIFO 2048 x 9, 4096 x 9, 8192 x 9 and 16384 x 9 4K X 9 OTHER FIFO, 65 ns, CDIP28
CMOS ASYNCHRONOUS FIFO 2048 x 9, 4096 x 9, 8192 x 9 and 16384 x 9 4K X 9 OTHER FIFO, 50 ns, CDIP28
CMOS ASYNCHRONOUS FIFO 2048 x 9, 4096 x 9, 8192 x 9 and 16384 x 9 2K X 9 OTHER FIFO, 50 ns, PQCC32
CMOS ASYNCHRONOUS FIFO 2048 x 9, 4096 x 9, 8192 x 9 and 16384 x 9 4K X 9 OTHER FIFO, 25 ns, PDIP28
CMOS ASYNCHRONOUS FIFO 2048 x 9, 4096 x 9, 8192 x 9 and 16384 x 9 4K X 9 OTHER FIFO, 50 ns, PQCC32
CMOS ASYNCHRONOUS FIFO 2048 x 9, 4096 x 9, 8192 x 9 and 16384 x 9 4K X 9 OTHER FIFO, 65 ns, CQCC32
CMOS ASYNCHRONOUS FIFO 2048 x 9, 4096 x 9, 8192 x 9 and 16384 x 9 2K X 9 OTHER FIFO, 65 ns, CQCC32
CMOS ASYNCHRONOUS FIFO 2048 x 9, 4096 x 9, 8192 x 9 and 16384 x 9 2K X 9 OTHER FIFO, 65 ns, PDIP28
CMOS ASYNCHRONOUS FIFO 2048 x 9, 4096 x 9, 8192 x 9 and 16384 x 9 2K X 9 OTHER FIFO, 80 ns, PDIP28
CMOS ASYNCHRONOUS FIFO 2048 x 9, 4096 x 9, 8192 x 9 and 16384 x 9 2K X 9 OTHER FIFO, 80 ns, CQCC32
CMOS ASYNCHRONOUS FIFO 2048 x 9, 4096 x 9, 8192 x 9 and 16384 x 9 2K X 9 OTHER FIFO, 80 ns, CDIP28
IDT[Integrated Device Technology]
Integrated Device Technology, Inc.
Air Cost Control
INTEGRATED DEVICE TECHNOLOGY INC
Integrated Device Techn...
74HC7404 74HC7404D 74HC7404N 74HCT7404 74HCT7404D Dual 4-Input Positive-NAND Gates 14-TSSOP -40 to 85 5位64字FIFO寄存器,三
5-Bit x 64-word FIFO register 3-state
5-Bit x 64-word FIFO register; 3-state
NXP Semiconductors N.V.
Philips
IDT72811 IDT72821 IDT72801 IDT72841 IDT72851 IDT72 DUAL CMOS SyncFIFO?
512 x 9 DualSync FIFO, 5.0V
8K x9 DualSync FIFO, 5.0V
1K x 9 DualSync FIFO, 5.0V
2K x 9 DualSync FIFO, 5.0V
Integrated Device Techn...
Integrated Device Technolog...
IDT[Integrated Device Technology]
MAX1031BCTI-T MAX1031 MAX1031ACEG-T MAX1031AEEG-T 10-Bit 300ksps ADCs with FIFO, Temp Sensor, Internal Reference 8-CH 10-BIT SUCCESSIVE APPROXIMATION ADC, SERIAL ACCESS, PDSO16
   10-Bit 300ksps ADCs with FIFO, Temp Sensor, Internal Reference
Maxim Integrated Products, Inc.
Maxim Integrated Produc...
M66257FP M66257E M66257 5120 x 8-BIT x 2 LINE MEMORY (FIFO)
From old datasheet system
5120 8-BIT 2 LINE MEMORY (FIFO)
MITSUBISHI[Mitsubishi Electric Semiconductor]
CY7C420-25PC CY7C420-40PC CY7C420-65PC CY7C421 CY7 256/512/1K/2K/4K x 9 Asynchronous FIFO 2K X 9 OTHER FIFO, 40 ns, PDIP28
256/512/1K/2K/4K x 9 Asynchronous FIFO 4K X 9 OTHER FIFO, 40 ns, PQCC32
256/512/1K/2K/4K x 9 Asynchronous FIFO 256 X 9 OTHER FIFO, 40 ns, PQFP32
256/512/1K/2K/4K x 9 Asynchronous FIFO 2K X 9 OTHER FIFO, 40 ns, PQFP32
256/512/1K/2K/4K x 9 Asynchronous FIFO 2K X 9 OTHER FIFO, 20 ns, CDIP28
Cypress Semiconductor, Corp.
Cypress Semiconductor Corp.
74HCT40105PW 74HCT40105N 74HC40105N 74HC40105DB 74 4-bit x 16-word FIFO register
8-Bit Parallel-Load Shift Registers 16-SO -40 to 85
NXP Semiconductors
IDT72T18105 IDT72T18105L10BB IDT72T18105L10BBI IDT 2.5 VOLT HIGH-SPEED TeraSync FIFO 18-BIT/9-BIT CONFIGURATIONS
IDT[Integrated Device Technology]
 
 Related keyword From Full Text Search System
MSM6252 marking code MSM6252 rail MSM6252 Circuit MSM6252 Application MSM6252 ic中文资料网
MSM6252 MSM6252 step-down converter MSM6252 Gain MSM6252 Manufacturer MSM6252 suply voltase IC
 

 

Price & Availability of MSM6252

All Rights Reserved © IC-ON-LINE 2003 - 2022  

[Add Bookmark] [Contact Us] [Link exchange] [Privacy policy]
Mirror Sites :  [www.datasheet.hk]   [www.maxim4u.com]  [www.ic-on-line.cn] [www.ic-on-line.com] [www.ic-on-line.net] [www.alldatasheet.com.cn] [www.gdcy.com]  [www.gdcy.net]


 . . . . .
  We use cookies to deliver the best possible web experience and assist with our advertising efforts. By continuing to use this site, you consent to the use of cookies. For more information on cookies, please take a look at our Privacy Policy. X
0.048110961914062