Part Number Hot Search : 
P36NF0 ADP2118 GM71C 3CTQ4 S30D45D PF08127B 0B25TRP AN1266
Product Description
Full Text Search

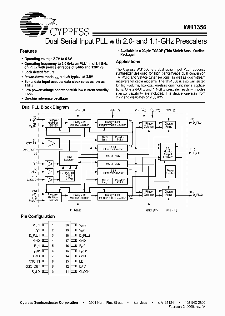
WB1356 - Dual Serial Input PLL with 2.0- and 1.1-GHz Prescalers From old datasheet system

WB1356_219519.PDF Datasheet


 Full text search : Dual Serial Input PLL with 2.0- and 1.1-GHz Prescalers From old datasheet system
 Product Description search : Dual Serial Input PLL with 2.0- and 1.1-GHz Prescalers From old datasheet system


 Related Part Number
PART Description Maker
MB15F72UV Dual Serial Input PLL Frequency Synthesizer
FUJITSU[Fujitsu Media Devices Limited]
MB15F02 MB15F02PFV MB15F02PV Dual Serial Input PLL Frequency Synthesizer
Fujitsu Microelectronics
FUJITSU[Fujitsu Media Devices Limited]
MB15F07SL MB15F07SLPFV1 MB15F07SLPV1 Dual Serial Input PLL Frequency Synthesizer
Fujitsu Microelectronics
FUJITSU[Fujitsu Media Devices Limited]
MB15F74ULPVA Dual Serial Input PLL Frequency Synthesizer
Fujitsu Component Limited.
CYW2338 Dual Serial Input PLL with 2.5- and 1.1-GHz Prescalers
Cypress Semiconductor
MB15F78ULPVA Dual Serial Input PLL Frequency Synthesizer
Fujitsu Component Limited.
MB15F05L MB15F05LPFV MB15F05LPV Dual Serial Input PLL Frequency Synthesizer
Fujitsu Component Limited.
MB15F73ULPVA MB15F73UL01 MB15F73ULPFT Dual Serial Input PLL Frequency Synthesizer
Fujitsu Component Limited.
MB15F78UL Dual Serial Input PLL Frequency Synthesizer
Fujitsu Microelectronics
MB15F05L MB15F05LPFV MB15F05LPV Dual Serial Input PLL Frequency Synthesizer
FUJITSU[Fujitsu Media Devices Limited]
 
 Related keyword From Full Text Search System
WB1356 中文网站 WB1356 stock WB1356 Collector WB1356 components WB1356 table
WB1356 filetype:pdf WB1356 stmicroelectronics WB1356 laser diode WB1356 usb charger circuit WB1356 Specification of
 

 

Price & Availability of WB1356

All Rights Reserved © IC-ON-LINE 2003 - 2022  

[Add Bookmark] [Contact Us] [Link exchange] [Privacy policy]
Mirror Sites :  [www.datasheet.hk]   [www.maxim4u.com]  [www.ic-on-line.cn] [www.ic-on-line.com] [www.ic-on-line.net] [www.alldatasheet.com.cn] [www.gdcy.com]  [www.gdcy.net]


 . . . . .
  We use cookies to deliver the best possible web experience and assist with our advertising efforts. By continuing to use this site, you consent to the use of cookies. For more information on cookies, please take a look at our Privacy Policy. X
0.067185163497925