Part Number Hot Search : 
5537R4FK DM8098 2SK856 SMCJ110 IN7472N 68HC7 KDV1430 AM79C978
Product Description
Full Text Search

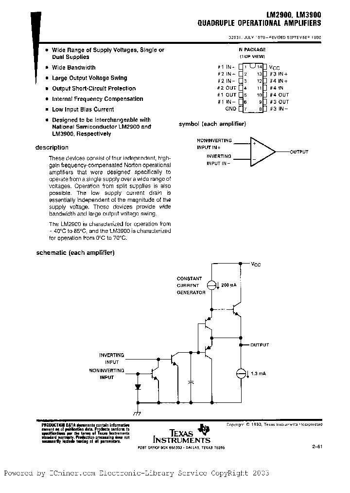
LM3900D - Voltage-FeedbackOperationalAmplifier

LM3900D_203570.PDF Datasheet

 
Part No. LM3900D LM3900DR
Description Voltage-FeedbackOperationalAmplifier

File Size 226.03K  /  7 Page  

Maker

N/A



JITONG TECHNOLOGY
(CHINA HK & SZ)
Datasheet.hk's Sponsor

Part: LM3900D
Maker:
Pack: SOP
Stock: Reserved
Unit price for :
    50: $1.48
  100: $1.40
1000: $1.33

Email: oulindz@gmail.com

Contact us

Homepage
Download [ ]
[ LM3900D LM3900DR Datasheet PDF Downlaod from Datasheet.HK ]
[LM3900D LM3900DR Datasheet PDF Downlaod from Maxim4U.com ] :-)


[ View it Online ]   [ Search more for LM3900D ]

[ Price & Availability of LM3900D by FindChips.com ]

 Full text search : Voltage-FeedbackOperationalAmplifier
 Product Description search : Voltage-FeedbackOperationalAmplifier


 Related Part Number
PART Description Maker
TC514101AJ-60 TC514101AP TC514101AP-60 TC514101ASJ Voltage Regulator IC; Package/Case:3-TO-220; Supply Voltage:-35V; Output Current:1A; Output Voltage:-15V; Voltage Regulator Type:Negative Voltage; Mounting Type:Through Hole
4,194,304 WORD x 1 BIT DYNAMIC RAM
Toshiba Corporation
TOSHIBA[Toshiba Semiconductor]
ATV06B141J-G ATV06B141JB-G ATV06B510J-G ATV06B510J Transient Voltage Suppressor (TVS), P<sub>PPM</sub>=600Watts, V<sub>RWM</sub>=140V, Tolerance=5%
Transient Voltage Suppressor (TVS), P-PPM=600Watts, V-RWM=51V, Tolerance=5%
Transient Voltage Suppressor (TVS), P-PPM=600Watts, V-RWM=58V, Tolerance=5%
Transient Voltage Suppressor (TVS), P-PPM=600Watts, V-RWM=54V, Tolerance=5%
Transient Voltage Suppressor (TVS), P-PPM=600Watts, V-RWM=5V, Tolerance=5%
Transient Voltage Suppressor (TVS), P-PPM=600Watts, V-RWM=78V, Tolerance=5%
Transient Voltage Suppressor (TVS), P-PPM=600Watts, V-RWM=45V, Tolerance=5%
Transient Voltage Suppressor (TVS), P-PPM=600Watts, V-RWM=85V, Tolerance=5%
Transient Voltage Suppressor (TVS), P-PPM=600Watts, V-RWM=10V, Tolerance=5%
Transient Voltage Suppressor (TVS), P-PPM=600Watts, V-RWM=100V, Tolerance=5%
Transient Voltage Suppressor (TVS), P-PPM=600Watts, V-RWM=11V, Tolerance=5%
Transient Voltage Suppressor (TVS), P-PPM=600Watts, V-RWM=110V, Tolerance=5%
Transient Voltage Suppressor (TVS), P-PPM=600Watts, V-RWM=12V, Tolerance=5%
Transient Voltage Suppressor (TVS), P-PPM=600Watts, V-RWM=43V, Tolerance=5%
Transient Voltage Suppressor (TVS), P-PPM=600Watts, V-RWM=70V, Tolerance=5%
Transient Voltage Suppressor (TVS), P-PPM=600Watts, V-RWM=75V, Tolerance=5%
Transient Voltage Suppressor (TVS), P-PPM=600Watts, V-RWM=7V, Tolerance=5%
Transient Voltage Suppressor (TVS), P-PPM=600Watts, V-RWM=7.5V, Tolerance=5%
Transient Voltage Suppressor (TVS), P-PPM=600Watts, V-RWM=440V, Tolerance=5%
Transient Voltage Suppressor (TVS), P-PPM=600Watts, V-RWM=6V, Tolerance=5%
Transient Voltage Suppressor (TVS), P-PPM=600Watts, V-RWM=6.5V, Tolerance=5%
Transient Voltage Suppressor (TVS), P-PPM=600Watts, V-RWM=350V, Tolerance=5%
Transient Voltage Suppressor (TVS), P-PPM=600Watts, V-RWM=300V, Tolerance=5%
Transient Voltage Suppressor (TVS), P-PPM=600Watts, V-RWM=30V, Tolerance=5%
Transient Voltage Suppressor (TVS), P-PPM=600Watts, V-RWM=36V, Tolerance=5%
Transient Voltage Suppressor (TVS), P-PPM=600Watts, V-RWM=19V, Tolerance=5%
Transient Voltage Suppressor (TVS), P-PPM=600Watts, V-RWM=60V, Tolerance=5%
Transient Voltage Suppressor (TVS), P-PPM=600Watts, V-RWM=8.5V, Tolerance=5%
Transient Voltage Suppressor (TVS), P-PPM=600Watts, V-RWM=8V, Tolerance=5%
Transient Voltage Suppressor (TVS), P-PPM=600Watts, V-RWM=9V, Tolerance=5%
Transient Voltage Suppressor (TVS), P-PPM=600Watts, V-RWM=400V, Tolerance=5%
Comchip Technology
1N5333B 1N5346BTA 1N5364BTA 1N5358BTA 1N5335BTA 1N    5 Watt Surmetic 40 Zener Voltage Refulators
Zener 18V 5W 5%
Zener 14V 5W 5%
Zener 200V 5W 5%
Zener 180V 5W 5%
Zener 170V 5W 5%
Zener 140V 5W 5%
Zener 91V 5W 5%
Zener 87V 5W 5%
Zener 100V 5W 5%
5 Watt Surmetic 40 Zener Voltage Refulators 82 V, 5 W, SILICON, UNIDIRECTIONAL VOLTAGE REGULATOR DIODE, DO-41
5 Watt Surmetic 40 Zener Voltage Refulators 3.9 V, 5 W, SILICON, UNIDIRECTIONAL VOLTAGE REGULATOR DIODE, DO-41
5 Watt Surmetic 40 Zener Voltage Refulators 4.7 V, 5 W, SILICON, UNIDIRECTIONAL VOLTAGE REGULATOR DIODE, DO-41
5 Watt Surmetic 40 Zener Voltage Refulators 6.2 V, 5 W, SILICON, UNIDIRECTIONAL VOLTAGE REGULATOR DIODE, DO-41
5 Watt Surmetic 40 Zener Voltage Refulators 11 V, 5 W, SILICON, UNIDIRECTIONAL VOLTAGE REGULATOR DIODE, DO-41
5 Watt Surmetic 40 Zener Voltage Refulators 56 V, 5 W, SILICON, UNIDIRECTIONAL VOLTAGE REGULATOR DIODE, DO-41
5 Watt Surmetic 40 Zener Voltage Refulators 3.3 V, 5 W, SILICON, UNIDIRECTIONAL VOLTAGE REGULATOR DIODE, DO-41
5 Watt Surmetic 40 Zener Voltage Refulators 14 V, 5 W, SILICON, UNIDIRECTIONAL VOLTAGE REGULATOR DIODE, DO-41
5 Watt Surmetic 40 Zener Voltage Refulators 60 V, 5 W, SILICON, UNIDIRECTIONAL VOLTAGE REGULATOR DIODE, DO-41
5 Watt Surmetic 40 Zener Voltage Refulators 17 V, 5 W, SILICON, UNIDIRECTIONAL VOLTAGE REGULATOR DIODE, DO-41
5 Watt Surmetic 40 Zener Voltage Refulators 3.6 V, 5 W, SILICON, UNIDIRECTIONAL VOLTAGE REGULATOR DIODE, DO-41
Zener Voltage Regulator Diode
Zener 25V 5W 5%
Zener 5.1V 5W 5%
Zener 120V 5W 5%
Zener 5.6V 5W 5%
5 Watt Surmetic™ 40 Zener Voltage Regulators
Zener 9.1V 5W 5%
Zener 6.2V 5W 5%
Zener 8.2V 5W 5%
5 Watt Surmetic 40 Silicon Zener Diodes
5 Watt Surmetic™ 40 Silicon Zener Diodes
Zener 6.0V 5W 5%
Zener 6.8V 5W 5%
Zener 20V 5W 5%
Zener 22V 5W 5%
Zener 24V 5W 5%
Zener 43V 5W 5%
Zener 12V 5W 5%
Zener 130V 5W 5%
Zener 28V 5W 5%
Zener 16V 5W 5%
Zener 47V 5W 5%
Zener 51V 5W 5%
Zener 36V 5W 5%
Zener 56V 5W 5%
Zener 33V 5W 5%
Zener 13V 5W 5%
Zener 10V 5W 5%
Zener 62V 5W 5%
Zener 30V 5W 5%
Zener 150V 5W 5%
Zener 68V 5W 5%
Zener 39V 5W 5%
Zener 82V 5W 5%
Zener 110V 5W 5%
Zener 160V 5W 5%
Zener 75V 5W 5%
Zener 19V 5W 5%
Zener 11V 5W 5%
Zener 15V 5W 5%
ONSEMI[ON Semiconductor]
Microsemi
HC55120CB HC55130IB Voltage Regulator IC; Output Current:2A; Output Voltage:5V; Package/Case:3-TO3P; Output Voltage Max:5.1V; Output Voltage Min:4.9V
IC-VLTG REG 6V TO220 ISO
Intersil Corporation
IP140MA IP78M00A IP140M IP78M00 IP78M12H-883B IP14 THREE-TERMINAL POSITIVE FIXED VOLTAGE REGULATORS
0.5 AMP Positive Voltage Regulator(0.5 A ,12V稳压
0.5 AMP Positive Voltage Regulator(0.5 A ,5V稳压
CGrid VT SMT Rcpt w/peg 30 SAu 42Ckt
Voltage Regulator 5 V FIXED POSITIVE REGULATOR, MBCY3
Voltage Regulator 电压调节
0.5 AMP Positive Voltage Regulator(0.5 A ,15V稳压 0.5安培正电压稳压器.5甲,15V的稳压器
Voltage Regulator 12 V FIXED POSITIVE REGULATOR, MBCY3
SEME-LAB[Seme LAB]
Semelab(Magnatec)
TT electronics Semelab Limited
TT electronics Semelab, Ltd.
HI-SINCERITY MICROELECTRONICS, CORP.
SEMELAB LTD
FXLA104UMX12 FXLA104UM12X12 FXLA10412 Low-Voltage Dual-Supply 4-Bit Voltage Translator with Configurable Voltage Supplies and Signal Levels, 3-State Outputs, and Auto Direction Sensing
Fairchild Semiconductor
SZ5A2.41 SZ5A8.2SMTX SZ5A8.2TX SZ5A6.2SMSTX SZ5B6. 2.4 ?200 VOLTS ZENER DIODES
8.2 V, 0.8 W, SILICON, UNIDIRECTIONAL VOLTAGE REGULATOR DIODE HERMETIC SEALED, GLASS, SM, 2 PIN
8.2 V, 0.5 W, SILICON, UNIDIRECTIONAL VOLTAGE REGULATOR DIODE HERMETIC SEALED, GLASS PACKAGE-2
6.2 V, 0.8 W, SILICON, UNIDIRECTIONAL VOLTAGE REGULATOR DIODE HERMETIC SEALED, GLASS, SMS, 2 PIN
6.2 V, 0.8 W, SILICON, UNIDIRECTIONAL VOLTAGE REGULATOR DIODE HERMETIC SEALED, GLASS, SM, 2 PIN
6.2 V, 0.5 W, SILICON, UNIDIRECTIONAL VOLTAGE REGULATOR DIODE HERMETIC SEALED, GLASS PACKAGE-2
130 V, 0.8 W, SILICON, UNIDIRECTIONAL VOLTAGE REGULATOR DIODE
68 V, 0.8 W, SILICON, UNIDIRECTIONAL VOLTAGE REGULATOR DIODE
160 V, 0.8 W, SILICON, UNIDIRECTIONAL VOLTAGE REGULATOR DIODE
22 V, 0.8 W, SILICON, UNIDIRECTIONAL VOLTAGE REGULATOR DIODE
56 V, 0.5 W, SILICON, UNIDIRECTIONAL VOLTAGE REGULATOR DIODE
27 V, 0.8 W, SILICON, UNIDIRECTIONAL VOLTAGE REGULATOR DIODE
7.5 V, 0.8 W, SILICON, UNIDIRECTIONAL VOLTAGE REGULATOR DIODE
190 V, 0.8 W, SILICON, UNIDIRECTIONAL VOLTAGE REGULATOR DIODE
110 V, 0.8 W, SILICON, UNIDIRECTIONAL VOLTAGE REGULATOR DIODE
120 V, 0.5 W, SILICON, UNIDIRECTIONAL VOLTAGE REGULATOR DIODE
150 V, 0.8 W, SILICON, UNIDIRECTIONAL VOLTAGE REGULATOR DIODE
24 V, 0.8 W, SILICON, UNIDIRECTIONAL VOLTAGE REGULATOR DIODE
2.7 V, 0.5 W, SILICON, UNIDIRECTIONAL VOLTAGE REGULATOR DIODE
5.6 V, 0.8 W, SILICON, UNIDIRECTIONAL VOLTAGE REGULATOR DIODE
5.1 V, 0.8 W, SILICON, UNIDIRECTIONAL VOLTAGE REGULATOR DIODE
47 V, 0.8 W, SILICON, UNIDIRECTIONAL VOLTAGE REGULATOR DIODE
33 V, 0.8 W, SILICON, UNIDIRECTIONAL VOLTAGE REGULATOR DIODE
28 V, 0.8 W, SILICON, UNIDIRECTIONAL VOLTAGE REGULATOR DIODE
24 V, 0.5 W, SILICON, UNIDIRECTIONAL VOLTAGE REGULATOR DIODE
36 V, 0.8 W, SILICON, UNIDIRECTIONAL VOLTAGE REGULATOR DIODE
2.5 V, 0.8 W, SILICON, UNIDIRECTIONAL VOLTAGE REGULATOR DIODE
43 V, 0.8 W, SILICON, UNIDIRECTIONAL VOLTAGE REGULATOR DIODE
25 V, 0.8 W, SILICON, UNIDIRECTIONAL VOLTAGE REGULATOR DIODE
Solid States Devices, Inc
Solid State Devices, Inc.
SOLID STATE DEVICES INC
AMS1117 AMS1117-15 AMS1117-18 AMS1117-25 AMS1117-3 5.0V 800mA low dropout voltage regulator
3.3V 800mA low dropout voltage regulator
2.85V 800mA low dropout voltage regulator
2.5V 800mA low dropout voltage regulator
1.8V 800mA low dropout voltage regulator
1.5V 800mA low dropout voltage regulator
800mA LOW DROPOUT VOLTAGE REGULATOR 800mA的低压差稳压
BZ Series Standard Basic Switch, Single Pole Double Throw Circuitry, 15 A at 250 Vac, Overtravel Plunger Actuator, 2,5 N - 3,61 N [9 oz - 13 oz] Operating Force, Silver Contacts, Screw Termination, CE, CSA, DEMKO,
Advanced Monolithic Systems, Inc.
ADMOS[Advanced Monolithic Systems]
http://
VR42050 POSITIVE VOLTAGE REGULATORS
CONVERTER, DC/DC, 1O/P, 15W, 12V; Power rating:15W; DC/DC Converter O/P type:Single; Voltage, input max:75V dc; Voltage, input min:18V dc; Voltage
List of Unclassifed Manufacturers
ETC[ETC]
Electronic Theatre Controls, Inc.
SG120 SG120A-8T_883B SG120-12IG SG120-12IG_883B SG Negative Fixed Linear Voltage Regulators
BOX 4.94X2.75X1.275 AA W/CLP ALMOND
NEGATIVE FIXED VOLTAGE REGULATOR 8 V FIXED NEGATIVE REGULATOR, MBFM2
NEGATIVE FIXED VOLTAGE REGULATOR 负固定电压调节器
NEGATIVE FIXED VOLTAGE REGULATOR 18 V FIXED NEGATIVE REGULATOR, MBFM2
NEGATIVE FIXED VOLTAGE REGULATOR 15 V FIXED NEGATIVE REGULATOR, CQCC20
NEGATIVE FIXED VOLTAGE REGULATOR 12 V FIXED NEGATIVE REGULATOR, MBCY3
NEGATIVE FIXED VOLTAGE REGULATOR 15 V FIXED NEGATIVE REGULATOR, MBCY3
NEGATIVE FIXED VOLTAGE REGULATOR 12 V FIXED NEGATIVE REGULATOR, CQCC20
NEGATIVE FIXED VOLTAGE REGULATOR 20 V FIXED NEGATIVE REGULATOR, MBFM2
NEGATIVE FIXED VOLTAGE REGULATOR 15 V FIXED NEGATIVE REGULATOR, MSFM3
NEGATIVE FIXED VOLTAGE REGULATOR 18 V FIXED NEGATIVE REGULATOR, MSFM3
HIGH SURGE CARBON COMP REPLACEMENT RESISTOR , 1K, 5% 负固定电压调节器
NEGATIVE FIXED VOLTAGE REGULATOR 12 V FIXED NEGATIVE REGULATOR, MSFM3
NEGATIVE FIXED VOLTAGE REGULATOR 5.2 V FIXED NEGATIVE REGULATOR, MBFM2
NEGATIVE FIXED VOLTAGE REGULATOR 5.2 V FIXED NEGATIVE REGULATOR, MBCY3
NEGATIVE FIXED VOLTAGE REGULATOR 18 V FIXED NEGATIVE REGULATOR, CQCC20
NEGATIVE FIXED VOLTAGE REGULATOR 18 V FIXED NEGATIVE REGULATOR, MBCY3
MICROSEMI CORP-ANALOG MIXED SIGNAL GROUP
MICROSEMI[Microsemi Corporation]
Microsemi, Corp.
HC49 HD74HC490 Voltage Regulator IC; Output Current:1A; Output Voltage:9V; Package/Case:3-TO-220; Voltage Regulator Type:Positive Voltage; Mounting Type:Through
Dual 4-bit Decade Counters
Hitachi,Ltd.
HITACHI[Hitachi Semiconductor]
P6KE200C P6KE9.1 P6KE9.1C P6KE47C P6KE51C P6KE30 P    600W TRANSIENT VOLTAGE SUPPRESSORS
Reverse stand-off voltage: 128.00V, 600W transient voltage suppressor
Reverse stand-off voltage: 138.00V, 600W transient voltage suppressor
Low Power 5V RS232 Dual Driver/Receiver with 0.1?μF Capacitors; Package: SO; No of Pins: 16; Temperature Range: -40?°C to 85?°C 电可擦除可编程逻辑器件
600W TRANSIENT VOLTAGE SUPPRESSORS 600W瞬态电压抑制器
Single Output LDO, 200mA, Fixed(2.5V), Low Quiescent Current, Low Noise, High PSRR 5-SOT -40 to 85
2.5-V 460-Kbps RS-232 Transceiver With /-15-kV ESD Protection 20-TSSOP -40 to 85
GLASS PASSIVATED JUNCTION TRANSIENT VOLTAGE SUPPRESSOR(VOLTAGE - 6.8 TO 440 Volts 600Watt Peak Power 5.0 Watt Steady State)
Reverse stand-off voltage: 171.00V, 600W transient voltage suppressor
Won-Top Electronics Co., Ltd.
WTE[Won-Top Electronics]
Panjit International Inc
Microsemi
 
 Related keyword From Full Text Search System
LM3900D Processor LM3900D operation LM3900D 查ic资料 LM3900D filtran xfmr LM3900D panasonic
LM3900D Emitter LM3900D analog LM3900D integrated circuit LM3900D 查询 LM3900D step
 

 

Price & Availability of LM3900D

All Rights Reserved © IC-ON-LINE 2003 - 2022  

[Add Bookmark] [Contact Us] [Link exchange] [Privacy policy]
Mirror Sites :  [www.datasheet.hk]   [www.maxim4u.com]  [www.ic-on-line.cn] [www.ic-on-line.com] [www.ic-on-line.net] [www.alldatasheet.com.cn] [www.gdcy.com]  [www.gdcy.net]


 . . . . .
  We use cookies to deliver the best possible web experience and assist with our advertising efforts. By continuing to use this site, you consent to the use of cookies. For more information on cookies, please take a look at our Privacy Policy. X
0.089478015899658