Part Number Hot Search : 
P6KA20 RD100 3DG13007 74LCX373 34120 MAX13330 MMBT4 1025247
Product Description
Full Text Search

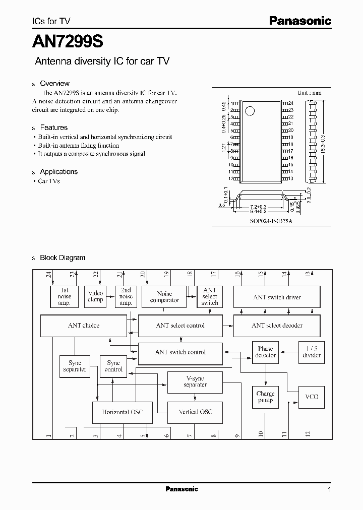
AN7299S - Antenna diversity IC for car TV

AN7299S_182035.PDF Datasheet

 
Part No. AN7299S
Description Antenna diversity IC for car TV

File Size 41.68K  /  4 Page  

Maker


PANASONIC[Panasonic Semiconductor]



JITONG TECHNOLOGY
(CHINA HK & SZ)
Datasheet.hk's Sponsor

Part: AN7299S
Maker: PANASONI
Pack: SOP24
Stock: 418
Unit price for :
    50: $2.57
  100: $2.44
1000: $2.32

Email: oulindz@gmail.com

Contact us

Homepage http://www.panasonic.co.jp/semicon/e-index.html
Download [ ]
[ AN7299S Datasheet PDF Downlaod from Datasheet.HK ]
[AN7299S Datasheet PDF Downlaod from Maxim4U.com ] :-)


[ View it Online ]   [ Search more for AN7299S ]

[ Price & Availability of AN7299S by FindChips.com ]

 Full text search : Antenna diversity IC for car TV
 Product Description search : Antenna diversity IC for car TV


 Related Part Number
PART Description Maker
TEA6101 TEA6101T Antenna diversity circuit
NXP Semiconductors
PHILIPS[Philips Semiconductors]
MAX2830 MAX2830ETMT 2.4GHz to 2.5GHz 802.11g/b RF Transceiver, PA, and Rx/Tx/Antenna Diversity Switch
Maxim Integrated Products
TEA6843HL/V1 TEA6843HL; New In Car Entertainment (NICE) extended car radio
Philips
TEA6849 TEA6849H TEA6849H/V1 TEA6849H; New In Car Entertainment car radio tuner IC with Precision Adjacent Channel Suppression (NICE-PACS)
Philips
TEA6824 TEA6824T In Car Entertainment ICE car radio
PHILIPS[Philips Semiconductors]
TEA6845 TEA6845AH TEA6845H New In Car Entertainment NICE car radio
PHILIPS[Philips Semiconductors]
TEA6820T TEA6822T In Car Entertainment ICE car radio
NXP Semiconductors
TEA6820T TEA6822T In Car Entertainment ICE car radio
PHILIPS[Philips Semiconductors]
TEA6845 TEA6845H TEA6845AH New In Car Entertainment NICE car radio
NXP Semiconductors
TEA6824 TEA6824T In Car Entertainment ICE car radio
NXP Semiconductors
PSI-GSM GSM UMTS antenna, with omnidirectional characteristic, 2 m antenna cable with SMA round connector
PHOENIX CONTACT
 
 Related keyword From Full Text Search System
AN7299S specs AN7299S Download AN7299S module AN7299S technology AN7299S suply voltase IC
AN7299S Integrate AN7299S voltage vgs AN7299S Microcontroller AN7299S phase AN7299S programmable
 

 

Price & Availability of AN7299S

All Rights Reserved © IC-ON-LINE 2003 - 2022  

[Add Bookmark] [Contact Us] [Link exchange] [Privacy policy]
Mirror Sites :  [www.datasheet.hk]   [www.maxim4u.com]  [www.ic-on-line.cn] [www.ic-on-line.com] [www.ic-on-line.net] [www.alldatasheet.com.cn] [www.gdcy.com]  [www.gdcy.net]


 . . . . .
  We use cookies to deliver the best possible web experience and assist with our advertising efforts. By continuing to use this site, you consent to the use of cookies. For more information on cookies, please take a look at our Privacy Policy. X
0.07259202003479