Part Number Hot Search : 
28F01 SB151M YD2822A C10E1 MX909A TC220C S1NB40 KT729
Product Description
Full Text Search

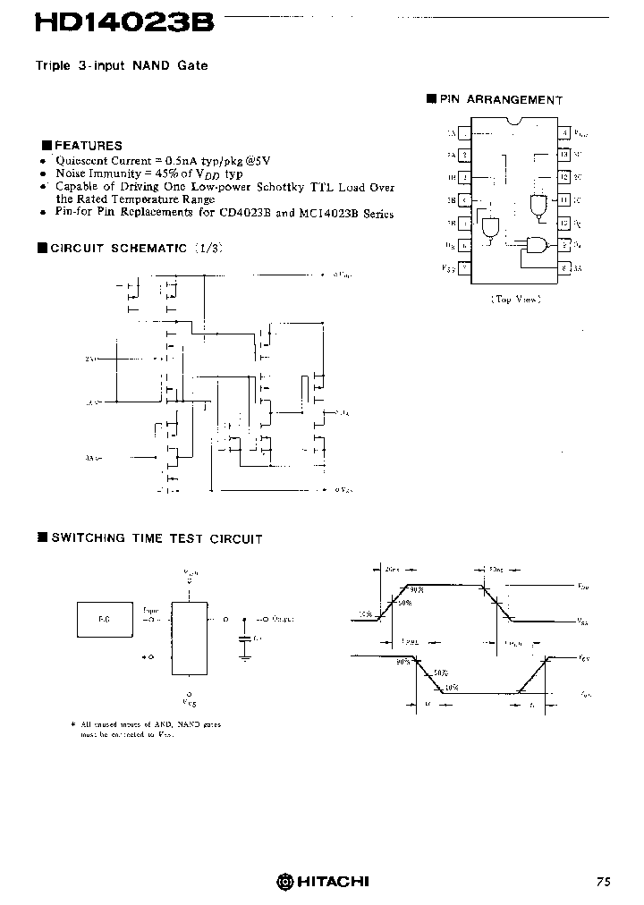
HD14023B - Triple 3-input NAND Gate

HD14023B_157518.PDF Datasheet


 Full text search : Triple 3-input NAND Gate
 Product Description search : Triple 3-input NAND Gate


 Related Part Number
PART Description Maker
CD4023 CD4023BC CD4023BCM CD4023BCN CD4023BCS CD40 Triple 3-input NAND Gate 4000/14000/40000 SERIES, TRIPLE 3-INPUT NAND GATE, PDSO14
Buffered Triple 3-Input NAND Gate
Fairchild Semiconductor, Corp.
FAIRCHILD[Fairchild Semiconductor]
DM54H20J DM54H20J_883 DM54H20J_883B DM54H20J_883C Single 8-input NAND Gate 8输入与非
Dual 4-input NAND Gate 4输入与非
CERAMIC CHIP/MIL-PRF-55681 陶瓷芯片/mil-prf-55681
Quad 2-input NAND Gate 输入与非
Dual 4-input NAND Gate 输入与非
Triple 3-input NAND Gate
Dual4-inputNANDGate
Cypress Semiconductor, Corp.
Rochester Electronics, LLC
TE Connectivity, Ltd.

74F10 74F11 N74F11N N74F10D N74F10N N74F11D 74F10_ Triple 3-input NAND gate; Triple 3-input AND gate F/FAST SERIES, TRIPLE 3-INPUT NAND GATE, PDSO14
From old datasheet system
NXP Semiconductors N.V.
PHILIPS[Philips Semiconductors]
HCS10MS HCS05D HCS05DMSR HCS05HMSR HCS05K HCS05KMS NAND-Gate, 3-Input, Triple, Rad-Hard, High-Speed, CMOS, Logic
Radiation Hardened Triple 3-Input NAND Gate
INTERSIL[Intersil Corporation]
DM54LS10J/883C DM54LS10J-MIL DM54LS10W-MIL DM54LS1 Triple 3-input NAND Gate 输入与非
Triple 3-input NAND Gate 3输入与非
NEC, Corp.
Delta Electronics, Inc.
Rochester Electronics, LLC
Alliance Semiconductor, Corp.
HCTS20MS HCTS20D_SAMPLE HCTS20DMSR HCTS20HMSR HCTS NAND-Gate, 4-Input, TTL Inputs, Dual, Rad-Hard, High-Speed, CMOS, Logic
Switch Boot; For Use With:Toggle Switches
Radiation Hardened Dual 4-Input NAND Gate HCT SERIES, DUAL 4-INPUT NAND GATE, CDFP14
INTERSIL[Intersil Corporation]
Intersil, Corp.
74LVC00ABQ 74LVC00AD Quad 2-input NAND gate 输入与非
Quad 2-input NAND gate LVC/LCX/Z SERIES, QUAD 2-INPUT NAND GATE, PQCC14
74LVC00A; Quad 2-input NAND gate
NXP Semiconductors N.V.
Philips
74LCX27SJ 74LCX27 74LCX27MTC 74LCX27M 74LCX27MTCX Triple 3-input NOR Gate LVC/LCX/Z SERIES, TRIPLE 3-INPUT NOR GATE, PDSO14
From old datasheet system
Low Voltage Triple 3-Input NOR Gate with 5V Tolerant Inputs
Fairchild Semiconductor, Corp.
FAIRCHILD[Fairchild Semiconductor]
5432DM 5439DM 5430FM 5425DM 5475DM 5422DM 54163/BE Dual/Triple Ultra-Low-Voltage SOT23 µP Supervisory Circuits
Quad 2-input NAND Gate
Dual 4-input NOR Gate
4-Bit D-Type Latch
Dual 4-input NAND Gate
Dual/Triple Ultra-Low-Voltage SOT23 µP Supervisory Circuits 8声道,数字复接器
Rectron Semiconductor
HEF4023B HEF4023BD HEF4023BF HEF4023BN HEF4023BP H Triple 3-input NAND gate
NXP Semiconductors
PHILIPS[Philips Semiconductors]
 
 Related keyword From Full Text Search System
HD14023B Micropower HD14023B filetype:pdf HD14023B level HD14023B phase HD14023B package
HD14023B pressure sensor HD14023B battery charger circuit HD14023B interface HD14023B lead HD14023B Reset
 

 

Price & Availability of HD14023B

All Rights Reserved © IC-ON-LINE 2003 - 2022  

[Add Bookmark] [Contact Us] [Link exchange] [Privacy policy]
Mirror Sites :  [www.datasheet.hk]   [www.maxim4u.com]  [www.ic-on-line.cn] [www.ic-on-line.com] [www.ic-on-line.net] [www.alldatasheet.com.cn] [www.gdcy.com]  [www.gdcy.net]


 . . . . .
  We use cookies to deliver the best possible web experience and assist with our advertising efforts. By continuing to use this site, you consent to the use of cookies. For more information on cookies, please take a look at our Privacy Policy. X
0.041244029998779