Part Number Hot Search : 
8XS18D2 VP0120 BT00434 PC3500G MM5Z8V2 SK29V LR3410 ST70136
Product Description
Full Text Search

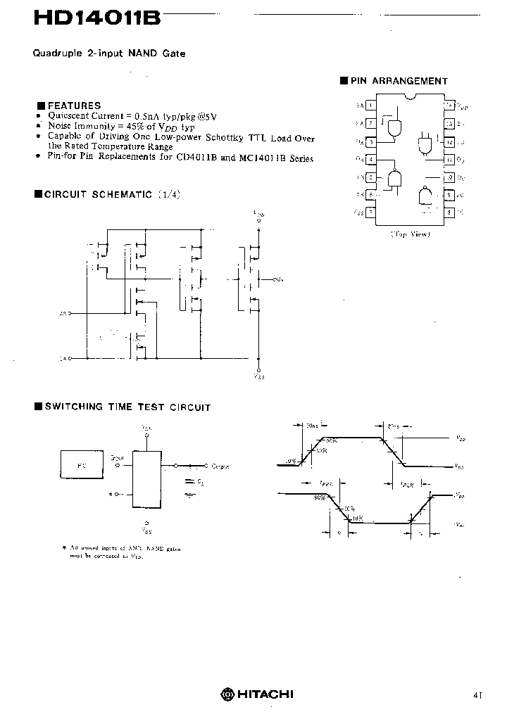
HD14011B - Quadruple 2-input NAND Gate

HD14011B_143135.PDF Datasheet

 
Part No. HD14011B
Description Quadruple 2-input NAND Gate

File Size 60.28K  /  6 Page  

Maker


Hitachi Semiconductor



JITONG TECHNOLOGY
(CHINA HK & SZ)
Datasheet.hk's Sponsor

Part: HD14011BFPEL
Maker: HITACHI
Pack: SOP14
Stock: 804
Unit price for :
    50: $0.17
  100: $0.16
1000: $0.15

Email: oulindz@gmail.com

Contact us

Homepage http://www.renesas.com/eng/
Download [ ]
[ HD14011B Datasheet PDF Downlaod from Datasheet.HK ]
[HD14011B Datasheet PDF Downlaod from Maxim4U.com ] :-)


[ View it Online ]   [ Search more for HD14011B ]

[ Price & Availability of HD14011B by FindChips.com ]

 Full text search : Quadruple 2-input NAND Gate
 Product Description search : Quadruple 2-input NAND Gate


 Related Part Number
PART Description Maker
HD74LS00P HD74LS00 HD74LS00FPEL HD74LS00RPEL LS SERIES, QUAD 2-INPUT NAND GATE, PDIP14
Quadruple 2-Input NAND Gates
Renesas Electronics Corporation
M38510/30009B2A M38510/30009BAA M38510/30009BAB M3 Single 8-input NAND Gate
Dual 4-input NAND Gate
Quad 2-input NAND Gate
Triple 3-input NAND Gate 3输入与非
Triple 3-input NAND Gate 输入与非
ITT, Corp.
Linear Technology, Corp.
Bel Fuse, Inc.
AS7C3256AA AS7C3256A AS7C3256A-20TIN AS7C3256A-10J Quadruple D-Type Flip-Flops With Clear 16-TSSOP -40 to 85
Dual 4-Input Positive-NAND Gate 14-TSSOP -40 to 85 32K X 8 STANDARD SRAM, 20 ns, PDSO28
IC,AS7C3256A-10TCN,TSOP-28 ASY SRAM,10NS,32K X 8,3.3V 32K X 8 STANDARD SRAM, 10 ns, PDSO28
3.3V 32K X 8 CMOS SRAM (Common I/O) 32K X 8 STANDARD SRAM, 10 ns, PDSO28
Dual 4-Input Positive-NAND Gate 14-SOIC -40 to 85 32K X 8 STANDARD SRAM, 12 ns, PDSO28
Dual 4-Input Positive-NAND Gate 14-TVSOP -40 to 85
Dual 4-Input Positive-NAND Gate 14-SSOP -40 to 85
SRAM - 3.3V Fast Asynchronous
ALLIANCE MEMORY INC
Alliance Memory, Inc.
Alliance Semiconductor, Corp.
ALSC[Alliance Semiconductor Corporation]
HEC4023BT HEC4023BT112 Triple 3-input NAND gate; Package: SOT108-1 (SO14); Container: Tube 4000/14000/40000 SERIES, TRIPLE 3-INPUT NAND GATE, PDSO14
HEF4023B; Triple 3-input NAND gate
NXP Semiconductors N.V.
Philips
U74HCT00-S14-T U74HCT00-S14-R QUADRUPLE 2-INPUT NAND GATE
Unisonic Technologies
PO54G00A PO54G00AFU PO54G00ALU PO74G00A PO74G00ASU QUADRUPLE 2-INPUT POSITIVE-NAND GATE
Potato Semiconductor Corporation
U74AHCT00 QUADRUPLE 2-INPUT POSITIVE-NAND GATE
Unisonic Technologies
M74HC30B1R M74HC30 M74HC30RM13TR M74HC30TTR M74HC3 8 INPUT NAND GATE
8-INPUT NAND GATE
12-Bit, 2.5 us Dual DAC, Serial Input, Pgrmable Settling Time, Q temp available 8-SOIC
ST Microelectronics
STMICROELECTRONICS[STMicroelectronics]
意法半导
IDT74ALVC08 IDT74ALVC08PY IDT74ALVC08DC IDT74ALVC0 3.3V CMOS QUADRUPLE 2-INPUT POSITIVE-AND GATE ALVC/VCX/A SERIES, QUAD 2-INPUT AND GATE, PDSO14
3.3V CMOS QUADRUPLE 2-INPUT POSITIVE-AND GATE 3.3V的CMOS输入阳性与
Integrated Device Techn...
Integrated Device Technology, Inc.
IDT[Integrated Device Technology]
74AUP1G38GF132 Low-power 2-input NAND gate (open drain); Package: SOT891 (XSON6); Container: Tape reel smd AUP/ULP/V SERIES, 2-INPUT NAND GATE, PDSO6
NXP Semiconductors N.V.
KIC7S00FU 2 Input NAND Gate
SILICON MONOLITHIC CMOS DIGITAL INTEGRATED CIRCUIT(2-INPUT NAND GATE)
Korea Electronics (KEC)
KEC[KEC(Korea Electronics)]
74LVC1G10GN Single 3-input NAND gate LVC/LCX/Z SERIES, 3-INPUT NAND GATE, PDSO6
NXP Semiconductors N.V.
 
 Related keyword From Full Text Search System
HD14011B Drain HD14011B ic资料网 HD14011B phase HD14011B analog devices HD14011B laser diode
HD14011B 技术参数 HD14011B quad op amp HD14011B Driver HD14011B image sensor HD14011B ram
 

 

Price & Availability of HD14011B

All Rights Reserved © IC-ON-LINE 2003 - 2022  

[Add Bookmark] [Contact Us] [Link exchange] [Privacy policy]
Mirror Sites :  [www.datasheet.hk]   [www.maxim4u.com]  [www.ic-on-line.cn] [www.ic-on-line.com] [www.ic-on-line.net] [www.alldatasheet.com.cn] [www.gdcy.com]  [www.gdcy.net]


 . . . . .
  We use cookies to deliver the best possible web experience and assist with our advertising efforts. By continuing to use this site, you consent to the use of cookies. For more information on cookies, please take a look at our Privacy Policy. X
0.44184684753418