Part Number Hot Search : 
NTE2996 ICX415AQ CY14B1 C100L K9NBG08 SC1548 WP793YD C1001
Product Description
Full Text Search

MT8963AE - Integrated PCM Filter Codec

MT8963AE_9571.PDF Datasheet

 
Part No. MT8963AE MT8965 MT8966 MT8962AS1 MT8960AE1 MT8963AE1 MT8963AS1 MT8963ASR
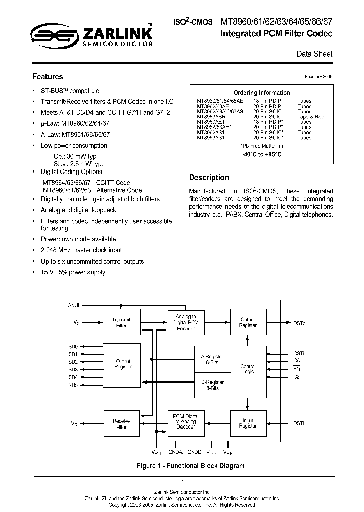
Description Integrated PCM Filter Codec

File Size 595.67K  /  32 Page  

Maker


Zarlink Semiconductor Inc



JITONG TECHNOLOGY
(CHINA HK & SZ)
Datasheet.hk's Sponsor

Part: MT8963AE
Maker: MITSUBISHI
Pack: DIP20
Stock: 152
Unit price for :
    50: $4.98
  100: $4.74
1000: $4.49

Email: oulindz@gmail.com

Contact us

Homepage http://www.zarlink.com/
Download [ ]
[ MT8963AE MT8965 MT8966 MT8962AS1 MT8960AE1 MT8963AE1 MT8963AS1 MT8963ASR Datasheet PDF Downlaod from Datasheet.HK ]
[MT8963AE MT8965 MT8966 MT8962AS1 MT8960AE1 MT8963AE1 MT8963AS1 MT8963ASR Datasheet PDF Downlaod from Maxim4U.com ] :-)


[ View it Online ]   [ Search more for MT8963AE ]

[ Price & Availability of MT8963AE by FindChips.com ]

 Full text search : Integrated PCM Filter Codec
 Product Description search : Integrated PCM Filter Codec


 Related Part Number
PART Description Maker
PEF3065NV3.2 PEB3065 PEB3065NV3.2 Signal Processing Subscriber Line Interface Codec Filter SLICOF
A/MU-LAW, PCM CODEC, PQCC44
SIEMENS AG
INFINEON TECHNOLOGIES AG
MC145484 5V PCM Codec/Filter
ON Semi
IL145567 IL145567N PCM CODEC - FILTER
Integral Corp.
MC145554DW ML145554 ML145554-5P ML145554EP ML14555 PCM Codec-Filter
http://
LANSDALE Semiconductor Inc.
MC145481 MC145481 3V PCM Codec-Filter
Motorola
MC14.LC5480 5V PCM Codec-Filter(5V PCM编码滤波
Motorola, Inc.
MC145502P MC145503P MC145502FN PCM Codec-Filter Mono-Circuit
LANSDALE Semiconductor Inc.
MC145505DW ML145502 ML145502-4P ML145502WP ML14550 PCM Codec-Filter Mono-Circuit
LANSDALE Semiconductor Inc.
MC145506 MC145508 MC145507 PCM CODEC FILTER MONO CIRCUIT
MOTOROLA[Motorola, Inc]
MOTOROLA[Motorola Inc]
MC145502FN MC145502L MC145502P MC145503DW MC145503 PCM Codec-Filter Mono-Circuit
PCM CODEC-FILTER MONO- CIRCUIT
MOTOROLA[Motorola, Inc]
M5913 M5913B1 COMBINED SINGLE CHIP PCM CODEC AND FILTER
意法半导
STMicroelectronics
 
 Related keyword From Full Text Search System
MT8963AE standard MT8963AE band MT8963AE 参数 封装 MT8963AE found MT8963AE vdd
MT8963AE lcd MT8963AE cost MT8963AE electronics MT8963AE module MT8963AE Terminal
 

 

Price & Availability of MT8963AE

All Rights Reserved © IC-ON-LINE 2003 - 2022  

[Add Bookmark] [Contact Us] [Link exchange] [Privacy policy]
Mirror Sites :  [www.datasheet.hk]   [www.maxim4u.com]  [www.ic-on-line.cn] [www.ic-on-line.com] [www.ic-on-line.net] [www.alldatasheet.com.cn] [www.gdcy.com]  [www.gdcy.net]


 . . . . .
  We use cookies to deliver the best possible web experience and assist with our advertising efforts. By continuing to use this site, you consent to the use of cookies. For more information on cookies, please take a look at our Privacy Policy. X
0.33589696884155